Blomberg IWD 1004 XT: (C)
(C): Blomberg IWD 1004 XT

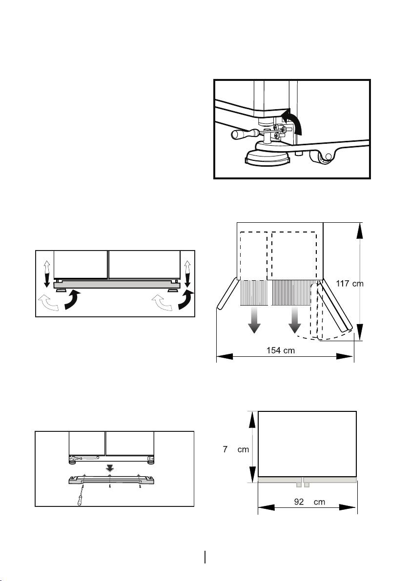
U kunt uw koelkast waterpas stellen
(Zie Afbeelding C)
door aan de stelvoetjes te draaien zoals
• Wanneer de deur van het
getoond in de afbeelding. (Zie Afbeelding
diepvriesgedeelte lager is dan de deur
A) De hoek van het stelvoetje wordt
verlaagd wanneer u in de richting van de
zwarte pijl draait en verhoogd wanneer
u in de tegenovergestelde richting
draait. Wanneer iemand u hierbij helpt
2
door de koelkast lichtjes op te tillen
vereenvoudigt dit het proces.
Hoogteafstelling van de deur
Wanneer er een probleem is met de
uitlijning van de deuren ten opzichte
van elkaar, kunnen deze op lijn worden
(C)
gebracht door ze verticaal af te stellen.
Neem hierbij onderstaande volgorde
in acht. Bij het afstellen van de
deurhoogte, dient u ervoor te zorgen dat
de deurschappen leeg zijn.
(A)
1. Verwijder de onderste ventilatiekap
door de schroeven los te draaien. Zie de
afbeelding hieronder. (Zie Afbeelding B)
2. Draai de drie schroeven van het
scharnier van de onderste deur die u
omhoog wilt laten komen, los. Doe dit
met een schroevendraaier zoals getoond
in de afbeelding hieronder. (Niet volledig
verwijderen)
2
4
1 2 3
(B)
11
FL

van het koelgedeelte: breng deze op
Nadat de deuren op hetzelfde niveau zijn
hetzelfde niveau door de stelschroef aan
gebracht door de voorzijde af te stellen
de zijkant van het diepvriesgedeelte met
met de stelschroeven, zullen de deuren
een M6 inbussleutel in de richting van de
van de koelkast goed sluiten. Wanneer
pijl te draaien. Zie afbeelding D.
de deuren niet goed sluiten heeft dit een
• Wanneer de deur van het
negatief effect op de efficiëntie van de
diepvriesgedeelte hoger is dan de deur
koelkast.
van het koelgedeelte: breng deze op
hetzelfde niveau door de stelschroef aan
de zijkant van het diepvriesgedeelte met
een M6 inbussleutel in de richting van de
pijl te draaien. Zie afbeelding D.
(D)
12
FL

Aanpassen van de opening
tussen de bovenste deur
C Pas de deur naar wens aan door de
schroeven los te draaien.
C
U kunt de opening tussen de deuren
van de koelkastvakken aanpassen als
getoond in de afbeeldingen.
Bij het afstellen van de deurhoogte,
moeten de deurschappen leeg zijn.
Middenschroef
C Bevestig de deur die u hebt
aangepast door de schroeven vast te
draaien zonder de positie van de deur te
wijzigen.
C Verwijder met een schroevendraaier
de schroeven van het bovenste
scharnierdeksel van de deur die u wilt
aanpassen.
C Plaats het scharnierdeksel terug en
bevestig dit met de schroef.
13
FL

Waterfilter plaatsen
(alleen bepaalde modellen)
Installatievereisten
Twee verschillende waterbronnen
mogen op de koelkast worden
aangesloten voor watertoevoer: De
hoofdkoudwatertoevoer en water in een
kan.
Voor gebruik van water in een kan moet
een pomp worden gebruikt.
3. 5 meter lange waterleiding (1/4 inch in
diameter)
4. Koudwaterhoofdklep met gaasfilter
(kraanadapter)
5. Waterfilter moet in de beugel in het
koelgedeelte worden geplaatst.
Controleer of de onderstaande delen
4
met uw apparaat zijn meegeleverd.
2
1. Koppeling voor aansluiting van de
waterleiding op de achterzijde van het
apparaat.
2. Slangklemmen, 3 stuks (ingeval deze
3
vereist zijn om de waterleiding vast te
zetten)
1
C Opmerking: Omdat de volgende
delen niet vereist zijn bij gebruik van een
kan, bevinden deze zich mogelijk niet op
het product dat u hebt aangekocht.
14
FL

a
a
b
c
15
FL
2
1
Aansluiting van de
waterleiding op de koelkast
1. Na montage van de moer op de
waterleiding, drukt u de waterslang in
Wateraansluiting op de koelkast
de inlaatklep van de koelkast door deze
Volg de onderstaande instructies.
stevig naar onder te drukken.
2. Bevestig de moer zoals getoond in
de afbeelding hiernaast door met de
hand op de inlaatklep van de koelkast te
duwen.
(a- Waterleiding, b-Moer, c-Klep)
C Opmerking 1: U hoeft de moer niet
met gereedschap aan te draaien om
een waterdichte montage te verkrijgen.
In geval van lekkage gebruikt u een
moersleutel of een tang om de moer vast
te draaien.
Om de waterfilter te plaatsen, volgt u de
onderstaande instructies en raadpleegt u
de meegeleverde afbeeldingen:

1. Druk op de knop Ice Cancel (IJs
3. Verwijder het bypassfilterdeksel
annuleren) op het display. (Afbeelding 1)
door het naar beneden te draaien.
(Afbeelding 3-4)
A Waarschuwing: Controleer of de
modus "Ice Off" (IJs uit) actief is voordat
u het bypassdeksel verwijdert.
Opmerking: Het is normaal wanneer
er wat water druppelt nadat het deksel
werd verwijderd.
4. Verwijder het deksel aan de bovenkant
van de waterfilter en installeer het
zoals getoond in de afbeelding. Draai
het deksel naar boven om het te
vergrendelen. (Afbeelding 5)
5. Druk opnieuw op de knop Ice Cancel
2. Verwijder het filterdeksel in het
op het display om deze modus te
koelgedeelte door het naar voren te
verlaten.
trekken. (Afbeelding 2)
De waterfilter moet iedere 6 maanden
worden vervangen. Als de waterfilter
wordt vervangen of als deze niet
langer wordt gebruikt, moet deze
worden verwijderd zoals getoond in de
afbeelding en moet het bypassdeksel
worden bevestigd. U moet ervoor zorgen
dat de Ice Off-modus (IJs uit) actief is
alvorens de filter te verwijderen.
3
4
5
2
1
16
FL

2. Plaats de pomp in de kan en maak
A Waarschuwing: De waterfilter zuivert
deze vast zoals weergegeven in de
het water van bepaalde vreemde deeltjes
figuur.
in het water. Deze zuivert het water niet
van micro-organismen.
3. Nadat u de aansluiting hebt voltooid,
steekt u de stekker in het stopcontact
A Waarschuwing: De knop Ice Off moet
en start u de pomp.
altijd worden ingedrukt wanneer u de
waterfilter vervangt of het bypassdeksel
Om te zorgen voor een efficiënte werking
installeert.
van de pomp, wacht u 2-3 minuten
nadat u de pomp hebt gestart.
C Opmerking: U kunt de
gebruikershandleiding van de pomp
raadplegen terwijl u de aansluiting op het
water uitvoert.
1a
Aansluiting van de
waterslang op de kan
(alleen bepaalde modellen)
1b
Om water uit een kan aan te sluiten op
de koelkast is een pomp nodig. Volg de
onderstaande instructies nadat u één
uiteinde van de waterleiding afkomstig
uit de pomp op de koelkast hebt
aangesloten zoals beschreven op de
vorige pagina.
1. Voltooi de aansluiting door het andere
uiteinde van de waterleiding in de
waterleidinginlaat van de pomp te
duwen zoals weergegeven in de
2
afbeelding.
17
FL

verbindingsstukken opnieuw aan met
behulp van een moersleutel of tang.
Aansluiting van de
waterleiding op de
hoofdkoudwaterleiding
A Waarschuwing: Zorg ervoor dat de
standaard 1/2" klepfitting gevoed door
(alleen bepaalde modellen)
de hoofdkoudwatertoevoer beschikbaar
is en volledig is uitgeschakeld.
Als u uw koelkast wilt gebruiken
Opmerking -1: U hoeft geen waterfilter
door deze aan te sluiten op de
te gebruiken bij gebruik van een kan.
koudwaterhoofdleiding,
Opmerking -2: Bij gebruik van een kan
u moet een standaard 1/2"
moet een pomp worden gebruikt.
klepaansluitfitting aansluiten op de
koudwatertoevoer in uw slang. Ingeval
deze klep niet aanwezig is of als u niet
zeker bent, raadpleegt u een bevoegde
loodgieter.
1. Verwijder de moer van de kraanadapter.
(Afbeelding A)
2. Monteer de kraanadapter op de 1/2-
inch klepfitting zoals weergegeven in de
afbeelding. (Afbeelding B)
3. Nadat u de waterleiding in de moer
hebt gestoken, zoals getoond in de
afbeelding, installeert u deze op de
kraanadapter. (Afbeelding C)
4. Draai de moer handmatig vast. In geval
van lekkage gebruikt u een moersleutel
of een tang om de moer vast te
draaien.
A Waarschuwing: Bevestig de
waterslang met behulp van de
bijgeleverde slangklemmen op de
juiste punten. Hiermee voorkomt u
beschadiging of verschuiving of een
accidenteel ontkoppelen.
A Waarschuwing: Nadat u de waterklep
hebt ingeschakeld, dient u te controleren
of er geen lekkage plaatsvindt bij de
aansluitingspunten van de waterleiding
zelf. In geval van lekkage draait u
onmiddellijk de klep dicht en draait u alle
18
FL

Voorafgaand aan het
C De eerste 10 glazen water mag u niet
eerste gebruik van de ijs-/
consumeren.
waterdispenser
C Er moeten 12 uur voorbijgaan voordat
u de eerste keer ijs uit de ijsdispenser
C De druk van de hoofdwaterleiding mg
kunt krijgen. Ingeval er niet voldoende
niet lager zijn dan 1 bar.
ijs in de ijsdispenser aanwezig is, kunt u
geen ijs uit de ijsdispenser halen.
C De druk van de hoofdwaterleiding
mag niet hoger zijn dan 8 bar.
C De eerste 30 ijsblokjes uit de
ijsdispenser mag u niet gebruiken.
C Ingeval de druk van de
hoofdwaterleiding onder 1 bar zakt of als
C Gebruik altijd de waterfilter als er
een kan zal worden gebruikt, dient u een
geen kan wordt gebruikt.
pomp te gebruiken..
C Het watersysteem van de koelkast
moet op de koudwaterleiding worden
aangesloten. Het mag niet op de
warmwaterleiding worden aangesloten.
C Bij de eerste werking van de koelkast
kunt u geen water nemen. Dit wordt
veroorzaakt door lucht in het systeem.
Om de lucht van het systeem te laten
ontsnappen, drukt u gedurende 1
minuut de hendel van de dispenser in
totdat er water uit de dispenser komt.
De waterstroming kan in het begin
onregelmatig zijn. Een onregelmatige
waterstroming verdwijnt nadat de lucht in
het systeem is ontsnapt.
C Wanneer de koelkast voor de eerste
keer draait, kunt u pas na ongeveer 12
uur koud water verkrijgen.
C De druk van de hoofdwaterleiding
moet tussen de 1-8 bar liggen voor
een probleemloze werking van de ijs-/
waterdispenser. Hiervoor controleert
u of 1 glas water (100 cc) binnen 10
seconden kan worden gevuld.
19
FL

4 Voorbereiding
C Uw koelkast moet worden geïnstalleerd
op minstens 30 cm afstand van
warmtebronnen zoals kookplaten,
centrale verwarming en kachels en op
minstens 5 cm afstand van elektrische
ovens. De koelkast mag niet in direct
zonlicht worden geplaatst.
C De omgevingstemperatuur van de
kamer waarin u de koelkast installeert
dient minstens 10°C te zijn. In verband
met efficiëntie wordt gebruik van uw
koelkast in koudere omstandigheden
niet aanbevolen.
C Controleer of de binnenzijde van uw
koelkast volledig schoon is.
C Bij installatie van twee koelkasten naast
elkaar, moeten de koelkasten op een
afstand van minstens 2 cm van elkaar
worden geplaatst.
C Wanneer u de koelkast voor de
eerste keer in gebruik neemt, gelieve
tijdens de eerste zes uur de volgende
instructies in acht te houden.
- De deur niet regelmatig openen.
- Koelkast moet in bedrijf gesteld
worden zonder levensmiddelen.
- De stekker van de koelkast
niet uittrekken. Indien zich een
stroomstoring voordoet buiten uw
macht, zie de waarschuwingen in het
deel “Aanbevolen oplossingen voor
problemen”.
C Originele verpakking en
schuimmaterialen moeten worden
bewaard voor toekomstig transport of
verhuizen.
20
FL

5 Gebruik van uw koelkast
17. Aanduiding Hoge Temperatuur/
Foutwaarschuwing
1. Instelknoppen koelkast
18. Aanduiding Deur koelkast open
2. Vakantieknop
19. Aanduiding Toetsvergrendeling
3. Knop Snelkoelen
20. Aanduiding Vakantiemodus
4. Knop Toetsvergrendeling
21. Aanduiding Water
5. Knop Ice Off (IJs Uit)
6. Lichtjes Waterdispenser
22. Aanduiding Geen ijs
7. Selectieknop IJs/Water
23. Aanduiding Schaafijs
8. Knop lichtje waterdispenser
24. Aanduiding ijsblokjes
9. Knop Filter resetten
25. Aanduiding Auto Eco
10. Knop Auto Eco
26. Aanduiding Filter resetten
11. Knop Snelvriezen
27. Aanduiding Diepvriezer Deur Open
12. Knop Diepvriesinstelling
28. Aanduiding Temperatuurinstelling
13. Aanduiding Economy Mode
diepvriesgedeelte
14. Aanduiding Hoge vochtigheid
29. Aanduiding Fast Freeze
15. Aabduiding Quick Cool
16. Aanduiding Instelling Koelkasttemperatuur
30. Aanduiding Ionisator
OPTIONEEL
21
FL

Instelling
Instelling
Uitleg
diepvriesgedeelte
koelgedeelte
-15°C 4°C Dit is de normale aanbevolen instelling.
-18,-21 of -24°C 4°C Deze instellingen worden aanbevolen wanneer
de omgevingstemperatuur boven de 30°C
komt.
Fresh Freeze 4°C Gebruik deze instelling wanneer u snel
levensmiddelen wilt invriezen of ijs wilt maken.
Uw koelkast keert terug naar de vorige modus
wanneer het proces is afgerond.
-15°C of kouder 2°C Wanneer u denkt dat uw koelgedeelte niet
koud genoeg is als gevolg van de warme
omgevingstemperatuur of het frequent openen
en sluiten van de deur.
-15°C of kouder Quick Cool U kunt deze gebruiken wanneer uw
koelgedeelte overladen is of wanneer u de
voedingsmiddelen zeer snel wilt koelen.
Druk de knop Diepvries instellen om
de temperatuur te veranderen. De
De temperatuur van het
temperatuur daalt met 2°C. Iedere
koelkastvak instellen
keer dat u de knop indrukt gaat de
De koelkasttemperatuur kan op één
temperatuur verder naar beneden en dan
van de volgende temperaturen worden
weer naar de hoogste instelling. Laat de
ingesteld:
knop los bij de gewenste temperatuur en
8,6,4 en 2°C
de nieuwe temperatuurinstelling wordt
Druk de knop Koelkast instellen om
opgeslagen.
de temperatuur te veranderen. De
Fresh Freeze Functie
temperatuur daalt met 2°C. Iedere
Wanneer u de “Fresh Freeze” knop
keer dat u de knop indrukt gaat de
indrukt, draait de compressor ongeveer
temperatuur verder naar beneden en dan
14 uur. "Fresh Freeze" aanduiding licht
weer naar de hoogste instelling. Laat de
op. Om deze functie te annuleren drukt
knop los bij de gewenste temperatuur en
u de Fresh Freeze knop nogmaals in. De
de nieuwe temperatuurinstelling wordt
aanduiding "Fresh Freeze" gaat uit en
opgeslagen.
keert terug naar de normale instellingen.
Wanneer u denkt dat uw eetwaar
"Fresh Freeze" annuleert zichzelf
kouder is dan gewenst, kunt u
automatisch na 12 uur wanneer u deze
de temperatuurinstelling van het
niet annuleert.
koelkastgedeelte aanpassen naar 6 of 8.
Wanneer u grote hoeveelheden verse
De temperatuur van het
levensmiddelen wenst in te vriezen, druk
diepvriesvak instellen
dan 14 uur voordat u de levensmiddelen
De diepvriezertemperatuur kan op één
in diepvriesgedeelte plaatst de "Fresh
van de volgende temperaturen worden
Freeze" knop in.
ingesteld: -15 / -18 / -21 / -24 en
-24°C
22
FL

"Quick Cool" Functie
Ionisator
Wanneer u de “Quick Cool” knop
De ionisator helpt de lucht in de koelkast
indrukt, wordt de temperatuur van het
te zuiveren en werkt automatisch
gedeelte kouder dan de afgestelde
Knop Toetsvergrendeling
waarden. Deze functie kan worden
De toetsvergrendeling wordt geactiveerd
gebruikt wanneer u levensmiddelen in
wanneer deze knop gedurende
het koelgedeelte plaatst en deze snel wilt
3 seconden wordt ingedrukt. Alle
laten afkoelen.
knoppen en de hendel van de dispenser
Na de "Quick Cool" knop te hebben
werken dan niet meer. Wanneer u de
ingedrukt, licht de "Quick Cool"
toetsvergrendeling wilt deactiveren drukt
aanduiding op. Om deze functie te
u deze knop nogmaals 3 seconden in.
annuleren drukt u nogmaals op de
Verlichting Waterdispenser
"Quick Cool" knop. De aanduiding
Wanneer de knop “Licht” wordt
Quick Cool gaat uit en keert terug naar
ingedrukt, gaat de lamp van de
de normale instellingen. Wanneer u de
waterdispenser aan. Als de knop
functie niet annuleert, annuleert de Quick
nogmaals wordt ingedrukt, gaat de
Cool functie zichzelf.
lamp weer uit. De verlichting brandt
Vakantieknop
ook wanneer de hendel van de
Wanneer u het koelgedeelte langere tijd
waterdispenser wordt ingedrukt en
niet gebruikt, kan het gebruik van het
gaat uit kort nadat de hendel wordt
koelgedeelte worden uitgeschakeld door
losgelaten.
de knop Vacation in te drukken. Zo werkt
Selectie Water/IJstype
de koelkast spaarzamer. U kunt deze
Met de “Dispenserselectie” knop, kan
functie activeren door de Vakantieknop 3
één van de opties “water”, “ijsblokje” of
seconden in te drukken. Wanneer deze
“schaafijs” worden geselecteerd.
functie actief is, moet de deur van het
koelgedeelte gesloten blijven en mag
IJs-/Waterdispenser
er geen eetwaar in het koelgedeelte
Met de drie verschillende functies biedt
achterblijven.
de dispenser u op efficiënte wijze koud
KNop Auto Eco (Speciale
water, ijsblokjes of schaafijs zonder dat u
economische functie)
de deur van de koelkast hoeft te openen.
Het is een constante bron van koud
Wanneer de knop “Auto Eco” wordt
water en ijs zonder dat u water hoeft
ingedrukt, wordt de Speciale Economy
toe te voegen. Het gebruiksvriendelijke
Functie geactiveerd. Wanneer de
bedieningspaneel biedt u de volgende
deur van het koelgedeelte langere tijd
dispenserfunctie:
gesloten wordt gehouden terwijl deze
Opmerking:
functie is geselecteerd, schakelt het
koelgedeelte over naar een economische
• Per keer kan maximaal 90 seconden
werkmodus om automatisch elektriciteit
lang water of ijs worden afgegeven.
te besparen. Wanneer de knop “Auto
• Wanneer de deur van de diepvriezer
Eco” wordt ingedrukt, wordt deze functie
open staat, werkt de dispenser niet.
gedeactiveerd.
23
FL

IJsblokje Schaafijs Koud Water
A Gebruik nooit scherpe voorwerpen om
het ijs in ijsbak los te wrikken. Hierdoor
Gebruik van de IJsdispenser
kan de ijsbak beschadigd raken.
C
Let erop dat de eerste ijsblokjes pas
A Levensmiddelen mogen niet in de
12 uur na het aanzetten van het toestel
ijsbak worden geplaatst met als doel
gereed zijn.
extra snel te koelen.
In het geval u geen ijs nodig heeft,
A Wanneer de ijsbak om welke reden
bijvoorbeeld in de winter of wanneer
dan ook wordt verwijderd, dient u eerst
u op vakantie bent, selecteer dan de
knop Ice Off (IJs Uit) in te drukken.
functie “Ice Off” (IJs Uit).
Ice Off (IJs Uit)
C Het ijsapparaat produceert
C
Om de ijsproductie te stoppen
ongeveer 110 ijsblokjes binnen 24
wordt de knop “Ice Off” (IJs Uit)
uur. Deze hoeveelheid kan verschillen
ingedrukt. Wanneer de functie IJs Uit
afhankelijk van het aantal keren dat
is geselecteerd, wordt er geen water
de deuren worden geopend, de
aan de Icematic toegevoegd. Bestaand
instellingen van de koelkast en eventuele
ijs kan wel uit de dispenser worden
stroomonderbreking. Met de dispenser
genomen. Om de ijsproductie weer te
geeft het geproduceerde ijs af als
starten dient u de knop “Ice Off” (IJs Uit)
ijsblokjes of schaafijs.
nogmaals in te drukken.
Het is normaal wanneer de dispenser
Waarschuwing: Wanneer u de
er langer over doet om schaafijs af te
ijsdispenser niet gebruikt, vergeet dan
geven dan ijsblokjes. Wanneer u na de
niet om het ijskanaaldeksel in de ring
optie schaafijs voor ijsblokjes kiest, kan
aan de binnenkant van de vriezerdeur te
het voorkomen dat er nog wat schaafijs
plaatsen. (Zie het deel Uw koelkast)
wordt afgegeven voordat er ijsblokjes
vallen.
Knop FILTER resetten:
C Als de ijsdispenser voor een lange
tijd niet gebruikt is of het ijs is geklonterd
Het waterfilter moet iedere zes maanden
na een stroomstoring of als het ijs een
vervangen worden. De aanduiding
andere geur of smaak heeft gekregen,
voor Filter resetten licht op als het
dient men zich van het ijs te ontdoen en
waterfilter vervangen dient te worden.
de ijsbak grondig te reinigen.
Druk gedurende 3 seconden op de
Waarschuwing
filterresetknop om de waarschuwing
C Er mag geen ijs aan de ijsdispenser
voor filter resetten te verwijderen.
worden toegevoegd. Dit kan een
tegengesteld effect hebben op de
ijstoevoer of het schaven van het ijs.
A Het is normaal wanneer er enkele
ijsblokjes in de ijsbak geplakt zitten.
A Bewegende delen zoals messen in
de behuizing van de ijsuitlaat van de
dispenser mogen, ter voorkoming van
letsel, niet worden aangeraakt.
24
FL

Gebruik van de
waterdispenser
Schuifschappen
De schuifschappen kunnen worden
uitgetrokken door lichtjes de voorzijde op
te tillen. De schappen kunnen dan naar
voor en naar achter worden geschoven.
Deze schappen raken een stoppunt
wanneer ze naar voor worden getrokken
zodat u de etenswaren op het achterste
gedeelte van het schap kunt bereiken.
Wanneer u deze lichtjes optilt en tot
Waarschuwing
het tweede stoppunt trekt, kunt u de
Het is normaal wanneer de eerste glazen
schuifschap uithalen.
water uit de dispenser warm zijn.
U moet het schap stevig aan de
In geval de waterdispenser niet
onderzijde vastnemen zodat het niet
regelmatig wordt gebruikt, moet er
kantelt. Het schap is geplaatst op de
voldoende water uit de dispenser
rails aan de beide zijden van de koelkast
worden afgevoerd om vers water te
waarmee het schap naar boven of naar
krijgen.
beneden kan worden gebracht.
Wateropvanger
Het schap moet volledig naar achter
Water dat tijdens gebruik druppelt, hoopt
worden gedrukt om juist te plaatsen.
zich op in de wateropvanger. U kunt de
wateropvanger verwijderen door deze
1
naar u toe te trekken of door op zijn rand
te drukken (afhankelijk van het model).
U kunt het water met een spons of een
2
zachte doek verwijderen.
3
4
25
FL

Blauw licht
Vochtregeling van
groenteladen
Voedingsmiddelen die worden bewaard
in de groentelade en met een blauw licht
De groentelade van uw koelkast is
worden verlicht, blijven doorgaan met
speciaal bedoeld om uw groenten
hun fotosynthese door middel van het
vers te houden, zonder dat deze vocht
golflengte-effect van het blauwe licht. Zo
verliezen. In de groentelade circuleert
behouden zij hun versheid en neemt hun
koude lucht. De hoeveelheid koude lucht
vitaminegehalte toe.
die door de groenteladen gaat wordt
gecontroleerd door de regelaars aan de
voorzijde van de groentelade.
U kunt de vochtregelaars op een juiste
positie zetten overeenkomstig het
vochtgehalte en de koeling van de
etenswaren in de groenteladen.
Als u de etenswaren in de groenteladen
meer wilt koelen, opent u de opening
van de vochtregelaars. Als u minder
Ion:
wilt koelen en het vocht langere tijd wilt
De lucht wordt geïoniseerd middels het
vasthouden, sluit u de openingen.
ionisatiesysteem in het luchtkanaal van
het koelkastgedeelte. Dankzij dit systeem
worden bacteriën en deeltjes die in de
lucht worden vervoerd, verwijderd.
Eierrek
U kunt het eierrek op het gewenste
deurschap of binnenschap plaatsen.
Plaats het eierrek nooit in het
diepvriesgedeelte.
Aanbeveling voor
Fresh Freeze gedeelte
het bewaren van
diepvriesvoedsel
Dit gedeelte vriest uw voedingswaren
snel in. Hiermee worden smaak en
Voorverpakte commerciële
voedingswaarden behouden.
diepvriesproducten dienen conform de
instructies van de fabrikant te worden
bewaard gedurende
(4 ster) in
het deel voor diepvriesproducten.
Om de kwaliteit van de fabrikant van de
diepvriesproducten en voedingswinkel te
behouden, dient u het volgende in acht
te nemen:
1. Plaats de diepvriesproducten
na aankoop zo snel mogelijk in de
diepvriezer.
26
FL

2. Zorg dat de inhoud gelabeld is en van
5. Verwijder het uitgebrande lichtpeertje
datum is voorzien.
onmiddellijk.
3. Overschrijd nooit de “Te gebruiken
Een vervanglampje kan gemakkelijk
voor” of “Tenminste houdbaar tot” data
worden verkregen in een goed
op de verpakking.
plaatselijke elektriciteits- of doe-het-zelf-
In geval van stroomstoring, de deur
winkel.
Chillervak
van diepvriezer niet openen. Zelfs
wanneer de stroomstoring duurt tot
Indien u het vak onder de plateau als
de tijd aangegeven op het typeplaatje
koudevak wilt gebruiken, moet het vak
(links binnenin de koelkast), wordt het
onder de plateau geplaatst worden
ingevroren voedsel niet aangetast. In
zoals in de afbeelding.
geval de onderbreking langer duurt,
Chillervakken laten voedingswaren
dient u het voedsel te controleren en
die ingevroren moeten worden, klaar
indien nodig onmiddellijk te consumeren
geraken voor het invriezen. U kunt deze
of het moet direct na bereiding worden
vakken ook gebruiken om voedsel te
ingevroren.
bewaren bij een temperatuur die enkele
graden lager is dan het koelgedeelte.
Ontdooien
U kunt het binnenvolume van uw
Het koelkast- en diepvriesgedeelten
koelkast verhogen door één van de
ontdooien automatisch.
chillervakken te verwijderen. Trek
Het binnenlichtje vervangen
hiervoor het vak naar u toe; het vak zal
Als het lampje niet werkt, doet u het
tegen de stopper komen en stoppen. Dit
volgende:
vak zal dan loskomen als u het ongeveer
1. Schakel het toestel uit aan het
1 cm optilt en naar u toe trekt.
stopcontact en trek de hoofdstekker uit.
Verwijder alle schappen en laden om
gemakkelijk toegang te krijgen.
2. De verlichtingsbedekkingen in het
diepvries- en koelkastgedeelte worden
geopend door er met de hand op te
drukken, laat eerst één kant los en dan
de andere door op de kanten te drukken
zoals getoond in de afbeeldingen.
3. Controleer eerst of het lampje wel
goed vast geschroefd is. Steek de
stekker terug in en schakel aan. Als het
lampje werkt, plaats het deksel terug
door eerst het achterste lipje in te steken
en omhoog te duwen om de voorste
twee lipjes te kunnen plaatsen.
4. Wanneer het lampje niet brandt,
schakelt u de wandcontactdoos uit en
trekt u de stekker eruit. Vervang het
lampje door een nieuw E14 (SES) lampje
van maximaal 15 watt.
27
FL

28
FL

6 Onderhoud en reiniging
A Gebruik nooit benzine, benzeen of
CBescherming van de plastic
gelijksoortige substanties voor het
oppervlakken
reinigingswerk.
C Plaats geen vloeibare olie of in olie
B Wij bevelen aan dat u de stekker uit
bereide maatlijden in uw koelkast in
het toestel trekt voordat u met reinigen
onafgedichte bakjes. Deze kunnen de
begint.
plastic oppervlakken van uw koelkast
C Gebruik nooit scherpe voorwerpen,
beschadigen. Mocht u olie morsen op
zeep, huishoudproducten, afwasmiddel
de plastic oppervlakken, reinig dit deel
of boenwas om te poetsen.
van het oppervlak dan direct met warm
C Gebruik lauwwarm water om de kast
water en spoel af.
van uw koelkast schoon te maken en
wrijf deze droog.
C Gebruik een vochtige doek,
uitgewrongen in een oplossing van één
koffielepel natriumbicarbonaat voor 50
cl water, om de binnenkant schoon te
maken en wrijf vervolgens droog.
B Zorg ervoor dat er geen water in de
lamp en andere elektrische onderdelen
binnensijpelt.
B Als uw koelkast voor een lange periode
niet zal worden gebruikt, trek dan
de stroomkabel uit, verwijder al de
etenswaren, maak de koelkast schoon
en laat de deur op een kier staan.
C Kijk de deurgrendels regelmatig na om
u ervan te vergewissen dat ze proper
en vrij van etensresten zijn.
A Om deurroosters te verwijderen,
verwijder de inhoud en druk het
deurrooster vervolgens eenvoudigweg
naar boven vanaf de basis.
29
FL

IJsbak en waterdispenser
C
Volg de onderstaande procedure en
waarschuwingen op om de ijsbak te
reinigen:
A Verwijder de IJsbak door deze eerst
op te tillen en vervolgens naar u toe te
trekken. Zie de tekening.
A Maak de IJsbak leeg wanneer er
nog ijs in zit. Om vastgeplakt ijs te
verwijderen, mag u geen scherpe
voorwerpen gebruiken. Zo voorkomt u
beschadiging aan de IJsbak.
A Zorg ervoor dat de binnenkant van de
IJsbak niet nat/vochtig is wanneer u
deze terugplaatst.
A Wanneer u ijs uit de ijsdispenser haalt
nadat de ijsbak is teruggeplaatst
en wanneer u de vriezerdeur heeft
gesloten, schakelt u de functie IJs Uit
door de knop Ice Off (IJs Uit) nogmaals
in te drukken.
A Raak de bewegende delen zoals
het mes in de IJsbak niet aan.
C Laat het waterreservoir leeg
wanneer u dit gedurende een lange
tijd niet gaat gebruiken
30
FL

Minibar
De minibardeur geeft u extra comfort
bij het gebruik van uw koelkast.
Het deurschab van de koelkast is
toegankelijk zonder dat de deur van de
koelkast geopend moet worden, dankzij
deze functie kunt u gemakkelijk het
voedsel en de drank die u vaak gebruikt
uit de koelkast nemen. Gezien u de
koelkastdeur niet vaak hoeft te openen,
wordt minder energie verbruikt door de
koelkast.
Om de minibardeur te openen, druk met
uw hand op de minibar en trek om te
openen.
Wanneer de deur van de minibar
geopend is, kunt u het binnenste vlak
van de deur als een tafel gebruiken
waarop u gedurende een korte tijd
flessen en glazen kunt plaatsen zoals
getoond in de afbeelding.
A Waarschuwing: Doe nooit iets wat
druk kan uitoefenen op de deur, zoals
erop zitten, erop klimmen of aan de tafel
hangen en plaats er geen zware objecten
op. Dit kan schade aan de koelkast of
persoonlijke letsels veroorzaken.
A Waarschuwing: U mag niets snijden
op de minibardeur en u moet ervoor
zorgen dat de deur niet beschadigd
wordt door puntige objecten.
31
FL

7 Aanbevolen oplossingen voor problemen
Controleer de volgende punten voordat u de onderhoudsdienst belt. Dit kan u tijd en
geld besparen. Deze lijst omvat regelmatige klachten die niet voortkomen uit defect
vakmanschap of materiaalgebruik. Het is mogelijk dat bepaalde functies die hier
beschreven zijn niet tot uw product behoren.
De koelkast werkt niet
• Zit de stekker van de koelkast goed in de wandcontactdoos? Steek de stekker
in het stopcontact.
• Is de zekering van de contactdoos waaraan de koelkast is aangesloten of de
hoofdzekering gesprongen? Controleer de zekering.
Condensatie op de zijwand van het koelkastgedeelte (MULTIZONE, COOL
CONTROL en FLEXI ZONE).
• Zeer koude omgevingsomstandigheden. Regelmatig openen en sluiten van de
deur. Zeer vochtige omgevingsomstandigheden. Bewaren van levensmiddelen
met vloeistof in open bakjes. De deur staat op een kier. Zet de thermostaat
kouder.
• Zorg dat de deur minder lang open staat of dat deze minder vaak wordt
geopend.
• Dek de eetwaar die in open bakjes wordt bewaard af met een daarvoor
geschikt materiaal.
• Veeg condens af met een droge doek en controleer of condensvorming
aanhoudt.
De compressor draait niet
• Thermische bescherming van de compressor kan springen gedurende
plotselinge stroomuitval of afsluiting van de stroomtoevoer wanneer de druk
van het koelmiddel in het koelsysteem van de koelkast niet in balans is. De
koelkast gaat na ongeveer 6 minuten draaien. Neem contact op met de
onderhoudsdienst wanneer de koelkast na deze periode niet start.
• De koelkast zin in een ontdooicyclus. Dit is normaal voor volledig automatisch
ontdooiende koelkast. Ontdooicylus vindt periodiek plaats.
• De stekker van uw koelkast steekt niet in het stopcontact. Controleer of de
stekker goed in de wandcontactdoos is gestoken.
• Zijn de temperatuurinstellingen goed ingesteld?
• De elektriciteit is mogelijk afgesloten.
32
FL

De koelkast werkt frequent of gedurende lange tijd.
• Uw nieuwe koelkast kan breder zijn dan de vorige. Dit is normaal. Grote
koelkasten werken gedurende langere tijd.
• De omgevingstemperatuur kan hoog zijn. Dit is normaal.
• De stekker van de koelkast kan onlangs ingestoken zijn of de koelkast kan zijn
volgeladen met etenswaren. Het compleet afkoelen van de koelkast kan enkele
uren langer in beslag nemen.
• Grote hoeveelheden warm levensmiddelen kunnen recentelijk in de koelkast
zijn geplaatst. Warme levensmiddelen maken dat de koelkast langer werkt tot
deze eetwaar de veilige bewaartemperatuur heeft bereikt.
• Deuren kunnen regelmatig geopend zijn of gedurende enige tijd op een kier
hebben gestaan. De warme lucht die in de koelkast is binnengekomen maakt
dat de koelkast langer werkt. Open de deuren minder vaak.
• De deur van het diepvries- of koelgedeelte kan op een kier hebben gestaan.
Controleer of de deuren goed gesloten zijn.
• De koelkast is zeer koud ingesteld. Stel de koelkasttemperatuur hoger en
wacht tot de temperatuur wordt bereikt.
• Deurafdichting van de koelkast of diepvriezer kan vuil, versleten, gebroken
of niet goed geplaatst zijn. Maak de afdichting schoon of vervang deze. Een
beschadigde/gebroken afdichting maakt dat de koelkast langer moet werken
om de huidige temperatuur te handhaven.
Diepvriestemperatuur is erg laag terwijl de koelkasttemperatuur voldoende is.
• De diepvriestemperatuur is zeer koud ingesteld. Stel de diepvriezertemperatuur
hoger in en controleer.
Koelkasttemperatuur is erg laag terwijl de diepvries temperatuur voldoende is.
• De koelkasttemperatuur is mogelijk zeer koud ingesteld. Stel de
koelkasttemperatuur hoger in en controleer.
Etenswaren die in laden van koelgedeelte worden bewaard, bevriezen.
• De koelkasttemperatuur is mogelijk zeer koud ingesteld. Stel de
koelkasttemperatuur hoger in en controleer.
Temperatuur in de koelkast of diepvriezer is zeer hoog.
• De koelkasttemperatuur is mogelijk zeer hoog ingesteld. Koelkastinstelling is
van invloed op de temperatuur van de diepvriezer. Verander de temperatuur
van de koelkast of diepvriezer totdat de temperatuur van de koelkast of
diepvriezer het gewenste niveau bereikt.
• Deuren kunnen regelmatig geopend zijn of gedurende enige tijd op een kier
hebben gestaan. Open ze minder vaak.
• De deur stond mogelijk op een kier, sluit de deur volledig.
• Grote hoeveelheden warm levensmiddelen kunnen recentelijk in de koelkast
zijn geplaatst. Wacht tot de koelkast of diepvriezer de gewenste temperatuur
heeft bereikt.
• De koelkast kan recentelijk ingeschakeld zijn. Het volledig afkoelen van de
koelkast neemt enige tijd in beslag.
Het werkingsgeluid neemt toe wanneer de koelkast werkt.
33
FL

• De werkingskenmerken van de koelkast kunnen veranderen als gevolg van
wijzigingen in de omgevingstemperatuur. Dit is normaal en geen defect.
Vibratie of geluid.
• De vloer is niet gelijk of is zwak. De koelkast kantelt een beetje wanneer
langzaam wordt bewogen. Zorg dat de vloer vlak is en de koelkast kan dragen.
• Het geluid kan worden veroorzaakt door voorwerpen die op de koelkast zijn
geplaatst. Voorwerpen bovenop de koelkast moeten verwijderd worden.
Een geluid van morsende of sprayende vloeistof komt uit de koelkast.
• Vloeistof- en gasstromen vinden plaats conform de werkingsprincipes van uw
koelkast. Dit is normaal en geen defect.
Een geluid van wind die blaast.
• Er worden ventilators gebruikt om de koelkast te koelen. Dit is normaal en geen
defect.
Condens op de binnenwanden van de koelkast.
• Met warm en vochtig weer neemt ijs- en condensvorming toe. Dit is normaal
en geen defect.
• De deuren stonden mogelijk op een kier, zorg ervoor dat de deuren volledig
gesloten zijn.
• Deuren kunnen regelmatig geopend zijn of gedurende enige tijd op een kier
hebben gestaan. Open ze minder vaak.
Vocht aan de buitenkant van de koelkast of tussen de deuren.
• Er kan vochtigheid in de lucht zitten, dit is vrij normaal in vochtig weer. Wanneer
de vochtigheid minder wordt, zal de condens verdwijnen.
Slechte geur binnenin de koelkast.
• De binnenkant van de koelkast moet gereinigd worden. Maak de binnenkant
van de koelkast schoon met een spons met lauw of sodawater.
• Sommige bakjes of verpakkingsmaterialen kunnen de geur veroorzaken.
Gebruik een ander bakje of ander soort verpakkingsmateriaal.
De deur sluit niet volledig.
• Het kan zijn dan voedselpakketjes maken dat de deur niet sluit. Verplaats de
pakketjes die de deur belemmeren.
• De koelkast staat niet volledig waterpas en wiebelt wanneer deze bewogen
wordt. Stel de hoogteschroeven anders in.
• De vloer is niet gelijk of stevig. Zorg dat de vloer vlak is en de koelkast kan
dragen.
Groenteladen zitten vast.
• De levensmiddelen kunnen de bovenzijde van de lade raken. Herschik de
levensmiddelen in de lade.
34
FL

Пожалуйста, сначала прочтите данное руководство!
Уважаемый покупатель!
Надеемся, что наше изделие, выпущенное на современных предприятиях, и
проверенное с помощью самых тщательных процедур контроля качества, будет
надежно служить вам.
Поэтому, прежде чем пользоваться изделием, рекомендуем внимательно и
полностью изучить данное руководство и хранить его под рукой для использования в
справочных целях в будущем.
Данное руководство
• Поможет вам быстро и безопасно пользоваться изделием.
• Прежде чем устанавливать изделие и пользоваться им, прочтите руководство.
• Соблюдайте инструкции, особенно в отношении техники безопасности.
• Храните руководство в легко доступном месте, так как оно может понадобиться
вам в будущем.
• Кроме того, прочитайте другие документы, поставляющиеся в комплекте с
изделием.
Просим учесть, что данное руководство по эксплуатации может применяться и для
других моделей.
Символы и их описания
В данном руководстве по эксплуатации используются следующие символы:
C Важная информация или полезные советы по эксплуатации.
A Предупреждение об опасности для жизни и имущества.
B Предупреждение об опасном напряжении электросети.

СОДЕРЖАНИЕ
1 Холодильник 3
Прежде чем использовать
распределитель льда/воды ...19
1 Холодильник 4
4 Подготовка 20
2 Важные указания по
технике безопасности 5
5 Эксплуатация
холодильника 21
Использование по назначению 5
Регулировка температуры
Для изделий с раздатчиком
холодильного отделения ....... 22
охлажденной воды: ................. 7
Регулировка температуры
Безопасность детей ................ 7
морозильного отделения ...... 22
Предупреждение органов
Функция замораживания свежих
здравоохранения ..................... 7
продуктов ............................... 22
Рекомендации по использованию
Функция быстрого охлаждения 23
отделения для свежих продуктов 8
Кнопка режима временного
Рекомендации по экономии
отключения ............................ 23
электроэнергии ........................ 8
Кнопка «Auto Eco» (функция особо
экономичного режима) .......... 23
3 Установка 9
Ионизатор ............................. 23
Что следует учитывать при
Кнопка блокировки клавиш . 23
транспортировке холодильника 9
Подсветка распределителя воды 23
Перед эксплуатацией
Выбор воды/льда ................... 23
холодильника ........................... 9
Распределитель льда/воды .. 23
Подключение к электросети .10
Использование распределителя
Утилизация упаковки .............10
льда ........................................ 24
Утилизация старого
Функция отключения льда ... 24
холодильника ..........................10
Пользование краном подачи
Размещение и установка .......10
воды ........................................ 25
Регулировка положения на полу . 11
Лоток для разлитых продуктов 25
Регулировка зазора между
Лоток для яиц ........................ 25
верхними дверцами ................13
Выдвижные полки ................. 25
Установка водяного фильтра 14
Синий свет ............................. 26
Подключение водопроводной
трубы к холодильнику. ............15
Ионизация: ............................ 26
Подсоединение шланга подачи
Лоток для яиц ........................ 26
воды к баку ............................17
Отделение замораживания свежих
Подключение водопроводной
продуктов ............................... 26
трубы к водопроводной линии 18
Регуляторы влажности в
(в некоторых моделях) ...........18
2
RU

контейнерах для фруктов и
овощей .................................... 26
Рекомендации по хранению
замороженных продуктов ..... 26
Размораживание ................... 27
Замена лампочки внутреннего
освещения .............................. 27
Отделение охладителя ......... 27
6 Обслуживание и
чистка 29
Защита пластмассовых
поверхностей ........................ 29
Контейнер для льда и
распределитель воды ........... 30
Мини-бар ................................ 31
7 Рекомендации
по устранению
неисправностей 32
3
RU

1 Холодильник
1. Морозильное отделение
16. Синий свет
2. Холодильное отделение
17. Водяной бак
3. Внутреннее освещение холодильной
18. Вентиляционная решетка
камеры
19. Выдвижные контейнеры для
4. Крышка отсека для масла и сыра
морозильной камеры
5. Вентилятор
20. Стеклянные полки морозильной
6. Ионизатор
камеры
7. Стеклянные полки холодильного
21. Крышка контейнера для льда
отделения
22. Внутреннее освещение камеры
8. Лоток для яиц
морозильника
9. Дверная стойка морозильной камеры
23. Отделение замораживания свежих
10. Отсек для вин
продуктов
11. Полки для бутылок
24. Лоток для льда
12.Держатель для бутылок
25. Мини-бар
13. Отделения для овощей и фруктов
26. Отделение охладителя
14. Крышка контейнера для фруктов и
овощей
*необязательный
15. Регулируемые передние ножки
C Иллюстрации в данной инструкции являются схематичными и могут отличаться от
вашей модели. Если некоторые компоненты не входят в состав приобретенного вами
изделия, они действительны для других моделей.
4
RU
21
3
4
24
6*
5
23
7
22
21
25
8
*10
9
20
*12
11
*19
13
14
14
18
*17 *2616
5

1 Холодильник
1. Морозильное отделение
16. Синий свет
2. Холодильное отделение
17. Водяной бак
3. Внутреннее освещение холодильной
18. Вентиляционная решетка
камеры
19. Выдвижные контейнеры для
4. Крышка отсека для масла и сыра
морозильной камеры
5. Вентилятор
20. Стеклянные полки морозильной
6. Ионизатор
камеры
7. Стеклянные полки холодильного
21. Крышка контейнера для льда
отделения
22. Внутреннее освещение камеры
8. Лоток для яиц
морозильника
9. Дверная стойка морозильной камеры
23. Отделение замораживания свежих
10. Отсек для вин
продуктов
11. Полки для бутылок
24. Лоток для льда
12.Держатель для бутылок
25. Мини-бар
13. Отделения для овощей и фруктов
26. Отделение охладителя
14. Крышка контейнера для фруктов и
овощей
*необязательный
15. Регулируемые передние ножки
C Иллюстрации в данной инструкции являются схематичными и могут отличаться от
вашей модели. Если некоторые компоненты не входят в состав приобретенного вами
изделия, они действительны для других моделей.
5
RU
21
3
*4
24
6
5
23
7
22
21
8
*10
9
20
*12
11
*19
13
14
14
18
*16 2617
5

2 Важные указания по технике безопасности
Обязательно ознакомьтесь со следующей
• Для изделий с морозильным
информацией. Игнорирование данной
отделением: не помещайте напитки
информации может привести к
в бутылках и банках в морозильное
причинению травм или повреждению
отделение. Они могут лопнуть.
имущества. Кроме того, гарантийные
• Не дотрагивайтесь до замороженных
обязательства и обязательства по
продуктов – они могут примерзнуть к
эксплуатационной надёжности утратят
рукам.
силу.
• Отключайте холодильник от сети перед
Срок службы приобретенного вами
чисткой или размораживанием.
изделия составляет 10 лет. Это срок,
• Ни в коем случае не используйте для
в течение которого предоставляются
чистки и размораживания холодильника
запасные части, необходимые для
пар или аэрозольные чистящие
нормальной работы изделия.
средства. В этом случае пар может
попасть на электрические компоненты,
что приведет к короткому замыканию
Использование по
или поражению электрическим током.
назначению
• Ни в коем случае не используйте
Это изделие предназначено для
холодильник или его части (например,
использования
дверцу) в качестве подставки или
– в помещении и на закрытых
опоры.
пространствах, например, в доме;
• Не используйте электрические приборы
– в закрытых рабочих помещениях,
внутри холодильника.
например, в магазинах и офисах;
• Не допускайте повреждения частей,
– в закрытых жилых помещениях,
в которых циркулирует хладагент,
например, в загородных домах,
используя режущие или сверлильные
гостиницах, пансионах.
инструменты. Хладагент может
• Это изделие предназначено для
вырваться из пробитого испарителя,
использования только в помещении.
трубопроводов или покрытий
поверхности и вызвать раздражение
Общие правила техники безопасности
кожи и поражение глаз.
• В случае необходимости утилизировать
• Ни в коем случае не закрывайте и
или уничтожить изделие для
не закупоривайте вентиляционные
получения необходимой информации
отверстия холодильника.
рекомендуется обратиться в
• Ремонт электрического оборудования
фирменный сервисный центр, а также в
должны производить только
местные органы власти.
квалифицированные специалисты.
• По всем вопросам, касающимся
Ремонт, выполненный некомпетентными
холодильника, обращайтесь в
лицами, может создать опасность для
фирменный сервисный центр. Не
потребителя.
вмешивайтесь в работу изделия
• В случае неполадок во время
и не разрешайте этого другим без
эксплуатации, а также при проведении
уведомления фирменного сервисного
техобслуживания или ремонта
центра.
отключите холодильник, выключив
• Для изделий с морозильным
соответствующий предохранитель или
отделением: не ешьте мороженое в
вынув шнур питания из розетки.
рожках и кубики льда сразу после их
• Не тяните за сетевой шнур, вынимая
извлечения из морозильного отделения!
вилку из розетки.
(Это может вызвать обморожение
• Крепкие спиртные напитки следует
полости рта.)
хранить в плотно закрытом виде и
вертикальном положении.
6
RU

• Нельзя хранить в холодильнике
• При отключении от сети электропитания
банки с горючими и взрывоопасными
холодильника с ручным управлением
веществами.
подождите не менее 5 минут, прежде
• Для ускорения процесса
чем подключать его снова.
размораживания не используйте
• В случае продажи изделия эту
механические устройства или
инструкцию по эксплуатации следует
другие средства, кроме тех, которые
передать новому владельцу.
рекомендованы производителем.
• При транспортировке холодильника
• Данный электроприбор не предназначен
избегайте повреждения шнура
для использования лицами (включая
питания. Изгибание шнура питания
детей) с ограниченными физическими,
может привести к возгоранию. Не
сенсорными и интеллектуальными
ставьте на него тяжелые предметы.
возможностями либо не имеющими
При подключении холодильника к сети
опыта и знаний. Они могут пользоваться
электропитания не прикасайтесь к
электроприбором только под
вилке влажными руками.
наблюдением лица, ответственного
за их безопасность, или под его
руководством.
• Ни в коем случае нельзя пользоваться
неисправным холодильником. При
возникновении вопросом обращайтесь к
квалифицированному специалисту.
• Электрическая безопасность
гарантируется только в том случае,
если система заземления в вашем доме
соответствует стандартам.
• Ни в коем случае нельзя подключать
• Воздействие на устройство дождя,
холодильник к плохо закрепленной
снега, солнца или ветра опасно с точки
стенной розетке сети электропитания.
зрения электробезопасности.
• Из соображений безопасности не
• В случае повреждения шнура питания и
допускайте попадания воды на внешние
т.п. обратитесь в фирменный сервисный
или внутренние части холодильника.
центр, чтобы не подвергать себя
• Не распыляйте рядом с холодильником
опасности.
воспламеняющиеся газы, такие как
• Ни в коем случае нельзя включать
газ пропан, ввиду риска пожара или
холодильник в розетку во время
взрыва.
установки. Это может привести к
• Не ставьте сосуды с водой на
серьезным травмам или смерти.
холодильник, поскольку это может
• Этот холодильник предназначен только
привести к поражению электрическим
для хранения пищевых продуктов. Его
током или пожару.
нельзя использовать для каких-либо
• Не загружайте холодильник продуктами
иных целей.
сверх меры. Если холодильник
• Табличка с техническими
перегружен, продукты могут выпасть
характеристиками находится слева на
при открытии дверцы и травмировать
внутренней стенке холодильника.
вас или повредить холодильник. Не
• Ни в коем случае нельзя подключать
кладите предметы на холодильник,
холодильник к электронным системам
поскольку они могут упасть при
экономии электроэнергии, поскольку это
открытии или закрытии дверцы.
может привести к его поломке.
• При наличии в холодильнике синей
подсветки не смотрите на нее через
оптические устройства.
7
RU

• В холодильнике нельзя хранить
вещества, требующие определенных
Предупреждение органов
температурных условий, такие как
здравоохранения
вакцины, термочувствительные
Если система охлаждения вашего
медикаменты, материалы для научных
изделия содержит R600a:
исследований и т.п.
Этот газ огнеопасен, поэтому будьте
• Холодильник следует отключить
осторожны, чтобы не повредить
от электросети, если он не будет
систему охлаждения и трубопроводы
использоваться в течение длительного
при эксплуатации и во время
времени. Неисправность шнура питания
транспортировки. В случае повреждения
может привести к возгоранию.
уберите устройство подальше от
• Необходимо регулярно очищать
потенциальных источников огня, которые
концы вилки шнура электропитания;
могут привести к возгоранию, а также
несоблюдение этого условия может
проветривайте помещение, в котором
привести к пожару.
находится устройство.
• Необходимо регулярно очищать
Не обращайте внимания на
контакты вилки шнура питания сухой
предупреждение, если система
тканью. Несоблюдение этого правила
охлаждения вашего изделия содержит
может привести к пожару.
R134a.
• Холодильник может смещаться, если
Тип газа, используемого изделием,
регулируемые ножки не зафиксированы
указан на паспортной табличке,
на полу. Фиксирование регулируемых
расположенной слева на внутренней
ножек на полу предотвратит смещение
стенке холодильника.
холодильника.
Не сжигайте изделие в целях утилизации.
• При перемещении холодильника не
держите его за ручку. В противном
случае он может поломаться.
• При установке холодильника
расстояние между ним и другим
холодильником или морозильником
должно составлять минимум 8
см. В противном случае боковые
прилегающие стенки будут
увлажняться.
Для изделий с раздатчиком
охлажденной воды:
Давление в водопроводной линии не
должно быть ниже 1 бара. Давление в
водопроводной линии не должно быть
выше 8 бар.
• Используйте только питьевую воду.
Безопасность детей
• Если на дверце есть замок, ключ
следует хранить в недоступном для
детей месте.
• Следует присматривать за детьми и не
разрешать им портить холодильник.
8
RU

Рекомендации по экономии
Рекомендации по
электроэнергии
использованию отделения
• Не оставляйте дверцу холодильника
для свежих продуктов
открытой на длительное время.
• Не кладите в холодильник горячие
*необязательный
продукты или напитки.
• Не перегружайте холодильник, чтобы не
• Не допускайте какого-либо контакта
нарушать циркуляцию воздуха.
продуктов с температурным датчиком в
• Не устанавливайте холодильник в
отделении для свежих продуктов. Для
местах, где на него попадают прямые
поддержания идеальной температуры
солнечные лучи, или поблизости от
хранения в отделении для свежих продуктов
источников тепла, таких как плита,
датчик не должен закрываться хранящимися
посудомоечная машина или радиатор
там продуктами.
отопления.
•Не помещайте в холодильник горячие
• Следите за тем, чтобы контейнеры с
продукты.
продуктами были закрыты.
• Для изделий с морозильным
отделением: в морозильное
отделение холодильника можно
заложить максимальное количество
продуктов, если достать из него полку
или ящик. Указанное в технических
характеристиках энергопотребление
холодильника определено при
условии, что полка или ящик
морозильного отделения извлечены,
и в него загружено максимально
возможное количество продуктов.
Полку и ящик можно использовать
для замораживания продуктов в
соответствии с их формой и размером.
• Таяние замороженных продуктов в
холодильном отделении обеспечит
экономию электроэнергии и сохранение
качества продуктов.
9
RU
temperature
MILK
food
sensor
juice
temperature
etc.
sensor
MILK
temperature
juice
sensor
food
temperature
etc.
sensor

3 Установка
2. Выполните чистку холодильника в
C Помните, что производитель не
соответствии с рекомендациями,
несет ответственности в случае
приведенными в разделе
несоблюдения указаний, приведенных
«Обслуживание и чистка».
в настоящем руководстве.
3. Вставьте 2 пластиковых клина на
Что следует учитывать
задней стенке холодильника, как
при транспортировке
показано на следующем рисунке.
холодильника
Пластиковые клинья обеспечат
1. Из холодильника следует вынуть все
необходимое расстояние между
продукты и промыть его перед любой
холодильником и стеной для
транспортировкой.
надлежащей циркуляции воздуха.
2. Перед упаковкой все полки,
оборудование, контейнеры для
фруктов и овощей и т.п. в холодильнике
должны быть хорошо закреплены от
тряски при помощи клейкой ленты.
3. Упаковывая холодильник с помощью
плотных лент и прочных веревок,
следует придерживаться правил
транспортировки, напечатанных на
упаковке.
C Помните!
Вторичное использование материалов
очень важно для сохранения природы и
наших национальных богатств.
Если вы хотите отправить на
переработку материалы упаковки, более
подробную информацию можно получить
4. Включите холодильник в сеть. При
в экологических учреждениях или в
открытии дверцы загорается лампочка
органах местной власти.
внутреннего освещения.
Перед эксплуатацией
5. При запуске компрессора будет слышен
шум. Жидкость и газы, находящиеся
холодильника
внутри герметичной системы
Перед началом эксплуатации изделия
охлаждения, также могут создавать
проверьте следующее:
шум, независимо от того, работает
1. Сухо ли внутри холодильника, и может
компрессор или нет, что является
ли воздух свободно циркулировать
вполне нормальным явлением.
позади него?
6. Передние кромки холодильника могут
казаться теплыми. Это нормально. Эти
области должны нагреваться, чтобы
избежать конденсации.
10
RU

Подключение к
A Чтобы узнать, как утилизировать
электросети
изделие, вы можете обратиться к
Подсоедините морозильную камеру к
авторизованному дилеру или в пункт
правильно установленной заземленной
сбора отходов по месту жительства.
розетке, защищенной предохранителем
A Прежде чем утилизировать
с соответствующим номиналом.
холодильник, отрежьте шнур питания
Важно!
и, в случае наличия замков на
дверце, выведите их из строя, чтобы
B Подключение следует выполнять в
предотвратить создание опасных
соответствии с действующими в стране
ситуаций для детей.
правилами.
Размещение и установка
B Вилка сетевого шнура должна быть
легко доступна после установки.
B Внимание! Не включайте
холодильник в розетку во время
B Напряжение и допустимые параметры
его установки. В противном случае,
предохранителей указаны в разделе
существует опасность получения
«Технические характеристики».
серьезных травм или смертельного
B Напряжение в сети должно
случая.
соответствовать указанному
A Если дверь помещения, в котором
напряжению.
будет установлен холодильник,
B Запрещается использовать
недостаточно широка, обратитесь в
при установке удлинители и
авторизованный сервисный центр за
многоконтактные штепсельные вилки.
помощью в снятии дверец холодильника
и пронести в дверь холодильник боком.
B Поврежденный шнур питания должен
быть заменен квалифицированным
1. Устанавливайте холодильник в месте,
электриком.
удобном для его использования.
2. Холодильник должен находиться
B Запрещается пользоваться изделием
в месте, удаленном от источника
до его ремонта. Имеется опасность
тепла, мест повышенной влажности,
поражения электрическим током.
защищенном от прямых солнечных
Утилизация упаковки
лучей.
A Упаковочные материалы могут быть
3. Для более эффективной работы
опасны для детей. Храните упаковочный
необходимо обеспечить хорошую
материал в недоступном для детей месте
вентиляцию вокруг холодильника. Если
или утилизируйте его, рассортировав в
холодильник устанавливается в нише
соответствии с правилами утилизации
стены, минимальное расстояние до
отходов. Не утилизируйте их вместе с
потолка должно составлять не менее 5
обычными бытовыми отходами.
см и 5 см до стены.
Упаковочные материалы холодильника
Если пол имеет ковровое покрытие,
изготовлены из материалов, подлежащих
следует поднять холодильник на 2,5 см
вторичной переработке.
над уровнем пола.
Утилизация старого
4. Холодильник должен стоять на ровной
холодильника
поверхности для того, чтоб не возникала
Утилизация старого изделия должна
тряска.
выполняться экологически безопасным
5. Температура помещения, в котором
способом.
находится холодильник, не должна быть
меньше 10°C.
11
RU

