American Sanders 3DS Orbital Sander – страница 5
Инструкция к Пылесосу American Sanders 3DS Orbital Sander

Руccкий
RU
Техническое обслуживание и ремонт
Техническое обслуживание пользователем:
Бумажные мешки должны заменятся после каждых 3 часов
работы, минимум. При обработке более мягкой древесины
и при больших проходах бумажные мешки необходимо
менять чаще. ПРИМЕЧАНИЕ: Перед заменой бумажных
мешков, машина и тканевый фильтр должны быть очищена
от накопившейся пыли. (Смотрите DTV-7 руководство по
эксплуатации о том, как очищать тканевый фильтр)
Заменяя наждачную бумагу или фильтр, необходимо
проверять двойной фиксатор “velcro” на шлифовальных
полировальниках на износ и повреждения.
Эксплуатационная поддержка:
Техническое обслуживание шлифовальной машины 3DS
Sander должно проводиться через каждые 600 часов
работы. Обращайтесь за техническим обслуживанием в
уполномоченный сервисный центр Alto Service Center.
(Сервисные центры перечислены на внутренней стороне
обложки Руководства по эксплуатации).
Техническое обслуживание должно включать:
1. Проверьте и/или замените щетки и коллектор в
вакуумном исполнительном механизме (Смотрите
отдельное руководство пользователя).
2. Проверьте, не износились ли резиновые прокладки
на шлифовальных полировальниках; если
повреждены замените.
3. Проверьте, не износился ли вспененный материал на
шлифовальных полировальниках; замените, если он
поврежден.
4. Проверьте на износ приводные механизмы, то есть
ремни, шкивы, вал двигателя.
5. Очистите двигатель вакуумного механизма от
собравшейся пыли.
6. Прочистьте тканевый фильтр.
В дополнение к вышеперечисленному необходимо
проводить следующее сервисное обслуживание:
1. Через каждые 1500 часов работы необходимо
заменять приводной ремень.
2. Через каждые 3000 часов работы необходимо
заменять подшипники на приводном шкиве.
Clarke
®
American Sanders Руководство по эксплуатации (RU) - 3DS -81-

Руccкий
RU
Нахождение и устранение неисправностей
Проблема Причина Действие
Не запускается двигатель Нет электропитания Проверьте источник тока и
соединения
Неисправный переключатель/плохое Обратитесь к уполномоченному
соединение агенту по продаже
Двигатель не заводится/ работает Низкое напряжение вследствие Используйте удлинитель 12 медленно
чрезмерной длины или слишком Ga., не превышайте длину более 40’.
короткого удлинителя.
Поврежден пусковой конденсатор Обратитесь к уполномоченному по
продаже агенту
Поврежден пусковой включатель Обратитесь к уполномоченному по
продаже агенту
Поврежден пусковой/рабочий Обратитесь к уполномоченному по
конденсатор продаже агенту
Поврежден двигатель, низкое Обратитесь к уполномоченному по
напряжение продаже агенту
Часто срабатывает автоматический Уберите удлинитель плавкий Установите источник питания
выключатель/ Низкое напряжение предохранитель. ближе к месту работы.
Напряжение должно быть проверено
квалифицированным электриком.
Плохое соединение Обратитесь к уполномоченному по
продаже агенту
Неисправности двигателя Обратитесь к уполномоченному по
продаже агенту
Во время работы машина «подпрыгивает» Настройка давления на выходе Отрегулируйте болт давления
установлена неправильно. на выходе.
Плохой/изношенный шлифовальный Замените поврежденный полировальник.
полировальник
Неровные полировальники. Замените неровные полировальники.
Наждачная бумага/фильтр изношены, Замените поврежденную наждачную
порваны или неправильно бумагу/фильтр или
установлены. установите надлежащим образом.
Машина дергается вправо Настройка давления на выходе Послабьте давление
во время работы. м Смотрите рисунок 17, стр. 8
Машина не удерживает пыль Бумажный мешок переполнен или Замените бумажный мешок в
или неправильно вакуумном механизме надлежащим образом.
или прочно его установите.
плохо установлен.
Тканевый фильтр засорился Выньте тканевый фильтр и очистьте,
продув его воздухом высокого
давления.
Машину толкает взад Эксцентриковые прокладки на Отрегулируйте эксцентрики, чтобы
на раме рукоятках неправильно установлены. попасть в отметку во время работы.
с отверстием эксцентрика спереди
машины.
ПРИМЕЧАНИЕ: После регулировки
оба ролики должны вращаться
с одинаковым давлением.
-82- Clarke
®
American Sanders Руководство по эксплуатации (RU) - 3DS

Руccкий
RU
Шлифовальные проходы и наждачная бумага
ОБЩАЯ ШЛИФОВКА
Так как машина сконструирована для произвольной схемы шлифования, двигаться можно в любую
сторону, однако, рекомендуется, чтобы во время операции машина постоянно передвигалась.
Направление вперед, назад, а потом наполовину назад также относится к общей схеме шлифования.
ПЕРВОНАЧАЛЬНЫЙ ПРОХОД
Целью первоначального прохода является удаление старой отделки, больших неровностей и разметки
барабанного/ленточного шлифовального станка на поверхности пола. Используйте крупнозернистый
абразив (40-60 номера). Для экстремальных ситуаций используйте абразив 36 номера.
ЧИСТОВЫЕ ПРОХОДЫ
Целью чистового прохода является удаления царапин, сделанных во время начального прохода.
Используйте мелкозернистый абразив (80-100 номера).
Если после чистового прохода поверхность остается шероховатой, возможно будет необходимость
использовать даже более мелкий абразивный материал в виде наждачной бумаги или решетчатый
абразив. Полировальник, используемый с сетчатым фильтром, можно также использовать
с мелкозернистой наждачной бумагой, чтобы получить желаемую полировку. Следует быть
внимательным при выборе размера зернистости абразива. Чрезмерно мелкая зернистость закроет
поры на деревянном полу и утруднит окраску поверхности.
Если абразивный материал затупится, его необходимо заменить.
ПРИМЕЧАНИЕ: Эта машина используется для чистового шлифования полов. Для специальных
применений, однако, можно использовать 36 и 40 номер зернистости песчаной шлифовальной шкурки.
Clarke
®
American Sanders Руководство по эксплуатации (RU) - 3DS -83-

Руccкий
RU
-84- Clarke
®
American Sanders Руководство по эксплуатации (RU) - 3DS

3DS
Section II
Parts Manual
(56042625)
Clarke
®
American Sanders Operator’s Manual - 3DS - 85 -

MAIN ASSY
3
29
36
32
2
10
1
7
8
44
4
32
35
39
11
45
32
9
40
42
41
36
34
38
23
32
46
26
30
43
17
5
20
16
31
27
24
37
13
25
19
18
28
6
21
12
22
15
14
SEE HEAD ASSY
33
- 86 - Clarke
®
American Sanders Operator’s Manual - 3DS

MAIN ASSY
Item Ref. No. Qty Description
1 1402148500 1 Wd Air Scoop Hose 20 X 1.5 (07082C, 07085C)
[ ] 54891A 1 Hose, Sq. Fixed (07112A)
2 9058001010 1 Ctv Gd 320 (07082C, 07085C)
[ ] 54438A 1 Vac Tank Soteco (07112A)
[ ] 53732A 1 Bag, Filter Dacron (07082C, 07085C, 07112A)
3 10774A 1 Box Asm Electric 3DS (07082C)
10030A 1 Box, Asm. 230V 50Hz (07085C, 07112A)
4 11677A 1 Cord Asm Power 3DS (07082C)
[ ] 40673A 1 Cordset W/UK1-13P (07112A)
[ ] 41047A 1 Cordset W/CE 7/7 Plug (07085C)
5 25202A 2 Knobhandle Adj. 3ds
6 31243A 1 Bumperhead Pressure 3ds
7 40294A 1 Cord Power 18-2 Iec 320 C14
8 50236A 2 Cleat Power Cord 3ds
9 52068A 4 Cap Hub 3ds
10 54935A 1 Handleframe 3ds
11 57427A 1 Retainer Power Cord Image 14
12 58421A 2 Spacereccentric Truck Frame
13 59891A 2 Washer 1/2 Hubcap 3ds
14 59973A 2 Wheel Asm Caster 3ds Sander
15 63547A 1 Frame Wldmtleft Truck Pntd
16 63548A 1 Frame Wldmtright Truck Pntd
17 69665A 1 Strap Tilt Pntd 3ds
18 69666A 1 Strap Head Adj. Pntd
19 69915A 2 Bracket Wldmt Pntd 3ds
20 69916A 2 Bracketinside Wheel Pntd
21 70499A 2 Label Cas
22 77078A 1 Platewarning Feet 1700 Ii
23 77195A 1 Label-Ul Fire & Sand.
24 80046A 1 Bolt3/8-16x3 Hex Hd Pressure
25 80047A 2 Boltshoulder 1/2dia X 1-3/4
26 87053A 2 Washerat 5/8 Hardened
27 87627A 2 Washer.875 O.D. Bowed
28 97100A 0.5FT Trimvinylblack400 Ft. Spool
29 98622A 1 Handle Grip Tube
30 920110 4 Nut, 5/16-18 Hex Lock
31 920248 2 Nut, 3/8-16. Esna, Jam
32 920296 14 Nut 10-24 Elastic Stop
33 920342 24 Nut Esna 3/8-16
34 962244 8 Screw, 3/8-16 X .75 Hex
35 962798 2 Screw, 10-24 X 1/2 P.H.
36 962862 6 Screw 10-24 X 1 1/2 Pn St Mac
37 980648 4 Washer 17/32 X 1 1/16 Plain
38 980982 4 Washer 10 Sae Flat Pltd
39 55713A 1 Latch Draw Over Center (07082C, 07085C)
[ ] 55725A 1 Latch, Draw (07112A)
40 59940A 2 Wheel, 4”
41 61820A 1 Strap, Vacuum (07082C, 07085C)
[ ] 61898A 1 Strap, Vacuum (07112A)
42 61824A 1 Strap, Vacuum Back (07082C, 07085C)
[ ] 61902A 1 Strap Back Vacuum (07112A)
43 69667A 1 Strap, Vac Support
44 85392A 4 Screw 10-24 X 1 3/4 Pn Sz Ph
45 85397a 2 Screw, 10-24 X 3/8 P.H.
46 85813A 4 Screw, 5/16-18 X 1.00 Hex Hd
[ ] 1408682500 1 Filter, Foam, Motor NOTE 1
[ ] 1408658500 1 Filter, Cloth, Tank NOTE 1
[ ] 56380639 1 Decal-Prop 65
NOTE 1: these parts are accessory items for motor 9058001010
Clarke
®
American Sanders Operator’s Manual - 3DS - 87 -

HEAD ASSY
28
27
51
17
11
46
43
FRONT
36
53
44
54
32
19
14
16
18
13
10
3
42
6
30
54
41
40
26
9
34
20
45
12
47
1
48
7
23
54
5
39
31
50
24
2
15
49
21
25
33
54
8
35
52
41
38
29
22
55
37
54
4
- 88 - Clarke
®
American Sanders Operator’s Manual - 3DS

HEAD ASSY
Item Ref. No. Qty Description
Item Ref. No. Qty Description
1 170906 6 Screw10 X 1/2 Hw S/D
35 167312 3 Ring, Retainer Internal
2 56382756 3 Disc 100hookit 3m 8 Cs=25ea
36 170667 2 Wire Connector Twist On 74b
3 11676A 1 Cord Asm Set 3DS (07082C)
37 170860 3 Washer, Flat 5/16
10029A 1 Cord Assembly 230V 50 Hz (07085C, 07112A)
38 902567 6 Bearing Balldouble Sealed
4 18446A 1 Skirt Asm 3ds
39 902648 2 Bearing, Ball Radial 608
5 19022A 1 Tensioner Wldmtbelt 3ds
40 920196 3 Nut 1/2-13 Hex Jam
6 20027A 1 Mainframe Gray
41 962244 5 Screw, 3/8-16 X .75 Hex
7 30171A 1 Gasket 3ds Cover
42 962350 3 Screw 10-32 X .500
8 31225B 1 Bumperframe 20
43 962727 2 Screw, 8-32 X 1/2
9 32414A 1 Cover 3ds
44 980603 1 Washer, #10 Lock External Tooth
10 34403A 3 Gimbalrubber 1 Sander 3ds
45 980648 3 Washer 17/32 X 1 1/16 Plain
11 44672A 1 Motor3hp 230v/60hz 3DS (07082C)
46 22906A 1 Enclosure, Motor Start
44311A 1 Motor, 2.2 KW 230V/50Hz (07085C, 07112A)
47 24536A 1 Housing, Disc
12 50758A 1 Bearing Ball 6212 3ds
48 56942A 3 Pad, 3DS
13 50927A 1 Beltdrive 3ds Sander
[ ] 54608A 12 Grommet 3DS
14 51523A 1 Bushing Strain Relief
[ ] 30369A 3 Pad Sponge 3DS Sander NOTE 1
15 53410A 1 Springabrasivetension C-12
[ ] 37018A 3 Pad Foam 3DS NOTE 2
16 54931A 1 Handle4-1/4 X 1-3/4
49 58543A 1 Spacer, Sprocket
17 57165A 1 Plug Nylon Hole 3ds
50 61914A 1 Sprocket, Idler
18 57166A 1 Plug1 1/4 Finishing
51 62667A 1 Cover, Enclosure
19 66245A 3 Pulley 3ds
52 67477A 3 Shaft
20 66990A 1 Retainerouter Ring 3ds
53 85833A 1 10-32x3/8 Hw Type 23
21 66991A 1 Retainerinner Ring 3ds
54 87700A 16 Screw 1/4-20 X 1/2 B.H.
22 66992A 2 Retainerbelt Tensioner 3ds
55 87701A 3 Screw5/16-18x5/8 Button Head
23 67863A 2 Spacerrelease Lever8 Belt S
NOTE 1: Only used after May 2003.
24 68793A 2 Weightdisc Housing 3ds
NOTE 2: Only used before June 2003.
25 69191A 1 Tensionerbelt 3ds
26 69662A 3 Sealpully 3ds Sander
27 70044A 1 Label Electrical Shock 3ds
ACCESSORIES
28 77234A 1 Plate-Warning
29 80045A 1 Bolt Shoulder 5/16 X 1-3/4
30 81217A 2 Nut, 1/4-20 Hex Esna
31 83011A 3 Rivet Removable .180 Hole
32 85743A 2 Screw1/4-20x2 SC HD SZ
33 87038A 1 Washer Flat 25/64 Id X 1.5 Id
34 87101A 3 Washer Lock 1/2 Nom
Item Ref. No. Qty Description
674114 Hose, Vacuum 1½” X 10
682408 Vacuum Hose Adaptor 1½”
639804 Wand Assembly, Curved 1½”
638820 Tool, Felt, Shod 14”
658821 Tool-Bristle Shod
945630 BX (25) 3M 8” Hookit Disc #36
945585 DISC 3M 19X2 36-2 CS=50EA
945633 BX (25) 3M 8” Hookit Disc #60
945634 BX (25) 3M 8” Hookit Disc #80
56382756 BX (25) 3M 8” Hookit Disc #100
945625 CS(40)7 7/8”x3/16” Mesh Disc #80
945626 CS(40)7 7/8”x3/16” Mesh Disc #100
945610 Bx(40)8”x2 ¾” Edger Disc Pad
# = Revised or new since last update
Clarke
®
American Sanders Operator’s Manual - 3DS - 89 -

ELECTRICAL BOX ASSY
26
6
19
14
7
21
17
30
8
3
16
24
22
FRONT
5
11
17
21
25
12
30
18
23
10
7
1
27
13
29
19
9
19
31
15
28
23
4
19
32
2
20
- 90 - Clarke
®
American Sanders Operator’s Manual - 3DS

ELECTRICAL BOX ASSY
Item Ref. No. Qty Description
10774A 1 Box Asm Electric 3DS (07082C)
10030A 1 Box, Asm. 230V 50Hz (07085C, 07112A)
1 962065 2 Screw 8-32 X 1/4 Pn St Ph
2 36800A 1 Outletnema Flanged 3DS (07082C)
[ ] 40054A 1 Outletanged L6-30R (07085C, 07112A)
3 40415B 1 Block Contact
4 43501A 1 Inletanged Nema L6-20P (07082C)
[ ] 40040A 1 Inletiec 309 Male Pin (07085C, 07112A)
5 46326A 1 Relaywire 230v
6 50205B 1 Actuator Start / Stop
7 51091A 1 Box Electrical
8 61665A 1 Clip Switch Mtg. Dayton 20ds
9 69917A 1 Bracketelec. Box Left Pntd
10 69918A 1 Brkt Elec Box Right Pntd
11 70157A 1 Label Main Power
12 70179A 1 Labeld.T.V. 7 Only
13 77370A 1 Label 3ds 1
14 77372A 1 Label Switch A/M 3ds
15 920056 2 Nut, 6-32 E.S.N.A. Nylock
16 920108 2 Nut, 8-32
17 920200 2 Nut, 10-24 Hex
18 920296 4 Nut 10-24 Elastic Stop
19 962109 6 Screw, 10-24 X 5/8 Phcr Ss
20 962727 6 SCREW, 8-32 X 1/2 W/DRILL PT
21 980603 2 Washer, #10 Lock External Tooth
22 980621 2 Washer External Tooth Lock
23 980982 8 Washer 10 Sae Flat Pltd
24 41419A 1 Circuit Breaker15a
25 41423B 1 Breaker, 5a Circuit, Cntrl./Act.
26 47381B 1 Switch, Rocker, Dpdt
27 47711A 3 Terminal, 1/4” Fifqd (07082C)
28 51375A 1 Outlet Iec 10a 250v (07082C)
[ ] 43503A 1 Outletschuko 230V 3DS (07085C, 07112A)
29 60708A 1 Plate Outlet Mounting (07082C)
30 77094A 2 Label Ground Symbol
31 80056A 2 Screw, 4-40 X 1/2 P.H.
32 80310A 2 Screw, 6-32 X 1/2 Pan Hd.
Clarke
®
American Sanders Operator’s Manual - 3DS - 91 -

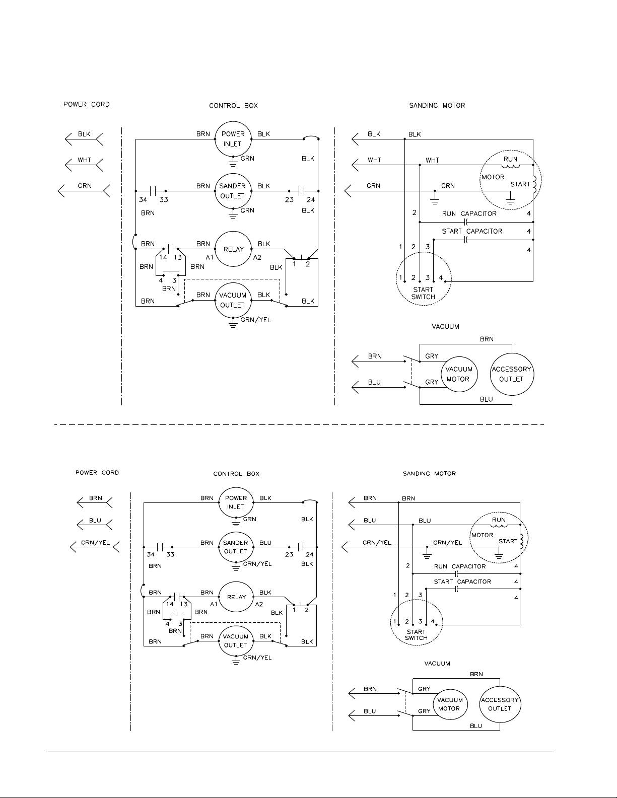
Electrical Schematic 07082C
Electrical Schematic 07085C, 07 112A
- 92 - Clarke
®
American Sanders Operator’s Manual - 3DS

Clarke
®
American Sanders Operator’s Manual - 3DS - 93 -

CLARKE AMERICAN SANDERS U.S. AND CANADA LIMITED WARRANTY
Amano Pioneer Eclipse, Inc. warrants to the original end user, each new machine, new accessories and genuine replacement parts against defects in material and
workmanship under normal use and service. Our obligation under this warranty is limited to repair or replacement of the defective item at our factory or by an Authorized
Service Center. Warranty coverage shall begin on the date of purchase by the original end user (as evidenced by your invoice from the factory or Authorized Dealer) or one
(1) year from the date the machine was shipped from the factory, whichever is earlier. The warranty registration card must be completed and returned within 30 days of
purchase. The warranty coverage period is specified below.
GROUP
1,2
Parts
2
Labor
Big Machines (belt and drum)
1 year
1 year
Rotary Sanders
5 years
5 years
4
Dust Control
Vacs
2 years
2 years
Edger, Orbital, 3DS
1 year
1 year
Power Booster
2 years
2 years
3
Accessories/Replacement Parts
90 Days
EXCEPTIONS
NOTES:
1-Parts repaired or replaced are guaranteed for the remainder of the original machine warranty period.
2-Coverage only applicable to products sold and used in the United States and Canada.
3-Applies to replacement parts only after machine warranty coverage has expired.
4-Backplates on are warranted for the life of the machine
This warranty shall not apply to repairs resulting from accidents or misuse, damage in transit, overloading the capacity of the machine, failure due to lack of proper
maintenance or care as described in the operating and maintenance instructions. Minor adjustments, such as tightening of screws or bolts not connected with the
replacement of parts, are not covered. Replacement of expendable wear items such as scrub brushes, pad holders, carbon motor brushes, bulbs, bags, filters and various
rubber/plastic parts are also not covered. Repairs or alterations by an organization other than the factory or an Authorized Service Center are not covered and will void any
Amano Pioneer Eclipse, Inc. warranty as to the parts or systems repaired or altered by a non-authorized organization.
THERE ARE NO WARRANTIES THAT EXTEND BEYOND THE DESCRIPTION OF THE LIMITED WARRANTIES STATED WITHIN. NO OTHER WARRANTY, EXPRESSED
OR IMPLIED, INCLUDING BUT NOT LIMITED TO ANY IMPLIED WARRANTY OF MERCHANTABILITY OR FITNESS FOR A PARTICULAR PURPOSE, IS MADE EXCEPT
AS EXPRESSLY STATED HEREIN. ANY STATUTORY IMPLIED WARRANTIES, INCLUDING ANY WARRANTY OF MERCHANTABILITY OR FITNESS FOR A PARTICULAR
PURPOSE, THAT ARE IMPOSED BY LAW DESPITE THE EXPRESS LIMITATION OR WARRANTIES ABOVE, ARE EXPRESSLY LIMITED TO THE DURATION OF THE
WRITTEN WARRANTY. BUYER UNDERSTANDS, ACKNOWLEDGES AND AGREES THAT THE REMEDIES PROVIDED UNDER THIS LIMITED WARRANTY ARE THE
SOLE AND EXCLUSIVE REMEDIES AVAILABLE TO THE BUYER. AMANO PIONEER ECLIPSE, INC. WILL NOT BE LIABLE FOR ANY OTHER OR ADDITIONAL DAMAGES,
INCLUDING BUT NOT LIMITED TO INDIRECT, SPECIAL OR CONSEQUENTIAL DAMAGES ARISING OUT OF OR IN CONNECTION WITH THE FURNISHING,
PERFORMANCE, USE OF OR INABILITY TO USE THE MACHINE. ANY EXTENSIONS OF OR MODIFICATIONS MADE TO THIS WARRANTY BY A
DEALER/DISTRIBUTOR OF Amano Pioneer Eclipse, INC. ARE THE SOLE RESPONSIBILITY OF THE DEALER/DISTRIBUTOR.
All transportation or shipping charges resulting from the return of machines, parts, or accessories shall be the responsibility of the end-user. When returning, please provide
an explanation of the problem and include the serial number of the machine as well as the name of the selling organization. The Technical Service department of the authorized
Dealer Service Center or the factory will investigate and then contact you.
Transportation of hazardous waste or contaminated equipment is subject to various laws and regulations. In returning machines, parts, or accessories under this limited
warranty, the end user must certify in writing that the machines, parts or accessories being returned have not been used for handling, clean up, or disposal of hazardous waste
or hazardous materials including but not limited to such things as asbestos, anthrax etc. or if the machines, parts or accessories being returned have been used for handling,
clean up, or disposal of hazardous waste or hazardous materials, then the end user must have the machines, parts or accessories decontaminated by licensed and qualified
decontamination professionals and provide written certification of this decontamination signed by the decontamination professionals. These machines, parts or accessories are
to be returned only to the local Amano Pioneer Eclipse, Inc. Authorized Service Center for
Warranty service along with decontamination certification.
Amano Pioneer Eclipse, INC. Reserves the right to change its warranty policy without notice.
Amano Pioneer Eclipse
1 Eclipse Rd
Sparta, NC 28675
336-372-8080
800-334-2246
www.pioneereclipse.com
www.americansanders.com
2014 Amano Pioneer Eclipse 3_14

