Brennenstuhl PIR Motion Detector PIR 110 IP44 White – page 5
Manual for Brennenstuhl PIR Motion Detector PIR 110 IP44 White

PIR 110/180
ΙΑΘΕΣΗ
ιαθέστε τι ηλεκτρικέ συσκευέ ε σεβα-
σό προ το περιβάλλον! Οι ηλεκτρικέ
συσκευέ δεν ανήκουν στα συνηθισένα
απορρίατα του νοικοκυριού. Βάσει τη Ευρωπαϊ-
κή ιάταξη 2002/96/EG περί ηλεκτρικών και ηλε-
κτρονικών συσκευών, οι φθαρένε από τη χρήση
ηλεκτρονικέ συσκευέ συλλέγονται ξεχωριστά και
ανακυκλώνονται ε σεβασό προ το περιβάλλον.
Λύσει για την διάθεση τη χρησιοποιηένη
συσκευή θα σα δοθούν από το ήο ή την
Κοινότητά σα.
81
011409 Bewegungsmelder PIR 110_180_011409 Bewegungsm

Kurulum ve kullanma kılavuzu
Kızılötesi-hareket ileticisi
PIR ve PIR
Bu hareket ileticisini satın almaya karar
verdiğiniz için son derece mutluyuz.
Kuruluma başlamadan once lütfen kullanma
kılavuzunu okuyunuz ve ilerde tekrar kullanmak
için saklayınız.
ÖNEMLI: Lütfen bu üründe herhangi bir teknik
değişiklik yapmayınız. Bu ürün dimmer şalter ile
birlikte kullanıma uygun değildir. Hareket ileti-
cisi kalifiye elektronik uzmanı biri tarafından IEC
kurallarına uygun olarak kurulum için kablolan-
malıdır (bükülemeyen kablo , - , mm
).
Kurulum ulusal talimatlara ve yasalara uygun
olarak gerçekleşmelidir. Bir çok ülkede ulusal
talimatlar konusunda ilave şartlar bulunmak-
tadır. Elektrikli sistemlerde çalismalara başla-
madan önce, elektriğin kesik olduğundan emin
olunmalıdır (Sigorta, Ana şalter).
Hareket bildiricisi sadece aydınlatmanın
çalıştırılması için kullanılabilir.
82
011409 Bewegungsmelder PIR 110_180_011409 Bewegungsm

PIR 110/180
L
Kahverengi
Elektrik dağıtımı
N
{
Mavi
PIR
Işik
LS
{
}
Siyah
j Montaj plakası
k Duvar vidası
l Sensör gövdesi
m Bağlantı bloğu
n Montaj plaka vidası
83
011409 Bewegungsmelder PIR 110_180_011409 Bewegungsm

PIR 110/180
BİRİMİN MONTAJ YERİ
Montaj yerini belirlerken aşağıdaki noktaları
gözönünde bulundurun:
1. Sensör 2,5m yüksekliği takılır ise, optimal per-
formansa ulaşir.
2. Ağaç ya da çalilarin yakınlarında bir yere tak-
maktan kaçının, çünkü ıslak ve rüzgarlı
havalarda yanlış alarm verebilir.
3. Kapsamı ve hassasiyeti çevre sıcaklığı ile ilgi-
lidir. Bu nedenle ısı kaynaklarının örnegin
aspiratör, yakınlarına ya da üzerilerine takıl-
maması gerekiyor, çünkü böylece yanlış alarm
verebilir.
4. Çok parlak ışıkların üzerine takmaktan kaçının,
çünkü birim Lux-çevirmeli düğme gece mod-
unda (pozisyon) olmaz ise, sistem çalismaz.
5. Güçlü elektro manyetik kaynaklarının yakın-
larına takmaktan kaçının, çünkü böylece yan-
lış alarm verebilir.
6. Sensör en çok gözlemlenen alandan çapraz
olan hareketlere karşi duyarlıdır. Direkt üstüne
giden ya da ondan uzaklaşan hareketleri daha
az algılar. Birimi hareketlerin algılanacağı alan-
lara monte ediniz.
84
011409 Bewegungsmelder PIR 110_180_011409 Bewegungsmelder PIR 110_180 Bed.-Anl. 04.03.14 09:16 Seite 84

PIR 110/180
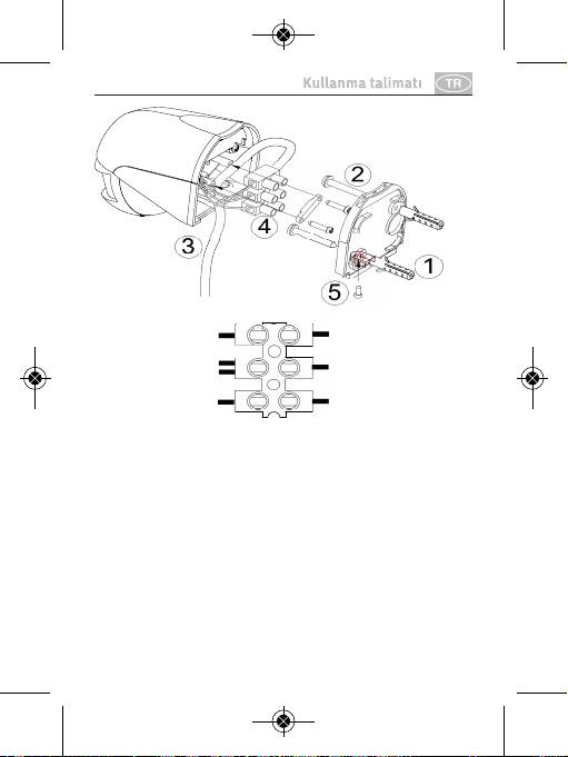
BİRİMİN MONTAJI (bkz. çizim)
Ağ kablosunda elektrik akımı olmadığından
emin olun. Elektrikte herhangi bir çalisma
yapmadan önce, elektriği kesin ya da sigortayı
kapatın.
1. Montaj plakasının (1) vidasını (5) sökün, sen-
sör gövdesini (3) çikarin ve bağlantı bloğunu
(4) gövdeden çikarin.
2. Montaj plakasını (1) duvar vidalarıyla (2) mon-
taj yerine takın.
3. Ağ kablosunu ve ışık kablolarını çizimd olduğu
gibi bağlantı bloğuna (4) bağlayın. Bu sırada
kablo, gönderilmiş olan lastik contadan
geçerek gövdeden çikmasi gerekiyor. Ardından
ağ kablosunu, kıskaç yardımı ile tutturun.
Bağlantı bloğunu tekrar takın. Sensör
gövdesini (3), montaj plaka vidaları (5) ile mon-
taj plakasına (1) bağlanyın.
Montajın ardınan hareket ileticisinin güvenlik
alanını ve fonksiyon statüsünü ayarlayabilirsiniz.
85
011409 Bewegungsmelder PIR 110_180_011409 Bewegungsmelder PIR 110_180 Bed.-Anl. 04.03.14 09:16 Seite 85

PIR 110/180
HAREKET - TESTİ:
Hareket ileticisine elektrik verildiğinde, öncelike
1 dakika süren »ISINMA«-süreci başlar ve ardın-
dan otomatik olarak »AUTO MODE« konumuna
geçer. »AUTO MODE« geçer geçmez hemen bir
hareket testi yapabilirsiniz. Bunun için LUX-ayar
düğmesini »Gün« () işaretine getirin ve TIME-
ayar düğmesini minimum (-) konumuna
ayarlayın. Güvenlik alanını, hareket ileticisine
doğru yürüyerek denetleyebilirsiniz. Hareket
ileticisi, güvenlik alanı içerisinde bir sinyal (örne-
gin bir kişinin yürümesi) alır almaz, bağlanmış
olan ışık ayarlanmış süre içinde yanacaktır.
Kapsama alanı, sensör kafasının yatay ve dikey
hareketlerle kişisel olarak ayarlanabilir.
Hareket testinin ardından, LUX-ayar düğmesini
»Gece« () konumuna getirin. Böylece hareket
ileticisinin sadece gece çalistigindan emin
olursunuz. Ayrıca TIME-ayar düğmesi ile de
istenen ışık yanma süresini ayarlayınız.
86
011409 Bewegungsmelder PIR 110_180_011409 Bewegungsmelder PIR 110_180 Bed.-Anl. 04.03.14 09:16 Seite 86

PIR 110/180
İSTENEN HASSASİYETİN AYARLANMASI:
Hareket ileticisinin, gün ışığını ve karanlığı
ayırtedebilen dahili bir sensörü mevcuttur.
() konumu, bağlanmış olan ışığın gündüz ve
geceleri hareket ileticisi tarafından yakıldığını
gösteriyor.
() konumu, bağlanmış olan ışığın sadece
geceleri hareket ileticisi tarafından yakıldığını
gösteriyor.
Işik kaynağını şiddetini istediğiniz gibi LUX-
çevirmeli düğmeyi kullanarak ayarlayabilirsiniz.
IŞIĞIN YANIŞ SÜRESİNİN AYARLANMASI:
Işigin yanış süresi, hareket ileticisinin ışığı aktif
hale getirdikten sonra yandığı zaman süresidir.
Işik yanış süresi 10 saniye ile 4 dakika arası
ayarlanabilir. TIME-çevirmeli düğme (+) konu-
mundan (-) konumuna getirildiğinde ışık yanma
süresi azalır.
Dikkat: Her hareket algısından sonra, bu süre
baştan başlar.
87
011409 Bewegungsmelder PIR 110_180_011409 Bewegungsmelder PIR 110_180 Bed.-Anl. 04.03.14 09:16 Seite 87

PIR 110/180
TEKNİK BİLGİLER
AĞ GERİLİMİ: 220-240 V~ 50 Hz
ŞEBEKE KAPSAMI: maksimum 1.000 W
ampüllerde
maksimum 300 W
halojen lambalar ile
maksimum 100 W
LED lambalar ile
GÜVENLİK AÇISI: yaklaşik 110° yatay (PIR 110)
ya da 180° yatay (PIR 180) ve
60° (dikey)
ALICI KAPSAMI: maksimum 12 metre
IŞIĞIN YANMA
SÜRESİ: 10 saniye (±5) ile 4 dakika
(±1) arası ayarlanabilir
HASSASİYET: Gün ışığından geceye kadar
ayarlanabilir
CALIŞMA SICAKLIĞI: -10°C – +40°C
GÜVENLİK TÜRÜ: IP44
88
011409 Bewegungsmelder PIR 110_180_011409 Bewegungsmelder PIR 110_180 Bed.-Anl. 04.03.14 09:16 Seite 88

PIR 110/180
TASFİYE
Elektrikli eşyaları çevre kurallarına
göre tasfiye edin! Elektrikli cihazlar ev
çöpüne atılmaz. Elektrik – elektronik
cihazlarla ile ilgili Avrupa normları 2002/96/EG
gereğince, kullanılmış elektrikli cihazlar
ayrıştırılarak saklanmalı ve çevreye uygun geri
dönüşümü sağlanmalıdır.
Cihazın tasfiyesi ile ilgili imkanlar için belediye
yönetimlerine başvurabilirsiniz.
89
011409 Bewegungsmelder PIR 110_180_011409 Bewegungsmelder PIR 110_180 Bed.-Anl. 04.03.14 09:16 Seite 89

Руководство по
эксплуатации и установке
датчик движения с
инфракрасными лучами
PIR 110 и PIR 180
Мы рады, что Вы решились на покупку
датчика движения. Пожалуйста, перед
установкой прочтите данное руководство по
эксплуатации и сохраните его на случай
возникновения вопросов в будущем.
ВАЖНО: пожалуйста, не подвергайте уста-
новку никаким техническим изменениям.
Данный продукт не предназначен для
использования вместе с выключателями
регулирования уровня освещенности.
Датчик движения должен быть установлен
квалифицированным специалистом в обла-
сти электротехники в соответствии с предпи-
саниями МЭК по установке электропроводки
2
(жёсткий на изгиб кабель 0,75 - 1,50 mm
).
Установка осветительного прибора должна
производиться согласно национальным
положениям и законам. Во многих странах
существуют дополнительные требования к
национальным положениям. Перед началом
90
011409 Bewegungsmelder PIR 110_180_011409 Bewegungsmelder PIR 110_180 Bed.-Anl. 04.03.14 09:16 Seite 90

PIR 110/180
работы на электрической установке следует
убедиться в том, что она подключена к ис-
точнику питания (предохранитель/основной
выключатель). Детектор движения должен
быть использован исключительно для
включения осветительных приборов.
L
N
{
-
-
LS
{
}
j
k
l
m
n
91
011409 Bewegungsmelder PIR 110_180_011409 Bewegungsmelder PIR 110_180 Bed.-Anl. 04.03.14 09:16 Seite 91

PIR 110/180
,
:
1. -
, 2,5 .
2. -
, -
.
3. -
. -
, -
, ,
.
4. -
, -
,
( ).
5.
,
.
6.
,
. -
,
, . -
92
011409 Bewegungsmelder PIR 110_180_011409 Bewegungsmelder PIR 110_180 Bed.-Anl. 04.03.14 09:16 Seite 92

PIR 110/180
,
,
.
( )
,
.
-
,
.
1. (5) (1), -
(3)
(4) .
2. -
(1) (2).
3.
(4), -
,
-
.
-
. -
. (3)
(5)
(1).
, -
.
93
011409 Bewegungsmelder PIR 110_180_011409 Bewegungsmelder PIR 110_180 Bed.-Anl. 04.03.14 09:16 Seite 93

PIR 110/180
:
-
, 1 -
»AUFWÄRM« ( ),
»AUTO
MODE« ( ).
»AUTO MODE«,
.
() »Tag« ()
(-). -
(, ),
.
( ., )
,
.
-
. -
-
.
-
94
011409 Bewegungsmelder PIR 110_180_011409 Bewegungsmelder PIR 110_180 Bed.-Anl. 04.03.14 09:16 Seite 94

PIR 110/180
() „Nacht“ (),
,
, -
.
-
:
-
, -
.
() ,
.
() ,
.
, -
-
, .
:
- -
,
.
10 4 .
(+)
95
011409 Bewegungsmelder PIR 110_180_011409 Bewegungsmelder PIR 110_180 Bed.-Anl. 04.03.14 09:16 Seite 95

PIR 110/180
(-) .
:
.
: 220-240 ~ 50
: . 1.000
. 300
. 100
: 110° -
(PIR 110) 180°
(PIR 180)
60° ()
: . 12
: 10 (±5)
4 (±1)
:
: -10°C – +40°C
: IP44
96
011409 Bewegungsmelder PIR 110_180_011409 Bewegungsmelder PIR 110_180 Bed.-Anl. 04.03.14 09:16 Seite 96

PIR 110/180
-
!
-
.
2002 / 96 / ,
-
-
.
-
.
97
011409 Bewegungsmelder PIR 110_180_011409 Bewegungsmelder PIR 110_180 Bed.-Anl. 04.03.14 09:16 Seite 97

011409 Bewegungsmelder PIR 110_180_011409 Bewegungsmelder PIR 110_180 Bed.-Anl. 04.03.14 09:16 Seite 98

011409 Bewegungsmelder PIR 110_180_011409 Bewegungsmelder PIR 110_180 Bed.-Anl. 04.03.14 09:16 Seite 99

Hugo Brennenstuhl GmbH & Co. KG
Seestraße 1-3 · 72074 Tübingen · Germany
lectra-t ag
Blegistrasse 13 · CH-6340 Baar
H. Brennenstuhl S.A.S.
5 rue de l’Artisanat
F-67460 Souffelweyersheim
www.brennenstuhl.com
0451363/314
011409 Bewegungsmelder PIR 110_180_011409 Bewegungsmelder PIR 110_180 Bed.-Anl. 04.03.14 09:16 Seite 100

