Brennenstuhl PIR Motion Detector PIR 110 IP44 Anthracite – page 3
Manual for Brennenstuhl PIR Motion Detector PIR 110 IP44 Anthracite

PIR 110/180
AVFALLSHANTERING
Elektriska apparater skall hanteras med
miljöhänsyn! Elektriska apparater hör
inte hemma i hushållsavfallet. Enligt den
Europeiska riktlinjen 2002/96/EG om Elektro-
och gammal elektronisk utrustning måste
förbrukade elektroniska apparater samlas in
åtskilda för miljöriktig återanvändning. Avfalls-
möjligheter för förbrukade apparater erbjuds
av din kommun eller stadsdelsförvaltning.
41
011409 Bewegungsmelder PIR 110_180_011409 Bewegungsm

Manual de instalación y
funcionamiento
Detector de movimiento
por infrarrojos
PIR 110 y PIR 180
Nos complace que se haya decidido por este
detector de movimiento.
Lea el manual de instrucciones antes de
comenzar la instalación y guárdelo para
referencia futura.
IMPORTANTE: No realice ninguna modifica-
ción técnica en este aparato. Este producto
no es apto para utilizar con interruptores
reguladores de intensidad. Un electricista
cualificado debe encargarse de la instalación
del detector de movimiento conforme a las
normas IEC sobre cableado (cable rígido 0,75 -
2
1,50 mm
). La instalación debe realizarse de
acuerdo a la legislación y los reglamentos
nacionales. En muchos países existen exi-
gen cias adicionales a los regla men tos nacio -
nales. Antes de trabajar con equipos eléc tri -
cos, debe asegurarse de que se ha desconec-
tado la corriente (fusible/interrup tor princi-
pal). El sensor de movimientos solamente
puede utilizarse para encender las luces.
42
011409 Bewegungsmelder PIR 110_180_011409 Bewegungsm

PIR 110/180
L
Marrón
S
u
m
i
n
i
s
t
r
o
d
e
N
{
c
o
r
r
i
e
n
t
e
Azul
PIR
LS
}
L
á
m
p
a
r
a
{
Negro
j Placa de montaje
k Tornillo de pared
l Carcasa del sensor
m Regleta de bornes
n Tornillo de la placa de montaje
43
011409 Bewegungsmelder PIR 110_180_011409 Bewegungsm

PIR 110/180
LUGAR DE MONTAJE DEL APARATO
Tenga en cuenta los siguientes puntos al selec-
cionar el lugar de montaje:
1. El sensor alcanza su óptima capacidad si se
coloca a 2,5 metros de altura.
2. Evite su montaje cerca de árboles o arbus-
tos, ya que el detector puede activarse erró-
neamente cuando haga viento y haya hume-
dad.
3. El alcance y la sensibilidad dependen de la
temperatura ambiente. Por tanto, evite su
montaje cerca de fuentes de calor tales
como, p. ej., los conductos de salida de humo,
o su orientación a una fuente de calor, ya
que el detector puede activarse errónea-
mente.
4. Evite su montaje en un lugar luminoso, pues
el aparato no funcionará si se ajustó el botón
giratorio Lux en el modo nocturno
(posición).
5. Evite su montaje cerca de fuentes de interfe-
rencias electromagnéticas fuertes que pue-
dan causar la activación falsa del detector.
6. El sensor reacciona al mínimo movimiento
que se produzca en sentido transversal a la
zona de control. Los movimientos de acerca-
miento o de alejamiento del aparato se de-
tectan con más dificultad. Coloque el detec-
tor de modo que quede orientado hacia las
44
011409 Bewegungsmelder PIR 110_180_011409 Bewegungsm

PIR 110/180
zonas donde puedan detectarse movimien-
tos.
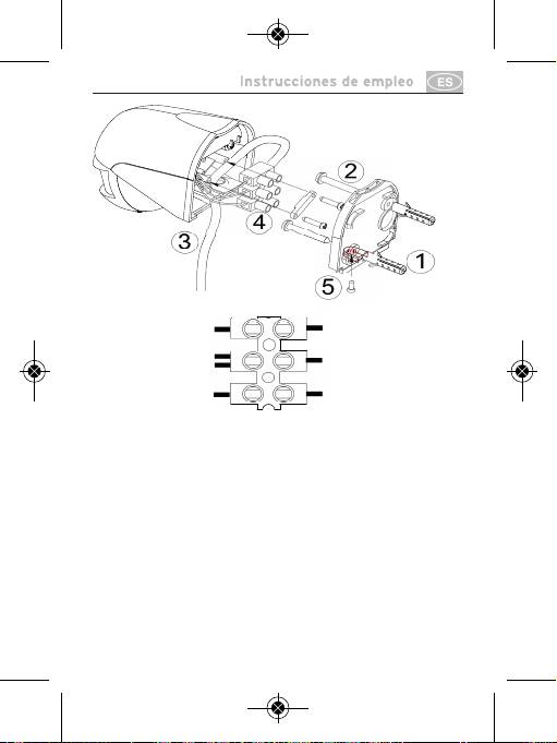
COLOCACIÓN DEL APARATO (véase la ilus-
tración)
Asegúrese de que no fluya corriente por el
cable de red. Desconecte la corriente o apa-
gue el fusible correspondiente antes de reali-
zar cualquier trabajo en el sistema eléctrico.
1. Suelte el tornillo (5) de la placa de montaje
(1), retire la carcasa del sensor (3) y extraiga
la regleta de bornes (4) de la carcasa.
2. Fije la placa de montaje (1) con los tornillos
de pared (2) en el lugar de montaje.
3. Enchufe el cable de red y el cable de la lám-
para, como se muestra en la ilustración, en la
regleta de bornes (4). Para ello, tienda los
cables desde la carcasa a través de la junta
de goma suministrada. Fije el cable de red
mediante la abrazadera de cable. Vuelva a
ajustar la regleta de bornes. Fije la carcasa
del sensor (3) con el tornillo de la placa de
montaje (5) en la placa de montaje (1).
Tras concluir el montaje, puede determinar la
zona de control y el estado de funcionamiento
del detector de movimiento.
45
011409 Bewegungsmelder PIR 110_180_011409 Bewegungsm

PIR 110/180
PRUEBA DE MOVIMIENTO:
Al someter el detector de movimiento a ten-
sión, se activa primero una fase de “CALENTA-
MIENTO” de 1 minuto aprox. de duración y
después pasa automáticamente al „MODO
AUTO“. En cuanto se active el “MODO AUTO”,
puede realizar una prueba de movimiento ajus-
tando el botón de ajuste LUX en la posición
„Día“ () y el botón de ajuste TIME en mínimo
(-). Puede comprobar la zona de control mo-
viéndose por delante del detector de movi-
miento. Desde que el detector de movimiento
reciba una señal de activación (p. ej. el movi-
miento de una persona) dentro de la zona de
control, se encenderá la lámpara conectada du-
rante el periodo de tiempo predefinido. La zona
de registro puede ajustarse de forma individual
ajustando la cabeza del sensor vertical u
horizontalmente.
Después de concluir la prueba de movi-
miento, ajuste el REGULADOR DE AJUSTE
LUX en la posición “nocturno” () para ga-
rantizar el funcionamiento del detector
únicamente por la noche y, la duración de la
iluminación que desee con el REGULADOR
DE AJUSTE TIME.
46
011409 Bewegungsmelder PIR 110_180_011409 Bewegungsm

PIR 110/180
AJUSTE DE LA SENSIBILIDAD DE
RESPUESTA:
El detector de movimiento tiene instalado un
sensor que puede diferenciar la luz del día de
la oscuridad.
La posición () indica que la lámpara
conectada se enciende durante el día y la
noche con el detector de movimiento.
La posición () indica que la lámpara conec-
tada se enciende solamente durante la noche
con el detector de movimiento.
Puede ajustar con el botón giratorio LUX la
intensidad luminosa que desea al encenderse
la luz.
AJUSTE DE LA DURACIÓN DE LA
ILUMINACIÓN:
La duración de la iluminación es el tiempo que
la lámpara está encendida después de la
activación del detector. La duración de la
iluminación puede ajustarse de 10 segundos a
4 minutos aprox. Este tiempo puede reducirse
girando el botón giratorio TIME de (+) a (-).
Atención: Cada vez que se detecte movimiento,
este periodo de tiempo comenzará desde cero.
47
011409 Bewegungsmelder PIR 110_180_011409 Bewegungsm

PIR 110/180
DATOS TÉCNICOS
TENSIÓN DE RED: 220-240 V~ 50 Hz
POTENCIA DE
CONMUTACIÓN: 1.000 W máx. con lámparas
incandescentes
300 W máx. con lámparas
fluorescentes
100 W máx. con lámparas
LED
ÁNGULO DE
CONTROL: 110° aprox. horizontal
(PIR 110) o 180° horizontal
(PIR 180) y 60° (vertical)
ALCANCE: 12 metros máx.
DURACIÓN DE
ILUMINACIÓN: Se puede ajustar de 10
(±5) segundos a 4 (±1)
minutos
SENSIBILIDAD DE
RESPUESTA: Se puede ajustar de la luz
del día a la noche
TEMPERATURA DE
FUNCIONAMIENTO: –10°C – +40°C
CLASE DE
PROTECCIÓN: IP44
48
011409 Bewegungsmelder PIR 110_180_011409 Bewegungsm

PIR 110/180
ELIMINACIÓN DEL PRODUCTO
¡Los aparatos eléctricos deben elimi-
narse de forma ecológica! Los aparatos
eléctricos no deben desecharse en la ba-
sura doméstica. Conforme a la Directiva euro-
pea 2002/96/CE sobre aparatos eléctricos y
electrónicos, los aparatos eléctricos usados se
deben separar y reciclar de forma respetuosa
con el medioambiente. En su ayuntamiento u
oficina de gestión urbanística obtendrá infor-
mación sobre la forma de desechar el aparato
usado.
49
011409 Bewegungsmelder PIR 110_180_011409 Bewegungsm

Manual de instalação e de
instruções
Detector de movimentos
por infravermelhos
PIR 110 e PIR 180
Estamos satisfeitos por se ter decidido pela
compra deste detector de movimentos.
P.f. leia o manual de instruções antes de
começar com a instalação e guarde-o para o
consultar no futuro.
IMPORTANTE: Não efectue alterações
técnicas neste produto. Este produto não é
adequado para ser utilizado em conjunto
com interruptores de regulação da luminosi-
dade. O detector de movimentos deve ser
instalado por um electrotécnico qualificado
em concordância com as directivas IEC
relativas à cablagem (cabo com resistência à
2
torção 0,75 - 1,50 mm
). A instalação deve
ser efectuada em conformidade com os regu-
lamentos e leis nacionais. Em muitos países
existem requisitos adicionais em relação aos
regulamentos nacionais. Antes dos
trabalhos em equipamentos eléctricos,
deve assegurar-se de que a corrente está
50
011409 Bewegungsmelder PIR 110_180_011409 Bewegungsm

PIR 110/180
desligada (fusível/interruptor principal).
O detector de movimentos só pode ser
utilizados para comutar as lâmpadas.
L
Castanho
Alimentação eléctrica
N
{
Azul
PIR
LS
}
Lâmpada
{
Preto
j Placa de montagem
k Parafuso de parede
l Carcaça do sensor
m Régua de bornes
n Parafuso da placa de montagem
51
011409 Bewegungsmelder PIR 110_180_011409 Bewegungsm

PIR 110/180
LOCAL DE MONTAGEM DA UNIDADE
Considere os seguintes pontos ao escolher o
local da montagem:
1. O sensor alcança o seu rendimento ideal se
for colocado a uma altura de 2,5 metros.
2. Evite colocá-lo perto de árvores ou arbustos,
pois pode provocar disparos falsos se o
tempo estiver húmido e ventoso.
3. O alcance e a sensibilidade dependem da
temperatura ambiente. Por isso, evite colocá-
lo perto de fontes de calor como, p. ex., saí-
das de fumo ou virá-lo para esse lado, pois
pode causar disparos falsos.
4. Evite direccioná-lo para luzes claras, pois a
unidade não irá depois funcionar se tiver
ajustado o botão rotativo Lux para o modo
nocturno (posição ).
5. Evite colocá-lo perto de fontes de interferên-
cias electromagnéticas fortes que podem
causar estes disparos falsos.
6.
O sensor reage da forma mais sensível a mo-
vimentos que se realizam transversalmente à
área de controlo. Os movimentos que se su-
cedem directamente em relação a ele ou
afastado dele são mais mal detectados. Colo-
que a uni dade de modo a que esteja ajus-
tada para as áreas em que devem ser detec-
tados movimentos.
52
011409 Bewegungsmelder PIR 110_180_011409 Bewegungsm

PIR 110/180
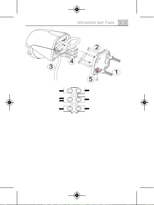
COLOCAÇÃO DA UNIDADE (ver desenho)
Certifique-se de que não passa corrente pelo
cabo de rede. Desligue a corrente ou retire o
respectivo fusível antes de serem realizados
trabalhos no sistema eléctrico.
1. Solte o parafuso (5) da placa de montagem
(1), retire a carcaça do sensor (3) e retire a
régua de bornes (4) da carcaça.
2. Fixe a placa de montagem (1) com os parafu-
sos de parede (2) no local da montagem.
3. Ligue o cabo de rede e o cabo das lâmpadas
como descrito no desenho à régua de bornes
(4), sendo que os cabos são conduzidos atra-
vés da vedação de borracha fornecida junta-
mente, para fora da carcaça. Depois fixe o
cabo de rede com o auxílio de compensação
de tracção. Adapte novamente a régua de
bornes. Fixe a carcaça do sensor (3) com o
parafuso da placa de montagem (5) à placa
de montagem (1).
Depois de finalizada a montagem, pode ajustar
a área de controlo e o estado de funciona-
mento do detector de movimentos.
53
011409 Bewegungsmelder PIR 110_180_011409 Bewegungsm

PIR 110/180
TESTE DE MOVIMENTOS:
Quando o detector de movimentos é colocado
sob tensão, ele entra primeiro numa fase de
»AQUECIMENTO« que dura aprox. 1 minuto e
depois passa automaticamente para o »AUTO
MODE«. Quando estiver no »AUTO MODE«,
pode efectuar um teste de movimentos, colo-
cando o botão de ajuste LUX na posição „Dia“
() e o botão de ajuste TIME no mínimo (-).
Pode verificar a área de controlo, deslocando-
se para o detector de movimentos. Logo que o
detector de movimentos capte um sinal de dis-
paro (como, p. ex., o movimento de uma pes-
soa) dentro da sua área de controlo, liga-se a
luz ligada durante o período de tempo pré-
ajustado. A área de detecção pode ser adap-
tada individualmente através do ajuste
horizontal e vertical do botão do sensor.
Depois de finalizar o teste de movimentos,
coloque o REGULADOR DE AJUSTE LUX na
posição „Noite“ () para se assegurar que o
detector de movimentos só trabalha à noite
e com o REGULADOR DE AJUSTE TIME
ajuste a hora da iluminação desejada.
54
011409 Bewegungsmelder PIR 110_180_011409 Bewegungsm

PIR 110/180
AJUSTAR A SENSIBILIDADE DE REACÇÃO:
O detector de movimentos possui um sensor
montado que diferencia a luz do dia e a
escuridão.
A posição () indica que a luz ligada é ligada
durante o dia e a noite pelo detector de
movimentos.
A posição () indica que a luz ligada só é ligada
durante a noite pelo detector de movimentos.
Pode ajustar a intensidade da luz desejada com
que a luz deve acender-se com o botão rotativo
LUX.
AJUSTAR A DURAÇÃO DA ILUMINAÇÃO:
A duração da iluminação é o período durante o
qual o detector de movimentos deixa a luz
ligada após uma activação. A duração de ilumi-
nação pode ser ajustada de aprox. 10 segundos
até aprox. 4 minutos. Rodando o botão rotativo
TIME de (+) para (-) reduz-se a duração da
iluminação.
Atenção: Com cada detecção de um movi-
mento, este período começa de novo desde o
início.
55
011409 Bewegungsmelder PIR 110_180_011409 Bewegungsm

PIR 110/180
DADOS TÉCNICOS
TENSÃO DE REDE: 220-240 V~ 50 Hz
POTÊNCIA DE
COMUTAÇÃO: no máx. 1.000 W com
lâmpadas
no máx. 300 W com
lâmpadas fluorescentes
no máx. 100 W com
lâmpadas LED
ÂNGULO DE
CONTROLO: Aprox. 110° horizontal
(PIR 110) e 180° horizontal
(PIR 180) e 60° (vertical)
ALCANCE: No máx. 12 metros
DURAÇÃO DA
ILUMINAÇÃO: Ajustável de 10 (±5) se-
gundos até 4 (±1) minutos
SENSIBILIDADE DE
REACÇÃO: Ajustável de luz de dia até
noite
TEMPERATURA DE
FUNCIONAMENTO: -10°C – +40°C
TIPO DE
PROTECÇÃO: IP44
56
011409 Bewegungsmelder PIR 110_180_011409 Bewegungsm

PIR 110/180
REMOÇÃO
Remover os aparelhos eléctricos de
forma ecológica! Os aparelhos eléctricos
não pertencem ao lixo doméstico. De
acordo com a directiva europeia 2002/96/CE
sobre aparelhos eléctricos e electrónicos, os
aparelhos eléctricos usados devem ser recolhi-
dos separadamente e reciclados de forma eco-
lógica. Poderá ficar a saber quais as
possibilidades para a remoção do aparelho
usado junto da sua junta ou câmara.
57
011409 Bewegungsmelder PIR 110_180_011409 Bewegungsm

Istruzioni d’installazione e
d’uso
Segnalatore di movimento a
infra rossi PIR 110 e PIR 180
Siamo lieti che abbiate deciso di acquistare
questo segnalatore di movimento.
Si prega di leggere le istruzioni d’uso, prima
di dare inizio alle operazioni d’installazione,
e di conservarle per una futura consultazione.
IMPORTANTE: Si prega di non apportare
modifiche tecniche a questo prodotto.
Questo prodotto non è idoneo ad essere uti-
lizzato con un regolatore luminoso (dimmer).
Il sensore di movimento deve essere instal-
lato da personale elettrico specializzato, in
conformità con le prescrizioni IEC per il
cablaggio (cavo resistente alla flessione
2
0,75 ~ 1,50 mm
). L'installazione deve essere
eseguita in conformità alle normative
nazionali. In molti paesi esistono requisiti
supplementari alle norme nazionali. Prima di
operare su impianti elettrici occorre accer-
tarsi che la corrente sia staccata (salva -
vita/interruttore principale). Il rilevatore di
movimento può essere utilizzato solo per
l'accensione e lo spegnimento delle luci.
58
011409 Bewegungsmelder PIR 110_180_011409 Bewegungsm

PIR 110/180
L
Marrone
Alimentazione
N
{
Blu
PIR
LS
}
Lampada
{
Nero
j Piastra di montaggio
k Vite per parete
l Alloggiamento sensore
m Morsettiera
n Vite per piastra di montaggio
59
011409 Bewegungsmelder PIR 110_180_011409 Bewegungsm

PIR 110/180
LUOGO D’INSTALLAZIONE DELL’UNITÀ
Considerare i seguenti punti nella scelta del
luogo d’installazione:
1. Il sensore raggiunge la sua potenza ottimale
se applicato ad un’altezza di 2,5 metri.
2. Evitare di applicarlo nella vicinanza di fiori o
cespugli, perché, in caso di condizioni di pi-
oggia o di vento, si potrebbero verificare dei
funzionamenti intempestivi.
3. La portata e sensibilità dipendono dalla tem-
peratura ambiente. Evitare, quindi, di mon-
tarlo in prossimità di fonti di calore, come ad
es. canne fumarie o di orientarlo sulle
stesse, poiché ciò potrebbe dar luogo a fun-
zionamenti intempestivi.
4. Evitare di orientarlo verso luci chiare, perché
l’unità non funzionerà quando la manopola
Lux sarà impostata sulla modalità notte (po-
sizione).
5. Evitare di fissarlo in prossimità di forti fonti
di disturbo elettromagnetico, poiché ciò
potrebbe causare dei funzionamenti intem-
pestivi.
6. Il sensore reagisce in modo più sensibile ai
movimenti che avvengono trasversalmente
all’area di monitoraggio. I movimenti che
puntano direttamente al sensore o si allon-
tanano dallo stesso non vengono percepiti
60
011409 Bewegungsmelder PIR 110_180_011409 Bewegungsm

