Blomberg KWD 9440 X A+: (C)
(C): Blomberg KWD 9440 X A+

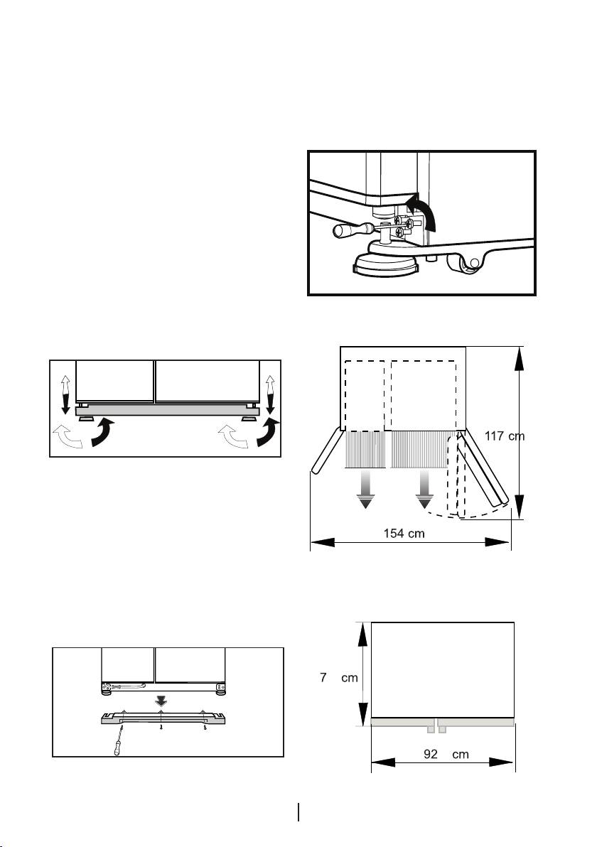
U kunt uw koelkast waterpas stellen
in de afbeelding hieronder. (Niet volledig
door aan de stelvoetjes te draaien zoals
verwijderen)
getoond in de afbeelding. (Zie Afbeelding
(Zie Afbeelding C)
A) De hoek van het stelvoetje wordt
• Wanneer de deur van het
verlaagd wanneer u in de richting van
diepvriesgedeelte lager is dan de deur
de zwarte pijl draait en wordt verhoogd
wanneer u in de tegenovergestelde
richting draait. Wanneer iemand u hierbij
helpt door de koelkast lichtjes op te tillen
vereenvoudigt dit het proces.
2
Hoogteafstelling van de deur
Wanneer er een probleem is met de
uitlijning van de deuren ten opzichte
van elkaar, kunnen deze op lijn worden
gebracht door ze verticaal af te stellen
in de onderstaande volgorde. Bij het
(C)
afstellen van de deurhoogte, dient u
ervoor te zorgen dat de deurschappen
leeg zijn.
(A)
1. Verwijder de onderste ventilatiekap
door de schroeven los te draaien. Zie de
afbeelding hieronder. (Zie Afbeelding B)
2. Draai de de drie schroeven van de
scharnieren van de onderste deur die u
omhoog wilt laten komen, los. Doe dit
met een schroevendraaier zoals getoond
2
4
1 2 3
(B)
11
NL

van het koelgedeelte: breng deze op
Nadat de deuren op hetzelfde niveau zijn
hetzelfde niveau door de stelschroef aan
gebracht door de voorzijde af te stellen
de zijkant van het diepvriesgedeelte met
met de stelschroeven, zullen de deuren
een M6-inbussleutel in de richting van de
van de koelkast goed sluiten. Wanneer
pijl te draaien. Zie Afbeelding D.
de deuren niet goed sluiten, kan dit een
• Wanneer de deur van het
negatief effect op de efficiëntie van de
diepvriesgedeelte hoger is dan de deur
koelkast hebben.
van het koelgedeelte: breng deze op
hetzelfde niveau door de stelschroef aan
de zijkant van het diepvriesgedeelte met
een M6-inbussleutel in de richting van de
pijl te draaien. Zie Afbeelding D.
(D)
12
NL

De afstand tussen de
C Pas de deur desgewenst correct aan
bovenste deur aanpassen
door de schroeven los te draaien.
C U kunt de afstand tussen de deuren
van het koelgedeelte aanpassen zoals
weergegeven in de afbeeldingen.
De deurschappen moeten leeg zijn als u
de deurhoogte aanpast.
Centrale schroef
C Maak de deur die u hebt aangepast
vast door de schroeven aan te draaien
zonder de positie van de deur te
wijzigen.
C Verwijder met een schroevendraaier
de schroef van het bovenste
scharnierdeksel van de deur die u wilt
aanpassen.
C
Plaats het scharnierdeksel terug en
maak het vast met de schroef.
13
NL

Waterfilter plaatsen
(alleen bepaalde modellen)
Installatievereisten
Twee verschillende waterbronnen
mogen op de koelkast worden
aangesloten voor watertoevoer: De
hoofdkoudwatertoevoer en water in een
kan.
C Opmerking: Omdat de volgende
delen niet vereist zijn bij gebruik van een
kan, bevinden deze zich mogelijk niet op
het product dat u hebt aangekocht.
Voor gebruik van water in een kan moet
4
2
een pomp worden gebruikt.
Controleer of de onderstaande delen
met uw apparaat zijn meegeleverd.
1. Koppeling voor aansluiting van de
3
waterleiding op de achterzijde van het
apparaat.
1
2. Slangklemmen, 3 stuks (ingeval deze
vereist zijn om de waterleiding vast te
zetten)
14
NL

a
a
b
c
15
NL
2
1
Wateraansluiting op de koelkast
Volg de onderstaande instructies.
Aansluiting van de
waterleiding op de koelkast
3. 5 meter lange waterleiding (1/4 inch in
1. Na montage van de moer op de
diameter)
waterleiding, drukt u de waterslang in
4. Koudwaterhoofdklep met gaasfilter
de inlaatklep van de koelkast door deze
(kraanadapter)
stevig naar onder te drukken.
5. Waterfilter moet in de beugel in het
2. Bevestig de moer zoals getoond in
koelgedeelte worden geplaatst.
de afbeelding hiernaast door met de
hand op de inlaatklep van de koelkast te
duwen.
(a- Waterleiding, b-Moer, c-Klep)
C Opmerking 1: U hoeft de moer niet
met gereedschap aan te draaien om
een waterdichte montage te verkrijgen.

In geval van lekkage gebruikt u een
de meegeleverde afbeeldingen:
moersleutel of een tang om de moer vast
1. Druk op de knop Ice Cancel (IJs
annuleren) op het display. (Afbeelding 1)
2. Verwijder het filterdeksel in het
koelgedeelte door het naar voren te
trekken. (Afbeelding 2)
3. Verwijder het bypassfilterdeksel
door het naar beneden te draaien.
(Afbeelding 3-4)
A Waarschuwing: Controleer of de
modus "Ice Off" (IJs uit) actief is voordat
u het bypassdeksel verwijdert.
Opmerking: Het is normaal wanneer
er wat water druppelt nadat het deksel
te draaien.
werd verwijderd.
Om de waterfilter te plaatsen, volgt u de
4. Verwijder het deksel aan de bovenkant
onderstaande instructies en raadpleegt u
van de waterfilter en installeer het
zoals getoond in de afbeelding. Draai
het deksel naar boven om het te
vergrendelen. (Afbeelding 5)
3
4
5
2
1
16
NL

5. Druk opnieuw op de knop Ice Cancel
Aansluiting van de
op het display om deze modus te
waterslang op de kan
verlaten.
(alleen bepaalde modellen)
De waterfilter moet iedere 6 maanden
worden vervangen. Als de waterfilter
Om water uit een kan aan te sluiten op
wordt vervangen of als deze niet
de koelkast is een pomp nodig. Volg de
langer wordt gebruikt, moet deze
onderstaande instructies nadat u één
worden verwijderd zoals getoond in de
uiteinde van de waterleiding afkomstig
uit de pomp op de koelkast hebt
aangesloten zoals beschreven op de
vorige pagina.
1a
afbeelding en moet het bypassdeksel
1b
worden bevestigd. U moet ervoor zorgen
dat de Ice Off-modus (IJs uit) actief is
alvorens de filter te verwijderen.
A Waarschuwing: De waterfilter zuivert
het water van bepaalde vreemde deeltjes
in het water. Deze zuivert het water niet
van micro-organismen.
A Waarschuwing: De knop Ice Off moet
altijd worden ingedrukt wanneer u de
waterfilter vervangt of het bypassdeksel
installeert.
2
17
NL

1. Voltooi de aansluiting door het andere
4. Draai de moer handmatig vast. In geval
uiteinde van de waterleiding in de
van lekkage gebruikt u een moersleutel
waterleidinginlaat van de pomp te
of een tang om de moer vast te
duwen zoals weergegeven in de
draaien.
afbeelding.
2. Plaats de pomp in de kan en maak
A Waarschuwing: Bevestig de
deze vast zoals weergegeven in de
waterslang met behulp van de
figuur.
bijgeleverde slangklemmen op de
3. Nadat u de aansluiting hebt voltooid,
juiste punten. Hiermee voorkomt u
steekt u de stekker in het stopcontact
beschadiging of verschuiving of een
en start u de pomp.
accidenteel ontkoppelen.
Om te zorgen voor een efficiënte werking
van de pomp, wacht u 2-3 minuten
nadat u de pomp hebt gestart.
C Opmerking: U kunt de
gebruikershandleiding van de pomp
raadplegen terwijl u de aansluiting op het
water uitvoert.
Aansluiting van de
waterleiding op de
hoofdkoudwaterleiding
(alleen bepaalde modellen)
Als u uw koelkast wilt gebruiken
door deze aan te sluiten op de
koudwaterhoofdleiding,
u moet een standaard 1/2"
klepaansluitfitting aansluiten op de
koudwatertoevoer in uw slang. Ingeval
deze klep niet aanwezig is of als u niet
zeker bent, raadpleegt u een bevoegde
loodgieter.
1. Verwijder de moer van de kraanadapter.
(Afbeelding A)
2. Monteer de kraanadapter op de 1/2-
inch klepfitting zoals weergegeven in de
afbeelding. (Afbeelding B)
3. Nadat u de waterleiding in de moer
hebt gestoken, zoals getoond in de
afbeelding, installeert u deze op de
kraanadapter. (Afbeelding C)
18
NL

A Waarschuwing: Nadat u de waterklep
C Bij de eerste werking van de koelkast
hebt ingeschakeld, dient u te controleren
kunt u geen water nemen. Dit wordt
of er geen lekkage plaatsvindt bij de
veroorzaakt door lucht in het systeem.
aansluitingspunten van de waterleiding
Om de lucht van het systeem te laten
zelf. In geval van lekkage draait u
ontsnappen, drukt u gedurende 1
onmiddellijk de klep dicht en draait u alle
minuut de hendel van de dispenser in
verbindingsstukken opnieuw aan met
totdat er water uit de dispenser komt.
behulp van een moersleutel of tang.
De waterstroming kan in het begin
onregelmatig zijn. Een onregelmatige
waterstroming verdwijnt nadat de lucht in
A Waarschuwing: Zorg ervoor dat de
het systeem is ontsnapt.
standaard 1/2" klepfitting gevoed door
de hoofdkoudwatertoevoer beschikbaar
is en volledig is uitgeschakeld.
C Wanneer de koelkast voor de eerste
Opmerking -1: U hoeft geen waterfilter
keer draait, kunt u pas na ongeveer 12
te gebruiken bij gebruik van een kan.
uur koud water verkrijgen.
Opmerking -2: Bij gebruik van een kan
moet een pomp worden gebruikt.
C De druk van de hoofdwaterleiding
moet tussen de 1-8 bar liggen voor
een probleemloze werking van de ijs-/
Voorafgaand aan het
waterdispenser. Hiervoor controleert
eerste gebruik van de ijs-/
u of 1 glas water (100 cc) binnen 10
waterdispenser
seconden kan worden gevuld.
C De druk van de hoofdwaterleiding mg
C De eerste 10 glazen water mag u niet
niet lager zijn dan 1 bar.
consumeren.
C De druk van de hoofdwaterleiding
C Er moeten 12 uur voorbijgaan voordat
mag niet hoger zijn dan 8 bar.
u de eerste keer ijs uit de ijsdispenser
kunt krijgen. Ingeval er niet voldoende
C Ingeval de druk van de
ijs in de ijsdispenser aanwezig is, kunt u
hoofdwaterleiding onder 1 bar zakt of als
geen ijs uit de ijsdispenser halen.
een kan zal worden gebruikt, dient u een
pomp te gebruiken..
C De eerste 30 ijsblokjes uit de
ijsdispenser mag u niet gebruiken.
C Het watersysteem van de koelkast
moet op de koudwaterleiding worden
C Gebruik altijd de waterfilter als er
aangesloten. Het mag niet op de
geen kan wordt gebruikt.
warmwaterleiding worden aangesloten.
19
NL

4 Voorbereiding
C Uw koelkast moet worden geïnstalleerd
op minstens 30 cm afstand van
warmtebronnen zoals kookplaten,
centrale verwarming en kachels en op
minstens 5 cm afstand van elektrische
ovens. De koelkast mag niet in direct
zonlicht worden geplaatst.
C De omgevingstemperatuur van de
kamer waarin u de koelkast installeert
dient minstens 10°C te zijn. In verband
met efficiëntie wordt gebruik van uw
koelkast in koudere omstandigheden
niet aanbevolen.
C Controleer of de binnenzijde van uw
koelkast volledig schoon is.
C Bij installatie van twee koelkasten naast
elkaar, moeten de koelkasten op een
afstand van minstens 2 cm van elkaar
worden geplaatst.
C Wanneer u de koelkast voor de
eerste keer in gebruik neemt, gelieve
tijdens de eerste zes uur de volgende
instructies in acht te nemen.
- De deur niet regelmatig openen.
- Koelkast moet in bedrijf gesteld
worden zonder levensmiddelen.
- De stekker van de koelkast
niet uittrekken. Indien zich een
stroomstoring voordoet buiten uw
macht, zie de waarschuwingen in het
deel "Aanbevolen oplossingen voor
problemen".
C Originele verpakking en
schuimmaterialen moeten worden
bewaard voor toekomstig transport of
verhuizen.
20
NL

5 Gebruik van uw koelkast
18. Aanduiding Koelkast deur open
19. Aanduiding Toetsvergrendeling
1. Knop Koelkastinstelling
20. Aanduiding Vakantie
2. Knop Vakantie
3. Quick fridge-knop
21. Aanduiding Water
4. Knop Toetsvergrendeling
22. Aanduiding Geen ijs
5. Knop Ice Off (IJs uit)
23. Aanduiding Schaafijs
6. Lichtjes waterdispenser
24. Aanduiding IJsblokje
7. Selectieknop IJs/Water
25. Aanduiding Auto Eco
8. Knop lichtje waterdispenser
26. Aanduiding Filter resetten
9. Knop Filter resetten
27. Aanduiding Diepvriezer deur open
10. Knop Auto Eco
28. Aanduiding Temperatuurinstelling
11. Quick freeze-knop
diepvriesgedeelte
12. Knop Diepvriesinstelling
13. Aanduiding Besparingsmodus
29. Aanduiding Fast Freeze
14. Aanduiding Hoge vochtigheid
30. Aanduiding Ionisator
15. Aanduiding Quick cool
OPTIONEEL
16. Aanduiding Instelling koelkasttemperatuur
17. Aanduiding Hoge temperatuur/
Foutwaarschuwing
21
NL

Instelling
Instelling
Uitleg
Diepvriesgedeelte
koelgedeelte
-15°C 4°C Dit is de normale aanbevolen instelling.
-18,-21 of -24°C 4°C Deze instellingen worden aanbevolen wanneer
de omgevingstemperatuur boven de 30°C
komt.
"Fresh Freeze" 4°C Te gebruiken wanneer u de etenswaren in korte
tijd wilt bevriezen of ijs wilt maken. Uw koelkast
keert terug naar de vorige modus wanneer het
proces is afgerond.
-15°C of kouder 2°C Wanneer u denkt dat uw koelgedeelte niet
koud genoeg is als gevolg van de warme
omgevingstemperatuur of het frequent openen
en sluiten van de deur.
-15°C of kouder Quick Cool U kunt deze gebruiken wanneer uw
koelgedeelte overladen is of wanneer u de
levensmiddelen zeer snel wilt koelen.
Aanpassen van de
Druk op de knop Diepvriesinstelling
om te wijzigen. De temperatuur daalt
temperatuur van het
met 2 °C. Iedere keer dat u de knop
koelgedeelte
indrukt, gaat de temperatuur verder
De temperatuur van het koelgedeelte
naar beneden en dan weer naar de
kan op een van de volgende
hoogste instelling. Laat de knop los bij
temperaturen worden ingesteld:
de gewenste temperatuur en de nieuwe
8, 6 ,4 en 2 °C
temperatuurinstelling wordt opgeslagen.
Druk op de knop Koelkastinstelling om te
Fresh Freeze-functie
wijzigen. De temperatuur daalt met 2 °C.
Wanneer u de knop "Snelvriezen"
Iedere keer dat u de knop indrukt, gaat
indrukt, draait de compressor ongeveer
de temperatuur verder naar beneden en
14 uur. Fresh Freeze aanduiding licht
dan weer naar de hoogste instelling. Laat
op. Druk om deze functie te annuleren
de knop los bij de gewenste temperatuur
de Fresh Freeze knop nogmaals in.
en de nieuwe temperatuurinstelling
De aanduiding Fresh Freeze gaat
wordt opgeslagen.
uit en keert terug naar de normale
Wanneer u denkt dat uw eetwaar
instellingen. Fresh Freeze annuleert
kouder is dan gewenst, kunt u
zichzelf automatisch na ongeveer 12 uur
de temperatuurinstelling van het
wanneer u deze niet annuleert.
koelgedeelte aanpassen naar 6 of 8.
Wanneer u grote hoeveelheden
Aanpassen van de
verse voedingsmiddelen wenst in te
temperatuur van het
vriezen, druk dan 14 uur voordat u de
diepvriesgedeelte
voedingsmiddelen in diepvriesgedeelte
De temperatuur van het
plaatst de knop Fresh Freeze in.
diepvriesgedeelte kan op een van
Functie Snelkoelen
de volgende temperaturen worden
Wanneer u de knop Snelkoelen indrukt,
ingesteld: -15 / -18 / -21 / -24 en
wordt de temperatuur van het gedeelte
-24°C
kouder dan de afgestelde waarden.
22
NL

knoppen en de hendel van de dispenser
Deze functie kan worden gebruikt
werken dan niet meer. Wanneer u de
wanneer u levensmiddelen in het
toetsvergrendeling wilt deactiveren, drukt
koelgedeelte plaatst en deze snel wilt
u deze knop nogmaals 3 seconden in.
laten afkoelen.
Verlichting waterdispenser
Na het indrukken van de Quick Cool
knop licht de Quick Cool aanduiding
Wanneer de knop Licht wordt ingedrukt,
op. Druk om deze functie te annuleren
gaat de lamp van de waterdispenser
de Quick Cool knop nogmaals in. De
aan. Als de knop nogmaals wordt
aanduiding Snelkoelen gaat uit en keert
ingedrukt, gaat de lamp weer uit. Deze
terug naar de normale instellingen.
verlichting brandt ook wanneer de
Wanneer u de functie niet annuleert,
hendel van de waterdispenser wordt
annuleert de Snelkoel-functie zichzelf.
ingedrukt en gaat kort nadat de hendel
wordt losgelaten uit.
Vakantieknop
Water/IJstype selectie
Wanneer het koelgedeelte lange tijd niet
wordt gebruikt, kan het gebruik van het
Met de Dispenserselectieknop kan één
koelkastgedeelte worden geannuleerd
van de opties "water", "ijsblokje" of
door de Vakantieknop in te drukken.
"schaafijs" worden geselecteerd.
Zo werkt de koelkast spaarzamer.
IJs-/Waterdispenser
U kunt deze optie activeren door de
Met de drie verschillende functies biedt
Vakantieknop 3 seconden in te drukken.
de dispenser u op efficiënte wijze koud
Wanneer deze functie actief is, moet
water, ijsblokjes of schaafijs zonder dat u
de deur van het koelgedeelte gesloten
de deur van de koelkast hoeft te openen.
blijven en mag er geen eetwaar in het
Het is een constante bron van koud
koelgedeelte achterblijven.
water en ijs zonder dat u water hoeft toe
Knop Auto Eco (speciale
te voegen. Het gebruikersvriendelijke
besparingsfunctie)
bedieningspaneel biedt u de volgende
dispenserfuncties:
Wanneer de knop "Auto Eco" wordt
ingedrukt, wordt de Auto Economy-
Opmerking:
functie geactiveerd. Wanneer de deur
• Per keer kan maximaal 90 seconden
van het koelgedeelte langere tijd gesloten
lang water of ijs worden afgegeven.
wordt gehouden terwijl deze functie is
• Wanneer de deur van de diepvriezer
geselecteerd, schakelt het koelgedeelte
openstaat, werkt de dispenser niet.
over naar een economischere
IJsblokje Schaafijs Koud water
werkmodus om automatisch elektriciteit
te besparen. Wanneer de knop Auto
Eco wordt ingedrukt, wordt deze functie
gedeactiveerd.
Gebruik van de IJsdispenser
Ioniseerder
C
Let erop dat de eerste ijsblokjes pas
De ioniser helpt de lucht in de koelkast te
12 uur na het aanzetten van het toestel
zuiveren en werk automatisch
gereed zijn.
Knop Toetsvergrendeling
Ingeval u geen ijs nodig hebt,
De toetsvergrendeling wordt geactiveerd
bijvoorbeeld in de winter of wanneer
wanneer deze knop gedurende
u op vakantie bent, schakel dan de
3 seconden wordt ingedrukt. Alle
IJsfunctie uit.
23
NL

C Het ijsapparaat produceert ongeveer
Ice Off
110 ijsblokjes binnen 24 uur. Deze
C
Om de ijsproductie te stoppen, wordt
hoeveelheid kan verschillen afhankelijk
de knop Ice Off ingedrukt. Wanneer de
van het aantal keren dat de deuren
functie Ice Off is geselecteerd, wordt er
worden geopend, de instellingen van
geen water aan de Icematic toegevoegd.
de koelkast en stroomonderbreking. De
Bestaand ijs kan wel uit de dispenser
dispenser geeft het geproduceerde ijs af
worden genomen. Om de ijsproductie
als ijsblokjes of schaafijs.
weer te starten, dient u de knop Ice Off
Het is normaal wanneer de dispenser
nogmaals in te drukken.
er langer over doet om schaafijs af te
Waarschuwing: Wanneer u de
geven dan ijsblokjes. Wanneer u na de
ijsdispenser niet gebruikt, vergeet dan
optie schaafijs vor ijsblokjes kiest, kan
niet om het ijskanaaldeksel in de ring
het voorkomen dat er nog wat schaafijs
aan de binnenkant van de vriezerdeur te
wordt afgegeven voordat er ijsblokjes
plaatsen. (Zie hoofdstuk Uw koelkast)
vallen.
C Als de ijsdispenser voor een lange
Knop FILTER resetten:
tijd niet gebruikt is of het ijs is geklonterd
na een stroomstoring of als het ijs een
De waterfilter moet iedere zes maanden
andere geur of smaak heeft gekregen,
worden vervangen. De aanduiding
dient men zich van het ijs te ontdoen en
voor filter resetten licht op als het
de ijsbak grondig te reinigen.
waterfilter vervangen dient te worden.
Waarschuwingen
Druk gedurende 3 seconden op de
C Er mag geen ijs aan de ijsdispenser
filterresetknop om de waarschuwing
worden toegevoegd. Dit kan een
voor filter resetten te verwijderen.
tegengesteld effect hebben op de
ijstoevoer of het schaven van het ijs.
A Het is normaal wanneer er enkele
ijsblokjes in de ijsbak geplakt zitten.
A Bewegende delen zoals messen in
de behuizing van de ijsuitlaat van de
dispenser mogen, ter voorkoming van
letsel, niet worden aangeraakt.
A Gebruik nooit scherpe voorwerpen
om het ijs in de ijsbak los te wrikken.
Hierdoor kan de ijsbak beschadigd
raken.
A Voedingsmiddelen mogen nooit in de
ijsbak worden geplaatst als doel extra
snel te koelen.
A Wanneer de ijscontainer om welke
reden dan ook wordt vewijderd, dient u
eerste knop Ice Off in te drukken.
24
NL

Gebruik van de
Glijdende schappen
waterdispenser
De glijdende schappen kunnen
uitgetrokken worden door deze lichtjes
aan de voorzijde naar boven te tillen
en naar achter en voor te bewegen.
De schappen stoppen op een bepaald
punt wanneer deze naar voor worden
getrokken. Zo kunt u etenswaren
achterin het schap eenvoudig pakken.
Wanneer het schap vervolgens lichtjes
naar boven wordt getild tot het tweede
stoppunt, kan het schap worden
losgekoppeld.
Het schap moet aan de onderkant stevig
Waarschuwingen
worden vastgehouden om te voorkomen
Het is normaal wanneer de eerste glazen
dat het omkantelt. U plaatst het schap
water uit de dispenser warm zijn.
op de rails aan de binnenkant van de
Ingeval de waterdispenser niet
koelkast en plaatst het een niveau lager
regelmatig wordt gebruikt, moet er
of hoger.
voldoende water uit de dispenser
Om goed te passen, moet het schap
worden afgevoerd om vers water te
helemaal naar achter worden gedrukt.
krijgen.
Wateropvanger
Water dat tijdens gebruik druppelt, hoopt
1
zich op in de wateropvanger. U kunt de
wateropvanger verwijderen door deze
2
naar u toe te trekken of de hoek in te
drukken (afhankelijk van het model). U
kunt het water met een spons of een
3
zachte doek opnemen.
4
25
NL

Blauw licht
Vochtregeling van
groenteladen
Voedingsmiddelen die worden bewaard
in de groenteladen en met een blauw
De groentelade van uw koelkast is
licht worden verlicht, blijven doorgaan
speciaal bedoeld om uw groenten
met hun fotosynthese door middel van
vers te houden, zonder dat deze vocht
het golflengte-effect van het blauwe licht.
verliezen. In de groentelade circuleert
Zo behouden zij hun versheid en neemt
koude lucht. De hoeveelheid koude lucht
hun vitaminegehalte toe.
die door de groenteladen gaat, wordt
gecontroleerd door de regelaars aan de
voorzijde van de groentelade.
U kunt de vochtregelaars op een juiste
positie zetten overeenkomstig het
vochtgehalte en de koeling van de
etenswaren in de groenteladen.
Als u de etenswaren in de groenteladen
meer wilt koelen, opent u de opening
van de vochtregelaars. Als u minder
wilt koelen en het vocht langere tijd wilt
Eierrek
vasthouden, sluit u de openingen.
U kunt het eierrek op het gewenste
deurschap of binnenschap plaatsen.
Plaats het eierrek nooit in het
diepvriesgedeelte.
Fresh Freeze-gedeelte
Dit gedeelte vriest uw voedingswaren
snel in. Hiermee worden smaak en
voedingswaarden behouden.
Ion:
Lucht wordt geïoniseerd door middel van
het ionisatiesysteem in het luchtkanaal
van het koelgedeelte. Dankzij dit systeem
worden de bacteriën en de deeltjes in
de lucht, die een onaangename geur
veroorzaken, verwijderd.
26
NL

Aanbeveling voor
Het binnenlichtje vervangen
het bewaren van
Als het lampje niet werkt, doet u het
diepvriesvoedsel
volgende:
• Voorverpakte commerciële
1. Schakel het apparaat uit aan het
diepvriesproducten dienen conform de
stopcontact en trek de hoofdstekker uit
instructie svan de fabrikant te worden
Verwijder alle schappen en laden om
bewaard gedurende
( 4 ster) in
gemakkelijk toegang te krijgen.
het vak voor diepvriesproducten.
2. De kapjes van de lampjes in de
• Om de kwaliteit van de fabrikant
diepvries- en koelgedeelten worden
van de diepvriesproducten en
geopend door met de hand te
voedingswinkels te behouden, dient u
drukken; maak eerst de ene kant los
het volgende in acht te nemen:
en vervolgens de anderen door op de
1. Plaats de diepvriesproducten
zijkanten te drukken zoals weergegeven
na aankoop zo snel mogelijk in de
in de afbeeldingen.
diepvriezer.
3. Controleer eerst of het lichtpeertje niet
2. Zorg dat de inhoud gelabeld is en van
los zit door na te kijken of het stevig in
een datum is voorzien.
de fitting zit. Stekker weer insteken en
3. Overschrijd nooit de "Te gebruiken
opnieuw aanschakelen. Als het lampje
voor" of "Tenminste houdbaar tot" data
weer werkt, plaatst u het kapje terug
op de verpakking.
door het lipje achteraan in de uitsparing
te drukken en de twee lipjes vooraan
In geval van stroomstoring, de deur
vast te klikken.
van diepvriezer niet openen. Zelfs
wanneer de stroomstoring zolang duurt
4. Wanneer het lichtje nog steeds niet
als gespecificeerd op het typelabel
werkt, schakelt u het apparaat weer
(linkerbinnenkant van de koelkast),
uit aan het stopcontact en trekt u de
zullen diepvriesproducten niet worden
stekker uit. Vervang het peertje door een
beïnvloed. In geval de onderbreking
nieuwe lamp van 15 W (max) met E 14
langer duurt, dient u het voedsel te
(SES) schroeffitting.
controleren en indien nodig onmiddellijk
5. Het opgebrande lampje onmiddellijk
te consumeren of het moet direct na
afvoeren.
bereiding worden ingevroren.
U vindt een reservelampje in elke goede
Ontdooien
elektohandel of doehetzelfzaak.
Het koel- en diepvriesgedeelte ontdooien
automatisch.
27
NL

28
NL

6 Onderhoud en reiniging
A Gebruik nooit benzine, benzeen of
Bescherming van de
gelijksoortige substanties voor het
kunststof oppervlakken
reinigingswerk.
C Plaats geen vloeibare olie of in olie
B Wij bevelen aan dat u de stekker uit
bereide maatlijden in uw koelkast in
het toestel trekt voordat u met reinigen
onafgedichte bakjes. Deze kunnen
begint.
de kunststof oppervlakken van uw
C Gebruik nooit scherpe voorwerpen,
koelkast beschadigen. Mocht u olie
zeep, huishoudproducten, afwasmiddel
morsen op de kunststof oppervlakken,
of boenwas om te poetsen.
reinig dit deel van het oppervlak dan
C Gebruik lauwwarm water om de kast
direct met warm water en spoel af.
van uw koelkast schoon te maken en
wrijf deze droog.
C Gebruik een vochtige doek,
uitgewrongen in een oplossing van één
koffielepel natriumbicarbonaat voor 50
cl water, om de binnenkant schoon te
maken en wrijf vervolgens droog.
B Zorg ervoor dat er geen water in de
lamp en andere elektrische onderdelen
binnensijpelt.
B Als uw koelkast voor een lange
periode niet zal worden gebruikt, trek
dan de stroomkabel uit, verwijder alle
etenswaren, maak de koelkast schoon
en laat de deur op een kier staan.
C Kijk de deurgrendels regelmatig na om
u ervan te overtuigen dat ze schoon en
vrij van etensresten zijn.
A Om deurroosters te verwijderen,
verwijder de inhoud en druk het
deurrooster vervolgens eenvoudigweg
naar boven vanaf de basis.
29
NL

Chillervak
Indien u het vak onder de plateau als
koudevak wilt gebruiken, moet het vak
onder de plateau geplaatst worden zoals
in de afbeelding.
Chillervakken laten voedingswaren
die ingevroren moeten worden, klaar
geraken voor het invriezen. U kunt deze
vakken ook gebruiken om voedsel te
bewaren bij een temperatuur die enkele
graden lager is dan het koelgedeelte.
U kunt het binnenvolume van uw
koelkast verhogen door één van de
chillervakken te verwijderen. Trek
hiervoor het vak naar u toe; het vak zal
tegen de stopper komen en stoppen. Dit
vak zal dan loskomen als u het ongeveer
1 cm optilt en naar u toe trekt.
30
NL

IJsbak en waterdispenser
C
Volg de onderstaande procedure en
waarschuwingen op om de ijsbak te
reinigen:
A Verwijder de ijsbak door deze eerst
op te tillen en vervolgens naar u toe te
trekken. Zie de tekening.
A Maak de ijsbak leeg wanneer er
nog ijs in zit. Om vastgeplakt ijs te
verwijderen, mag u geen scherpe
voorwerpen gebruiken. Zo voorkomt u
beschadiging aan de ijsbak.
A Zorg ervoor dat de binnenkant van de
ijsbak niet nat/vochtig is wanneer u
deze terugplaatst in de behuizing.
A Wanneer u ijs uit de ijsdispenser haalt
nadat de ijsbak is teruggeplaatst in de
behuizing en wanneer u de vriezerdeur
heeft gesloten, schakelt u de modus Ice
Off uit door de knop Ice Off nogmaals
in te drukken.
A Raak de bewegende delen zoals
het mes in de ijsbak niet aan.
C Laat het waterreserovir leeg
als u het gedurende lange tijd niet
gebruikt.
31
NL

Minibar
De deur van de minibar geeft u extra
comfort bij gebruik van uw koelkast. Het
deurschap in de koelkast is toegankelijk
zonder de deur van de koelkast te
openen; dankzij deze functie kunt u
gemakkelijk de voedingsmiddelen en
de dranken uit de koelkast halen die u
regelmatig consumeert. Omdat u de
deur van de koelkast niet regelmatig
moet openen, zult u het stroomverbruik
van de koelkast hebben verlaagd.
Om de deur van de minibar te openen,
drukt u met uw hand op de minibar en
trekt u terug om deze te openen.
Als de deur van de minibar open is, kunt
u de binnenkant van de deur gebruiken
als tafel waarop u uw flessen en glazen
korte tijd kunt zetten zoals weergegeven
in de afbeelding.
A Waarschouwing: Doe nooit dingen
die druk kunnen uitoefenen op de deur
zoals gaan zitten op, klimmen op of
hangen aan de tafel en plaats geen
zware voorwerpen op de tafel. Dit kan
schade aan de koelkast of persoonlijke
letsels veroorzaken.
A Waarschuwing: Snijd nooit op de
deur van de minibar en zorg ervoor dat
de deur niet wordt beschadigd door
scherpe voorwerpen.
32
NL

7 Aanbevolen oplossingen voor problemen
Controleer de volgende punten voordat u de onderhoudsdienst belt. Dit kan u tijd en
geld besparen. Deze lijst omvat regelmatige klachten die niet voortkomen uit defect
vakmanschap of materiaalgebruik. Het is mogelijk dat bepaalde functies die hier
beschreven zijn niet tot uw product behoren.
De koelkast werkt niet.
• Zit de stekker van de koelkast goed in de wandcontactdoos? Steek de stekker
in het stopcontact.
• Is de zekering van de contactdoos waaraan de koelkast is aangesloten of de
hoofdzekering gesprongen? Controleer de zekering.
Condensvorming langs de wand van het koelgedeelte (MULTI ZONE, COOL
CONTROL en FLEXI ZONE).
• Zeer koude omgevingsomstandigheden. Regelmatig openen en sluiten van de
deur. Zeer vochtige omgevingsomstandigheden. Bewaren van levensmiddelen
met vloeistof in open bakjes. De deur staat op een kier. Zet de thermostaat
kouder.
• Zorg dat de deur minder lang open staat of dat deze minder vaak wordt
geopend.
• Dek de eetwaar die in open bakjes wordt bewaard af met een daarvoor
geschikt materiaal.
• Veeg condens af met een droge doek en controleer of condensvorming
aanhoudt.
De compressor draait niet
• Thermische bescherming van de compressor kan springen gedurende
plotselinge stroomuitval of afsluiting van de stroomtoevoer wanneer de druk
van het koelmiddel in het koelsysteem van de koelkast niet in balans is. De
koelkast gaat na ongeveer 6 minuten draaien. Neem contact op met de
onderhoudsdienst wanneer uw koelkast na deze periode niet start.
• De koelkast zit in een ontdooicyclus. Dit is normaal voor een volledig
automatisch ontdooiende koelkast. Ontdooicylus vindt periodiek plaats.
• De stekker van uw koelkast steekt niet in het stopcontact. Zorg ervoor dat de
stekker correct in het stopcontact is gestoken.
• Zijn de temperatuurinstellingen goed ingesteld?
• De stroom werd mogelijk onderbroken.
De koelkast werkt frequent of gedurende lange tijd.
33
NL

• Uw nieuwe product kan breder zijn dan de vorige. Dit is normaal. Grote
koelkasten werken gedurende langere tijd.
• De omgevingstemperatuur kan hoog zijn. Dit is normaal.
• De stekker van de koelkast kan onlangs ingestoken zijn of de koelkast kan zijn
volgeladen met etenswaren. Het compleet afkoelen van de koelkast kan enkele
uren langer in beslag nemen.
• Grote hoeveelheden warme levensmiddelen kunnen recentelijk in de koelkast
zijn geplaatst. Warme levensmiddelen maken dat de koelkast langer werkt tot
deze eetwaar de veilige bewaartemperatuur heeft bereikt.
• Deuren kunnen regelmatig geopend zijn of gedurende enige tijd op een kier
hebben gestaan. De warme lucht die in de koelkast is binnengekomen maakt
dat de koelkast langer werkt. Open de deuren minder vaak.
• De deur van het diepvries- of koelgedeelte kan op een kier hebben gestaan.
Controleer of de deuren goed gesloten zijn.
• De koelkast is zeer koud ingesteld. Stel de koelkasttemperatuur hoger en
wacht tot de temperatuur wordt bereikt.
• Deurafdichting van de koelkast of diepvriezer kan vuil, versleten, gebroken
of niet goed geplaatst zijn. Maak de afdichting schoon of vervang deze. Een
beschadigde/gebroken afdichting maakt dat de koelkast langer moet werken
om de huidige temperatuur te handhaven.
Diepvriestemperatuur is erg laag terwijl de koelkasttemperatuur voldoende is.
• De diepvriestemperatuur is zeer koud ingesteld. Stel de diepvriezertemperatuur
hoger in en controleer.
Koelkasttemperatuur is erg laag terwijl de diepvries temperatuur voldoende is.
• De koelkasttemperatuur is mogelijk zeer koud ingesteld. Stel de
koelkasttemperatuur hoger in en controleer.
Etenswaren die in laden van het koelgedeelte worden bewaard, bevriezen.
• De koelkasttemperatuur is mogelijk zeer koud ingesteld. Stel de
koelkasttemperatuur hoger in en controleer.
Temperatuur in de koelkast of diepvriezer is zeer hoog.
• De koelkasttemperatuur is mogelijk zeer warm ingesteld. Koelkastinstelling is
van invloed op de temperatuur van de diepvriezer. Verander de temperatuur
van de koelkast of diepvriezer totdat de temperatuur van de koelkast of
diepvriezer het gewenste niveau bereikt.
• Deuren kunnen regelmatig geopend zijn of gedurende enige tijd op een kier
hebben gestaan; doe ze minder vaak open.
• De deur is mogelijk op een kier blijven staan; doe de deur volledig dicht.
• Grote hoeveelheden warme levensmiddelen kunnen recentelijk in de koelkast
zijn geplaatst. Wacht tot de koelkast of diepvriezer de gewenste temperatuur
heeft bereikt.
• De koelkast kan recentelijk ingeschakeld zijn. Het kost tijd om de koelkast
volledig te laten afkoelen.
Het werkingsgeluid neemt toe wanneer de koelkast werkt.
34
NL

• De werking van de koelkast kan veranderen als gevolg van wijzigingen in de
omgevingstemperatuur. Dit is normaal en geen defect.
Vibratie of geluid.
• De vloer is niet gelijk of is zwak. De koelkast kantelt een beetje wanneer
langzaam wordt bewogen. Zorg dat de vloer vlak vlak en sterk genoeg is om
de koelkast te dragen.
• Het geluid kan worden veroorzaakt door voorwerpen die op de koelkast zijn
geplaatst. Voorwerpen bovenop de koelkast moeten worden verwijderd.
Een geluid van morsende of sprayende vloeistof komt uit de koelkast.
• Vloeistof- en gasstromen vinden plaats conform de werkingsprincipes van uw
koelkast. Dit is normaal en geen defect.
Een geluid van wind die blaast.
• Er worden ventilatoren gebruikt om de koelkast te koelen. Dit is normaal en
geen defect.
Condens op de binnenwanden van de koelkast.
• Met warm en vochtig weer neemt ijs- en condensvorming toe. Dit is normaal
en geen defect.
• De deuren kunnen op een kier hebben gestaan, zorg ervoor dat de deuren
volledig gesloten zijn.
• Deuren kunnen regelmatig geopend zijn of gedurende enige tijd op een kier
hebben gestaan; doe ze minder vaak open.
Vocht aan de buitenkant van de koelkast of tussen de deuren.
• De lucht is mogelijk vochtig; dit is vrij normaal bij vochtig weer. Wanneer de
vochtigheid minder wordt, zal de condens verdwijnen.
Slechte geur binnenin de koelkast.
• De binnenkant van de koelkast moet gereinigd worden. Maak de binnenkant
van de koelkast schoon met een spons met lauw of sodawater.
• Sommige bakjes of verpakkingsmaterialen kunnen de geur veroorzaken.
Gebruik een ander bakje of ander soort verpakkingsmateriaal.
De deur sluit niet.
• Het kan zijn dat voedselpakketjes veroorzaken dat de deur niet sluit. Verplaats
de pakketjes die de deur belemmeren.
• De koelkast staat niet volledig waterpas op de vloer en wiebelt wanneer ze
lichtjes wordt verplaatst. Stel de hoogteschroeven anders in.
• De vloer is niet gelijk of stevig. Zorg dat de vloer vlak is en de koelkast kan
dragen.
Groenteladen zitten vast.
• De levensmiddelen kunnen de bovenzijde van de lade raken. Herschik de
levensmiddelen in de lade.
35
NL

Gelieve eerst deze gebruiksaanwijzing te lezen!
Beste klant,
We hopen dat uw product, dat in een moderne fabriek werd geproduceerd en onder
de meest nauwkeurige procedures voor kwaliteitscontrole werd gecontroleerd, u
doeltreffend van dienst zal zijn.
Wij bevelen daarom aan dat u eerst zorgvuldig de volledige gebruiksaanwijzing van
uw product leest voordat u het product gaat gebruiken. Bewaar de handleiding voor
toekomstige raadpleging.
Deze gebruiksaanwijzing
• …helpt u uw toestel snel en veilig te gebruiken.
• Lees de gebruiksaanwijzing voordat u het product installeert en gebruikt.
• Volg de instructies, in het bijzonder die met betrekking tot veiligheid.
• Bewaar de gebruiksaanwijzing op een eenvoudig toegankelijke plaats aangezien u
deze later nodig kunt hebben.
• Daarnaast dient u ook de andere documenten die bij uw product worden geleverd
te lezen.
Let erop dat deze gebruiksaanwijzing ook voor andere modellen kan gelden.
Symbolen en hun beschrijvingen
Deze instructiehandleiding bevat de volgende symbolen:
C Belangrijke informatie of nuttige gebruikstips.
A Waarschuwing tegen gevaarlijke omstandigheden voor leven en
eigendommen.
B Waarschuwing tegen elektrische spanning.
Dit product bevat het symbool voor selectief sorteren van afval van elektrische
uitrustingen en elektronica (WEEE).
Dit betekent dat dit product moet worden gehanteerd overeenkomstig de Europese
richtlijn 2002/96/EC ten einde te worden gerecycleerd of gedemonteerd om de impact
op het milieu te minimaliseren. Voor meer informatie, neem a.u.b. contact op met uw
plaatselijke of regionale overheid.
Elektronische producten die niet selectief gesorteerd worden, zijn potentieel gevaarlijk
voor het milieu en de gezondheid van de mens omwille van de aanwezigheid van
gevaarlijke stoffen.

INHOUD
1 Uw koelkast 3
4 Voorbereiding 20
1 Uw koelkast 4
5 Gebruik van uw koelkast 21
De temperatuur van het koelkastvak
2 Belangrijke
instellen ............................................. 22
veiligheidswaarschuwingen 5
De temperatuur van het diepvriesvak
Bedoeld gebruik................................... 5
instellen ............................................. 22
Voor producten met een waterdispenser; 7
Fresh Freeze Functie .......................... 22
Kinderbeveiliging .................................. 7
"Quick Cool" Functie .......................... 23
HCA-Waarschuwing ............................. 7
Vakantieknop ..................................... 23
Aanbevelingen voor het vak voor verse
KNop Auto Eco (Speciale economische
etenswaren .......................................... 8
functie)............................................... 23
Aanwijzingen ter besparing van energie 8
Ionisator ........................................... 23
3 Installatie 9
Knop Toetsvergrendeling .................... 23
Verlichting Waterdispenser ................. 23
Aandachtspunten bij het opnieuw
Selectie Water/IJstype ........................ 23
transporteren van uw koelkast .............. 9
IJs-/Waterdispenser ........................... 23
Alvorens de inwerkstelling van uw
koelkast ............................................... 9
Gebruik van de IJsdispenser .............. 24
Elektrische aansluiting ........................ 10
Ice Off (IJs Uit) ................................... 24
Afvoeren van de verpakking ............... 10
Gebruik van de waterdispenser .......... 25
Afvoeren van uw oude koelkast .......... 10
Wateropvanger .................................. 25
Plaatsing en installatie ........................ 10
Schuifschappen ................................. 25
Vloerafstelling ..................................... 10
Blauw licht ......................................... 26
Aanpassen van de opening tussen de
Ion: ................................................... 26
bovenste deur .................................... 13
Eierrek ............................................... 26
Waterfilter plaatsen ........................... 14
Fresh Freeze gedeelte ........................ 26
Aansluiting van de waterleiding op de
Vochtregeling van groenteladen .......... 26
koelkast ............................................. 15
Aanbeveling voor het bewaren van
Aansluiting van de waterslang op de
diepvriesvoedsel ................................ 26
kan ................................................... 17
Ontdooien .......................................... 27
Aansluiting van de waterleiding op de
Het binnenlichtje vervangen ................ 27
hoofdkoudwaterleiding ...................... 18
Chillervak ........................................... 27
(alleen bepaalde modellen) ................. 18
6 Onderhoud en reiniging 29
Voorafgaand aan het eerste gebruik van
de ijs-/waterdispenser ........................ 19
IJsbak en waterdispenser ................... 30
Minibar .............................................. 31
7 Aanbevolen oplossingen voor
problemen 32
2
FL

1 Uw koelkast
1. Diepvriesgedeelte
14. Deksel van groentelade
2. Koelgedeelte
15. Stelvoetjes aan de voorkant
3. Binnenlicht koelgedeelte
16. Blauw licht
4. Boter- en kaasdeksel
17. Waterreservoir
5. Ventilator
18. Ventilatiedeksel
6. Ionisator
19. Diepvriesladen
7. Glasplaten koelgedeelte
20. Glasplaten diepvriesgedeelte
8. Eierrek
21. Deksel ijskanaal
9. Deurvakken koelgedeelte
22. Binnenlampje diepvriesgedeelte
10. Wijnkelder
23. Fresh Freeze gedeelte
11. Flessenrekken
24. IJscontainer
12.
Flessenhouder
25. Minibar
13. Groentevakken
26. Koelvak
* FACULTATIEF
C De afbeeldingen in deze gebruiksaanwijzing zijn schematisch en hoeven niet exact met
uw product overeen te komen. Wanneer onderdelen niet tot het product behoren dat
u hebt gekocht, zijn deze geldig voor andere modellen.
3
FL
21
3
4
24
6*
5
23
7
22
21
25
8
*10
9
20
*12
11
*19
13
14
14
18
*17 *2616
5

1 Uw koelkast
1. Diepvriesgedeelte
14. Deksel van groentelade
2. Koelgedeelte
15. Stelvoetjes aan de voorkant
3. Binnenlicht koelgedeelte
16. Blauw licht
4. Boter- en kaasdeksel
17. Waterreservoir
5. Ventilator
18. Ventilatiedeksel
6. Ionisator
19. Diepvriesladen
7. Glasplaten koelgedeelte
20. Glasplaten diepvriesgedeelte
8. Eierrek
21. Deksel ijskanaal
9. Deurvakken koelgedeelte
22. Binnenlampje diepvriesgedeelte
10. Wijnkelder
23. Fresh Freeze gedeelte
11. Flessenrekken
24. IJscontainer
12.
Flessenhouder
25. Minibar
13. Groentevakken
26. Koelvak
* FACULTATIEF
C De afbeeldingen in deze gebruiksaanwijzing zijn schematisch en hoeven niet exact met
uw product overeen te komen. Wanneer onderdelen niet tot het product behoren dat
u hebt gekocht, zijn deze geldig voor andere modellen.
4
FL
21
3
*4
24
6
5
23
7
22
21
8
*10
9
20
*12
11
*19
13
14
14
18
*16 2617
5

2 Belangrijke veiligheidswaarschuwingen
• Voor producten met een diepvriesvak;
Gelieve de volgende informatie
Plaats geen flessen of blikjes met
goed te bestuderen. Verzuim deze
vloeibare dranken in het diepvriesvak.
informatie door te lezen kan letsel
Deze zouden kunnen barsten.
of materiële schade veroorzaken.
In dat geval worden alle garantie en
• Raak ingevroren voedingsmiddelen niet
betrouwbaarheidgaranties ongeldig.
met de hand aan; deze kunnen aan uw
hand vastplakken.
De levensduur van de unit die u heeft
aangekocht is 10 jaar. Dit is de periode
• Trek de stekker van uw koelkast
dat u benodigde reserveonderdelen
uit het stopcontact voordat u deze
dient te bewaren om de unit te laten
schoonmaakt of ontdooit.
werken zoals beschreven.
• Bij het schoonmaken en ontdooien
van de koelkast mogen geen stoom
en stoomreinigers gebruikt worden. De
Bedoeld gebruik
stoom kan in contact komen met de
Dit product is bedoeld voor gebruik
elektrische onderdelen en kortsluiting of
– binnen en in afgesloten ruimten zoals
een elektrische schok veroorzaken.
huizen;
• Gebruik geen onderdelen van uw
– in afgesloten werkomgevingen zoals
koelkast zoals de deur als steun of
winkels en kantoren;
opstapje.
– in afgesloten verblijfplaatsen zoals
• Gebruik geen elektrische apparaten
boerenhoeven, hotels, pensions.
binnen in de koelkast.
• Dit toestel mag niet buitenshuis
• Beschadig de onderdelen waar de
worden gebruikt.
koelvloeistof circuleert niet door boor-
of snijdgereedschap. De koelvloeistof
Algemene veiligheid
kan naar buiten geblazen worden
• Wanneer u het product wenst af te
wanneer de gasleidingen van de
voeren, raden wij u aan de bevoegde
verdamper, leidingverlengingen of
onderhoudsdienst te raadplegen om
oppervlaktecoatings worden doorboord
de benodigde informatie en bevoegde
en dit veroorzaakt huidirritatie en
instanties te leren kennen.
oogletsel.
• Raadpleeg uw bevoegde
• Dek of blokkeer de ventilatieopeningen
onderhoudsdienst voor alle vragen
van uw koelkast met geen enkel
en problemen met betrekking tot de
materiaal.
koelkast. Voer geen ingrepen aan
• Elektrische apparaten dienen slechts
de koelkast uit en laat dit ook niet
te worden gerepareerd door bevoegde
door iemand anders doen zonder de
personen. Reparaties die door
bevoegde onderhoudsdienst op de
onbevoegde personen worden leveren
hoogte te stellen.
een risico voor de gebruiker op.
• Voor producten met een diepvriesvak;
• In geval van storing of
Eet geen ijs of ijsblokjes onmiddellijk
tijdens onderhoud- of
nadat u deze uit het diepvriesvak heeft
reparatiewerkzaamheden, sluit de
gehaald! (Dit kan bevriezing in uw
stroomtoevoer van de koelkast af door
mond veroorzaken.)
de zekering uit te draaien of de stekker
5
FL

van het apparaat uit te trekken.
• Typeplaatje met technische specificaties
• Bij het uittrekken van de stekker deze
bevindt zich op de linkerbinnenwand in
niet aan de kabel uittrekken.
de koelkast.
• Plaats alcoholische dranken goed
• Sluit uw koelkast nooit aan op een elek
afgesloten en verticaal.
triciteitsbesparingssysteem; dit kan de
• Bewaar nooit spuitbussen met
koelkast beschadigen.
ontvlambare en explosieve substanties
• Als er zich een blauw lampje op de
in de koelkast.
koelkast bevindt dient u hier niet naar te
• Gebruik geen andere mechanische
kijken door optische instrumenten.
toestellen of andere middelen om het
• Voor handbediende koelkasten wacht u
ontdooiingproces te versnellen dan
na een stroomonderbreking tenminste
die toestellen of middelen die door de
5 minuten voordat u de koelkast in
fabrikant worden aangeraden.
werking stelt.
• Dit product is niet bedoeld te worden
• Deze gebruikershandleiding moet aan
gebruikt door personen met fysieke,
de nieuwe eigenaar van het toestel
zintuiglijke of mentale afwijkingen of
gegeven worden wanneer het toestel
personen met gebrek aan kennis
doorgegeven wordt.
of ervaring (inclusief kinderen) mits
• Voorkom het veroorzaken van schade
deze worden bijgestaan door
aan de stroomkabel indien u de
een persoon die verantwoordelijk
koelkast verplaatst. Het knikken van
is voor hun veiligheid of die hen
de kabel kan brand veroorzaken.
dienovereenkomstig instrueert hoe het
Plaats nooit zware voorwerpen op de
product te gebruiken.
stroomkabel. Raak de stekker niet aan
• Gebruik geen beschadigde koelkast.
met natte handen wanneer deze in het
Raadpleeg de servicedienst in geval
stopcontact wordt geplaatst.
van twijfel.
• Elektrische veiligheid van uw koelkast
wordt alleen gegarandeerd wanneer
het aardingssysteem in uw huis aan de
normen voldoet.
• Blootstelling van het product aan regen,
sneeuw, zon en wind is gevaarlijk met
betrekking tot de elektrische veiligheid.
• Neem bij schade aan de stroomkabel
contact op met de bevoegde
• Sluit de koelkast niet aan als het
servicedienst om gevaar te voorkomen.
wandcontactdoos los zit.
• Steek tijdens installatie nooit de stekker
• Er mag geen water rechtstreeks op
van de koelkast in het stopcontact.
de binnen- of buitendelen van het
Er bestaat een kans op overlijden of
toestel gesproeid worden omwille van
serieus letsel.
veiligheidsredenen.
• Deze koelkast is slechts bedoeld voor
• Spray geen substanties die
de opslag van voedselwaren. Het dient
ontvlambaar gas bevatten,
niet gebruikt te worden voor andere
zoals propaangas, in de buurt
doeleinden.
6
FL

van de koelkast om brand en
kunnen de aangrenzende zijwanden
ontploffingsgevaar te voorkomen.
vochtig worden.
• Plaats nooit bakjes met water
bovenop de koelkast, want deze
Voor producten met een
kunnen elektrische schokken of brand
waterdispenser;
veroorzaken.
De waterleidingdruk dient minstens 1
• Overvul uw koelkast niet met
bar te bedragen. De waterleidingdruk
overmatige hoeveelheden voedsel.
mag maximaal 8 bar te bedragen.
In geval van overbelasting kunnen bij
• Gebruik alleen drinkwater.
opening van de deur de voedselwaren
naar beneden vallen en u bezeren en
Kinderbeveiliging
de koelkast beschadigen. Plaats nooit
voorwerpen bovenop de koelkast;
• Indien de deur een slot heeft, moet de
deze voorwerpen kunnen bij opening
sleutel buiten het bereik van kinderen
of sluiting van de koelkastdeur naar
woren gehouden.
beneden vallen.
• Kinderen dienen onder toezicht te
• Omdat vaccins, hittegevoelige
staan om te voorkomen dat ze aan het
medicatie, wetenschappelijke
product komen.
materialen, enz. een nauwkeurige
temperatuur vereisen dienen deze niet
HCA-Waarschuwing
in koelkast bewaard te worden.
Indien het koelsysteem van uw
• Als de koelkast voor een langere
product R600a bevat:
tijd niet wordt gebruikt dient de
Dit gas is ontvlambaar. Zorg daarom
stekker uit het stopcontact te worden
tijdens gebruik en transport dat het
getrokken. Een mogelijk probleem in de
koelsysteem en de leidingen niet
stroomkabel kan brand veroorzaken.
beschadigd raken. In het geval van
• Het stekkeruiteinde dient regelmatig
beschadiging, uw product buiten
schoongemaakt te worden, want kan
bereiken van potentiële vuurbronnen
anders brand veroorzaken.
houden. Deze kunnen maken dat het
• Het stekkeruiteinde moet regelmatig
product vlam vat. De ruimte waarin het
worden schoongemaakt met een droog
toestel is geplaatst ventileren.
doek, anders bestaat er brandgevaar.
U kunt deze waarschuwing negeren
• De koelkast kan bewegen indien de
als het koelsysteem van uw product
stelpoten niet juist op de vloer zijn
R134a bevat.
bevestigd. Het juist bevestigen van de
Het gastype dat het product gebruikt is
stelpoten op de vloer kan voorkomen
aangegeven op het typeplaatje dat zich
dat de koelkast beweegt.
op de linkerbinnenwand in de koelkast
• Als u de koelkast optilt dient u dit niet te
bevindt.
doen aan de hendel. Anders kan deze
Steek het product om u zich ervan te
breken.
ontdoen nooit in de brand.
• Indien u uw product naast een andere
koelkast of vriezer moet plaatsen,
dient de afstand tussen de apparaten
minstens 8 cm bedragen. Anders
7
FL

Aanwijzingen ter besparing
Aanbevelingen voor het vak
van energie
voor verse etenswaren
• Houd de deuren van uw koelkast niet
* FACULTATIEF
lang open.
• Plaats geen warme voedingsmiddelen
• Zorg ervoor dat de temperatuursensor
of dranken in de koelkast.
in het vak voor verse etenswaren niet in
• Overlaad de koelkast niet zodat
contact komt met etenswaren. Om het
luchtcirculatie aan de binnenzijde niet
vak op de ideale bewaartemperatuur te
geblokkeerd wordt.
behouden mag de sensor niet bedekt
• Plaats de koelkast niet in direct zonlicht
zijn met etenswaren.
of naast warmteafgevende apparaten
• Plaats geen warme etenswaren in uw
zoals een oven, vaatwasser of radiator.
apparaat.
• Bewaar uw voedingsmiddelen in
gesloten bakjes.
• Voor producten met een diepvriesvak;
U kunt de maximum hoeveelheid
voedselwaren in de diepvriezer
bewaren als u het schap of de
diepvrieslade verwijdert. De
vastgestelde energieverbruikwaarde
voor uw koelkast is bepaald bij
verwijderd diepvriesschap of -lade en
bij maximale lading. Er bestaat geen
risico bij het gebruik van een schap of
lade volgens de vorm en grootte van de
in te vriezen voedingsmiddelen.
• Het ontdooien van ingevroren voedsel
in het koelkastgedeelte voorziet in
energiebesparing en behoud van de
voedselkwaliteit.
8
FL
MILK
temperature
juice
food
sensor
temperature
etc.
sensor
MILK
temperature
juice
sensor
food
temperature
etc.
sensor

3 Installatie
3. Steek de stekker van de koelkast in het
C De fabrikant kan niet aansprakelijk
stopcontact. Wanneer de deur wordt
worden gesteld indien de informatie van
geopend, zal het binnenlichtje aangaan.
deze gebruiksaanwijzing niet in acht
wordt genomen.
4. U zult een geluid horen wanneer de
compressor opstart. De vloeistof en
Aandachtspunten bij het
de gassen die zich in het koelsysteem
opnieuw transporteren van
bevinden, zouden ook wat lawaai
uw koelkast
kunnen veroorzaken zelfs wanneer de
1. Voor transport dient de koelkast leeg en
compressor niet werkt. Dit is normaal.
schoon te zijn.
5. De buitenkant van de koelkast kunnen
2. In verband met schokken moeten de
warm aanvoelen. Dit is normaal. Deze
schappen, accessoires, groentelade
oppervlakken zijn bedoeld om warm
enz. in uw koelkast met plakband
te worden om condensvorming te
vastgezet worden voordat de koelkast
voorkomen.
opnieuw wordt verpakt.
3. Verpakking moet worden
vastgebonden met dikke tape en sterke
touwen en de transportregels, gedrukt
op de verpakking, moeten opgevolgd
worden.
C Vergeet nooit...
Ieder gerecycled materiaal is een
essentiële bron voor de natuur en onze
nationale bronnen.
Indien u een bijdrage wilt leveren aan
recycling van verpakkingsmateriaal, kunt
u meer informatie krijgen bij de milieu-
instanties of plaatselijke autoriteiten.
Alvorens de inwerkstelling
van uw koelkast
Alvorens u uw koelkast gaat gebruiken,
controleer of:
1. De binnenzijde van de koelkast
schoon is en de luchtcirculatie aan de
achterzijde vrij kan plaatsvinden?
2. Maak de binnenkant van de koelkast
proper, zoals aanbevolen in het
hoofdstuk "Onderhoud en reiniging".
9
FL

Elektrische aansluiting
A Voordat u uw koelkast afvoert, snijd
Sluit uw koelkast aan in een geaard
de elektrische stekker af. Indien
stopcontact, beschermd door een
het apparaat is uitgevoerd met
zekering, met de juiste capaciteit.
deursluitingen, dit slot dan onbruikbaar
maken om kinderen tegen gevaar te
Belangrijk:
beschermen.
B De aansluiting moet in naleving zijn met
Plaatsing en installatie
nationale voorschriften.
B De stekker van de stroomkabel moet
B
Voorzichtig: Steek tijdens installatie
na installatie eenvoudig bereikbaar zijn.
nooit de stekker van de koelkast in de
wandcontactdoos. Er bestaat een kans
B De spanning en de toegestane
op overlijden of serieus letsel.
zekeringsbescherming zijn
gespecificeerd in het deel "Technische
A Wanneer de toegangsdeur van
specificaties".
de kamer waar de koelkast geplaatst
moet worden niet breed genoeg is om
B De gespecificeerde spanning moet
de koelkast door te voeren, bel dan de
gelijk zijn aan uw netspanning.
bevoegde onderhoudsdienst om de
B Verlengkabels en meerwegstekkers
deuren van uw koelkast te verwijderen
mogen voor aansluiting niet worden
en de koelkast overdwars door de deur
gebruikt.
te dragen.
B Een beschadigd netsnoer moet
1. Installeer uw koelkast op een
door een erkende elektricien worden
eenvoudig bedienbare plaats.
vervangen.
2. Houd uw koelkast weg van
B Het toestel mag niet in wekring worden
hittebronnen, vochtige ruimten en direct
gesteld voordat het is hersteld! Gevaar
zonlicht.
op een elektrische schok!
3. Voor een efficiënte werking moet
Afvoeren van de verpakking
er voldoende luchtventilatie rondom
A
De verpakkingsmaterialen
uw koelkast aanwezig zijn. Indien de
kunnen gevaarlijk zijn voor kinderen.
koelkast in een nis in de muur wordt
Houd het verpakkingsmateriaal buiten
geplaatst, moet er een afstand van
bereik van kinderen of voer deze af
minstens 5 cm zijn tot het plafond en
conform afvalinstructies. Gooi het
minstens 5 cm tot de muur.
materiaal niet weg bij het normale
Wanneer de vloer met tapijt bedekt is,
huishoudelijk afval.
moet uw product 2,5 cm van de vloer
De verpakking van uw koelkast is
worden geplaatst.
vervaardigd uit herbruikbare materialen.
4. Plaats uw koelkast waterpas op een
Afvoeren van uw oude
vlak grondoppervlak om wiebelen te
koelkast
voorkomen.
Voer uw oude machine af zonder het
5. Plaats uw koelkast niet in
milieu op enige wijze te schaden.
omgevingstemperaturen onder 10°C.
A U kunt uw bevoegde dealer of het
Vloerafstelling
afvalcentrum van uw gemeente
Wanneer uw koelkast niet waterpas
raadplegen over het afvoeren van uw
staat;
koelkast.
10
FL

