Eneo PTB-1025F13: DE DE EN EN FR FR PL PL RU RU
DE DE EN EN FR FR PL PL RU RU: Eneo PTB-1025F13

Installation
Support Easy Bracket et support standard
DE
DE
EN
EN
FR
FR
PL
PL
RU
RU
Le support Easy Bracket ne peut pas être fixé au plafond.
Une fois fixé au mur, l’attache pour le support de fixation Easy
Bracket ⓚ doit être positionnée vers le haut.
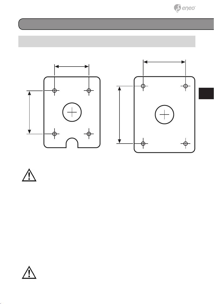
1. Effectuer les perçages en utilisant le gabarit joint.
2. Insérer les chevilles dans les perçages
2a. Easy Bracket: Positionner l’EASY
BRACKET à l’endroit foré.
Fixer l’EASY BRACKET à l’aide des
vis de fixation murale.
3. Acheminez le câble vidéo/de courant/audio/alarm/réseau vers le point
de connexion.
Veillez à ne PAS endommager, déformer ou exposer
le câble dans une zone dangereuse.
35
35
56
76
56
45
57
76
45
57

La caméra peut fonctionner en 24AC ou en 12VDC ainsi qu’avec une
alimentation bitension et par PoE (IEEE Std. 802.3af). En cas d’utilisation
d’une alimentation électrique 12VDC ou 24VAC, veuillez procéder comme
suit :
• Assurez-vous que l’alimentation secteur est déconnectée avant
l’installation.
• Respectez la séquence de mise sous tension.
Connectez d’abord le connecteur basse tension (12VDC ou 24VAC), puis
l’adaptateur CA aux sorties de courant alternatif afin d’éviter une réinitialisa-
tion inopportune due à une instabilité de l’alimentation et des dommages
en cas de surtension sans charge.
Pour communiquer avec la caméra réseau, celle-ci doit être reliée à un câb-
le RJ-45 standard. En général, un câble croisé est utilisé pour établir une
connexion directe au PC. Un câble direct sert plutôt en cas de connexion à
un hub/switch.
4a. Easy Bracket: Accrocher le sup-
4b. Support standard: Positionner les
port de fixation ⓘ à l’attache ⓚ.
pieds du support sur les perçages
5a. Easy Bracket: Fixer le pied du
(4x).
support ⓒ sur l’EASY BRACKET
5b. Support standard: Fixer le sup-
à l’aide des boulons (4) à travers
port à l’aide de vis
l’orifice de montage du pied
(4x) ⓓ.
6. Réglez l’angle de la caméra (panoramique, inclinaison).
Le panoramique est limité à +/- 90°.
L’inclinaison est limitée à une fourchette de 0° (2°) min ~ 90° max. pour
une installation murale (au plafond) par
3636

rapport au plafond lorsque l’inclinaison du module caméra est à 0°, c’est-à-
dire lorsque l’image est alignée horizontalement.
DE
DE
EN
EN
FR
FR
PL
PL
RU
RU
L’inclinaison est limitée à +/-90° max.
Configuration réseau
Accès à la caméra
L’adresse IP par défaut de la caméra est : 192.168.1.10. Pour un premier
accès à la caméra, veuillez donc paramétrer l’adresse IP du PC comme
suit: 192.168.1.XXX. Exemple:
Adresse IP : 192.168.1.20
Masque de sous-réseau : 255.255.255.0
• Saisissez l’adresse IP de la caméra dans la barre d’adresse URL de la
fenêtre du navigateur Web et appuyez sur la touche « Entrée ».
• Saisissez le nom d’utilisateur par défaut (root) et le mot de passe (root)
dans la boîte d’invite.
37
37

Il est également possible de réinitialiser les paramètres IP originaux par
défaut en appuyant pendant 10 secondes sur le commutateur de réinitiali-
sation de l’IP situé à côté du connecteur de sous-sortie vidéo.
ActiveX sera automatiquement téléchargé et installé après l’ouverture de
session et après une confirmation.
Si Windows XP Service Pack 2 ou une version ultérieure est installée sur
votre ordinateur, un message d’information apparaîtra à l’écran, comme ci-
dessous. Cliquez sur ce message.
3838

Si le message d’information n’apparaît pas en raison notamment d’une
défaillance du réseau, vous pouvez procéder à l’installation manuelle.
Cliquez sur « Install ActiveX Control », et la fenêtre contextuelle apparaîtra.
DE
DE
EN
EN
FR
FR
PL
PL
RU
RU
Une fois l’installation terminée, la fenêtre du Smart Viewer sera affi chée à
l’écran.
Attribution d’une adresse IP
Pour attribuer une adresse IP à la caméra, veuillez procéder comme suit :
cliquez sur « Network Confi guration » (Confi guration réseau) dans le menu
« Network Confi guration ».
39
39

En fonction du type de service, la confi guration réseau peut être soit « Sta-
tic IP » (IP statique), « DHCP Client » (Client DHCP), ou PPPoE. Vous devez
confi gurer la caméra réseau en fonction de votre type de réseau.
En cas d’utilisation d’une adresse IP statique, sélectionnez « Static IP » et
saisissez les valeurs de l’adresse IP, du masque de sous-réseau, de la pas-
serelle ainsi que le DNS1 et le DNS2. Cliquez ensuite sur « apply » (appli-
quer) pour enregistrer votre confi guration. Le programme vous invitera alors
à fermer le navigateur Web pour procéder à une mise à jour qui durera de
20 à 30 secondes.
Pour l’option DHCP, l’environnement réseau doit comporter un serveur
DHCP. Sélectionnez « DHCP Client » (Client DHCP) dans le menu « Net-
work Confi guration » (Confi guration réseau). Cliquez ensuite sur « Apply ».
4040
Table of contents
- DE EN FR PL RU
- DE DE EN EN FR FR
- DE DE EN EN
- DE DE
- DE DE EN EN FR FR PL PL RU RU
- DE DE EN EN FR FR
- DE DE EN EN FR FR PL PL RU RU
- DE
- DE EN FR PL RU
- DE EN FR
- DE EN FR PL RU
- DE
- DE EN FR
- DE DE
- DE DE EN EN FR FR PL PL RU RU
- DE DE EN EN FR FR PL PL
- DE DE EN EN FR FR PL PL RU RU
- DE DE EN EN
- DE DE
- DE DE EN EN FR FR PL PL RU RU
- DE DE EN EN FR FR
- DE DE EN EN FR FR PL PL RU RU
- DE DE
- DE DE EN EN FR FR PL PL RU RU
- DE DE
- DE DE EN EN FR FR PL PL RU RU

