Eneo PTB-1025F13: DE DE
DE DE: Eneo PTB-1025F13

Złącze BNC
12 V prądu stałego lub 24
V prądu przemiennego
24 V prądu przemiennego/
masa
TX+ (szary)
DE
DE
TX- (biały)
EN
EN
FR
FR
RX+ (żółty)
PL
PL
RX- (niebieski)
RU
RU
KABEL SIECIOWY
ZE ZŁĄCZEM RJ-
45 I ZAŚLEPKĄ
ZABEZPIECZAJĄCĄ
SD Card Slot
IP Reset
Złącze VIDEO
Złącze
SUB-OUT
USB
Specyfikacje techniczne
Rodzaj ochrony (IP / IK):
IP67
Zakres temperatur pracy:
-35°C ~ +50°C
Pobór mocy:
12W max.
Wymiary:
100mm x 107.8mm x 277mm
Waga:
1,5kg
49
49

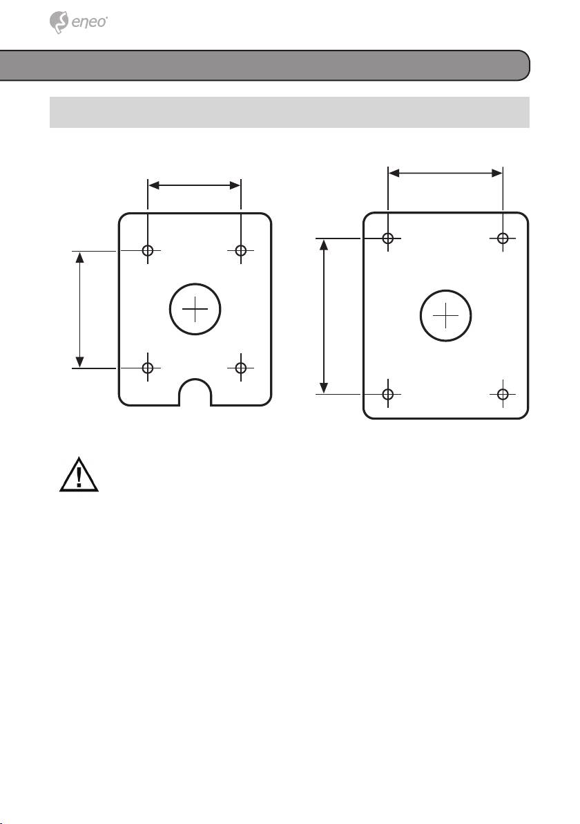
Instrukcja instalacji
wygodnego wspornika montażowego i standard wspornika
PRZESTROGA: Wygodnego wspornika montażowego nie można
montować na ścianie. W przypadku instalacji ściennej, kołek dla
haka do wygodnego wspornika montażowego ⓚ musi zostać
skierowany w górę.
1. Wywierć otwory, używając szablonu dostępnego w zestawie.
2. Włóż kotwy w wywiercone otwory.
2a. Wygodnego wspornika
montażowego: Dopasuj WYGOD-
NY WSPORNIK MONTAżOWY do
pozycji wywierconych otworów.
Zamontuj WYGODNY WSPORNIK
MONTAżOWY za pomocą śrub
montażowych ściennych.
3. Poprowadzić przewody zasilające i przewody wideo do punktu
podłączenia.
5050
56
76
45
57
56
76
45
57

Należy zwrócić szczególną uwagę, aby NIE uszkodzić, nie załamać
przewodów ani nie umieścić ich w strefach zagrożenia.
Kamera może być zasilana prądem przemiennym 24 V lub stałym 12 V, a
także pracować w standardzie PoE (Power over Ethernet, IEEE 802.3af).
Korzystając z zasilania prądem stałym 12 V lub przemiennym 24 V, należy
wykonać następujące czynności:
DE
DE
• Przed rozpoczęciem instalacji należy upewnić się, że zasilanie jest
odłączone.
EN
EN
• Należy przestrzegać odpowiedniej kolejności przy podłączaniu zasilania.
FR
FR
Najpierw podłącz niskie napięcie (12V prądu stałego lub 24V prądu
PL
PL
przemiennego), a następnie podłącz zasilacz do gniazda sieciowego, aby
uniknąć przypadkowego skasowania pamięci urządzenia w wyniku wahania
RU
RU
napięcia lub uszkodzenia w wyniku skoku napięcia przy braku obciążenia.
Aby zapewnić komunikację z kamerą sieciową, należy podłączyć do
niej standardowy kabel RJ-45. Kabel krzyżowy jest wymagany przy
bezpośrednim podłączeniu do komputera, a kabel prosty – przy
podłączeniu do koncentratora lub przełącznika.
4a. Wygodnego wspornika
4b. Standard wspornika: Dopasuj
montażowego: Połącz hak ⓘ z
stopkę wspornika do pozycji wywier-
kołkiem ⓚ.
conych otworów (4x).
5a. Wygodnego wspornika
5b. Standard wspornika: Zamontuj
montażowego: Zamontuj stopkę
wspornik za pomocą śrub.
wspornika ⓒ do WYGODNEGO
WSPORNIKA MONTAżOWEGO za .
pomocą śrub z łbem do klucza przez
otwór montażowy stopki (4x) ⓓ.
6. Ustawić kąt kamery (obrót, pochylenie nachylenie)
51
51

Panorama jest ograniczona do +/-90°.
Pochylenie jest ograniczone do 0°(2°) min. ~ 90° maks. odpowiednio
dla instalacji ściennej i sufitowej w odniesieniu do sufitu, kiedy nachylenie
modułu kamery wynosi 0°, czyli obraz jest wyregulowany w poziomie.
Nachylenie jest ograniczone maks. do
+/-90°.
Konfiguracja sieci
Dostęp do kamery
Domyślny adres IP kamery jest następujący: 192.168.1.10. Aby za
pierwszym razem uzyskać dostęp do kamery kopułowej IP, należy ustawić
5252

adres IP komputera w postaci: 192.168.1.XXX; na przykład:
Adres IP: 192.168.1.20
Maska podsieci: 255.255.255.0
• W pasku adresu znajdującym się w oknie przeglądarki internetowej
należy wprowadzić adres IP kamery i nacisnąć klawisz „Enter”.
• W wyświetlonym oknie dialogowym należy wprowadzić domyślną nazwę
użytkownika (root) i hasło (root).
DE
DE
Można również przywrócić domyślne ustawienia fabryczne parametrów IP,
EN
EN
naciskając na 10 sekund przełącznik przywracania ustawień fabrycznych IP
FR
FR
znajdujący się obok złącza VIDEO SUB-OUT.
PL
PL
RU
RU
Po zalogowaniu się oraz potwierdzeniu automatycznie pobrane zostaną
narzędzia ActiveX.
W przypadku korzystania z systemu Windows XP z dodatkiem Service Pack
2 lub nowszym zostanie wyświetlony komunikat informacyjny przedstawiony
poniżej. Należy kliknąć ten komunikat informacyjny.
53
53

Jeśli komunikat informacyjny nie zostanie wyświetlony, np. z powodu proble-
mu z siecią, można rozpocząć instalację ręcznie.
Kliknij polecenie Zainstaluj formant ActiveX, aby wyświetlić wyskakujące
okienko.
Po pomyślnym zakończeniu instalacji zostanie wyświetlone okno
przeglądarki Smart Viewer.
5454
Table of contents
- DE EN FR PL RU
- DE DE EN EN FR FR
- DE DE EN EN
- DE DE
- DE DE EN EN FR FR PL PL RU RU
- DE DE EN EN FR FR
- DE DE EN EN FR FR PL PL RU RU
- DE
- DE EN FR PL RU
- DE EN FR
- DE EN FR PL RU
- DE
- DE EN FR
- DE DE
- DE DE EN EN FR FR PL PL RU RU
- DE DE EN EN FR FR PL PL
- DE DE EN EN FR FR PL PL RU RU
- DE DE EN EN
- DE DE
- DE DE EN EN FR FR PL PL RU RU
- DE DE EN EN FR FR
- DE DE EN EN FR FR PL PL RU RU
- DE DE
- DE DE EN EN FR FR PL PL RU RU
- DE DE
- DE DE EN EN FR FR PL PL RU RU

