Eneo PTB-1025F13: DE DE EN EN
DE DE EN EN: Eneo PTB-1025F13

BNC
AC24V/DC12V
AC24V/GND
TX+ (grau)
TX- (weiß)
DE
DE
EN
EN
RX+ (gelb)
FR
FR
RX- (blau)
PL
PL
LAN CABLE mit
RU
RU
RJ-45 und Schutz-
kappe
IP Reset
VIDEO SUB-OUT
USB An-
Anschluss
schluss
Technische Spezifikationen
Schutzart (IP / IK):
IP67
Temperaturbereich (Betrieb):
-35°C ~ +50°C
Leistungsaufnahme:
12W max.
Abmessungen:
100mm x 107.8mm x 277mm
Gewicht:
1,5kg
5
5

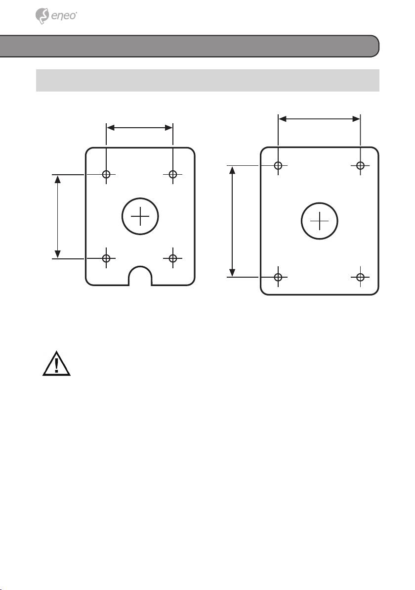
Installation
Die „Easy Bracket”-Halterung kann nicht an der Decke angebracht
werden.Bei Installation an der Wand muss die Lasche für den
„Easy Bracket”-Haken ⓚ nach oben zeigen.
1. Bohren Sie die Löcher mit der mitgelieferten Bohrschablone.
2. Stecken Sie die Dübel in die gebohrten Löcher
2a. Easy Bracket: Positionieren Sie
die „Easy Bracket”-Halterung auf
den Bohrlöchern. Befestigen Sie die
„Easy Bracket”-Halterung mit den
Wandbefestigungsschrauben.
3. Verlegen Sie die Kabel bis zum Anschlusspunkt und verbinden Sie Au-
dio-, Spannungs-, Alarm- und LAN-Kabel nach Bedarf.
66
56
76
56
45
57
76
45
57
Easy Bracket und Standard Bracket
Table of contents
- DE EN FR PL RU
- DE DE EN EN FR FR
- DE DE EN EN
- DE DE
- DE DE EN EN FR FR PL PL RU RU
- DE DE EN EN FR FR
- DE DE EN EN FR FR PL PL RU RU
- DE
- DE EN FR PL RU
- DE EN FR
- DE EN FR PL RU
- DE
- DE EN FR
- DE DE
- DE DE EN EN FR FR PL PL RU RU
- DE DE EN EN FR FR PL PL
- DE DE EN EN FR FR PL PL RU RU
- DE DE EN EN
- DE DE
- DE DE EN EN FR FR PL PL RU RU
- DE DE EN EN FR FR
- DE DE EN EN FR FR PL PL RU RU
- DE DE
- DE DE EN EN FR FR PL PL RU RU
- DE DE
- DE DE EN EN FR FR PL PL RU RU

