Juki HZL 27Z: инструкция
Раздел: Швейное Оборудование
Тип: Швейная Машина
Инструкция к Швейной Машиной Juki HZL 27Z
Характеристики, спецификации
HZL
■
JUKI
INSTRUCTION MANUAL
MANUAL DE INSTRUCCION
ИНСТРУКЦИЯ ПО ЭКСПЛУАТАЦИИ
ОСНОВНЫЕ УКАЗАНИЯ ПО ТЕХНИКЕ БЕЗОПАСНОСТИ
При пользовании данным электротехническим устройством следует соблюдать основные меры
безопасности, приведенные ниже.
Ознакомьтесь с ними перед работой на швейной машине.
ОПАСНО
н Для снижения риска поражения электричеством:
1. Швейную машину никогда не оставляйте без внимания во включенном состоянии. Немедленно
вынимайте штепсель машины из электрической розетки после работы на машине и перед чисткой.
п IIн я А 1-11^1 С Для снижения риска загорания, пожара, поражения электрическим током и
О П г11¥1
г1 С “ травм у работающих:
1. Не позволяйте использовать машину в качестве игрушки. Необходима особая внимательность при
работе на швейной машине рядом с детьми.
2. Данное устройство не предназначено для использования людьми (включая детей) с ограниченными
физическими и умственными способностями, с недостаточным опытом и знаниями, в случае, если
им не были предоставлены соотвествующие инструкции и надзор при использовании устройства со
стороны людей, ответственных за их безопасность. Необходимо осуществлять контроль за детьми во
избежание игр с устройством.
3. Используйте швейную машину только по ее назначению в соответствии с настоящей Инструкцией.
Используйте только те принадлежности, которые рекомендованы изготовителем и приведены в Инструкции.
4. Никогда не работайте на швейной машине при поврежденных шнуре питания или вилке, если машина
работает неправильно, если ее роняли и повредили, или же она попала в воду. Возвратите машину
ближайшему официальному дилеру или в сервисный центр для обследования, ремонта, электрических
или механических регулировок.
5. Если шнур питания поврежден, его необходимо заменить у поставщика, его сервисного агента или у
уполномоченного квалифицированного персонала, во избежание увечий.
6. Никогда не работайте на щвейной машине, если у нее засорены какие-либо воздушные отверстия.
Содержите вентиляционные отверстия машины и педаль управления свободными от текстильного
волокна, пыли и обрезков ткани.
7. Не допускайте попадания посторонних предметов в какое-либо из отверстий машины.
8. Только для использования в помещениях.
9. Не работайте там, где применяются вещества в аэрозольной упаковке или чистый кислород.
10. Для отсоединения машины поверните основной выключатель в положение «0» (ОТКЛЮЧЕНО), затем
выньте вилку из розетки.
11. Выключайте или вынимайте из розетки устройство, когда оставляете его без присмотра. Выключайте
устройство из розетки при выполнении ремонта или при замене ламп.
12. Не отключайте машину, выдергивая шнур питания. При отключении держите рукой вилку, а не шнур.
13. Оберегайте пальцы рук от всех подвижных частей. Особая осторожность необходима в зоне движения иглы.
14. Не шейте при поврежденной игольной пластине, так как это может вызвать поломку иглы.
15. Не пользуйтесь гнутыми иглами.
16. Не подтягивайте и не подталкивайте ткань при шитье. Это может отогнуть иглу и вызвать ее поломку.
17. Отключайте швейную машину (положение «0») при выполнении любых регулировок в зоне иглы, таких
как заправка иглы нитью, смена иглы, намотка шпульки, замена прижимной лапки и т.д.
18. Всегда вынимайте штепсель швейной машины из электрической розетки при снятии крышек, смазке
машины и осуществлении всех регулировок, упомянутых в настоящей Инструкции по эксплуатации.
19. Во избежание электрического удара, не допускайте контакта машины или основной проводки с водой
или другими жидкостями.
20. Максимальная мощность лампы - 0,25\Л/, максимальное напряжение ОС 5\/, в случае, если лампа
повреждена, не сипользуйте продукт и отправьте его для ремонта или замены производителю или
сервисному агенту.
21. Во избежание травм соблюдайте следующие условия:
- отключайте ножную педаль устройства, если оставляете его без грисмотра:
^ - отключайте ножную педаль устройства при выполнении любого обслуживания
Движущиеся
ОСТОРОЖНО-
части - Во избежание получения травм отключайте
машину перед обслуживанием. Закройте крышку
перед работой на машине.
Не эксплуатируйте швейную машину под прямым
солнечным светом, возле плиты, утюгов, свечей или
иных источников высокой температуры, в противном
случае, из-за повышения внутренней температуры
швейной машины, возможен пожар или поражение
электрическим током в результате повреждения
виниловой изоляции шнура питания.
СОХРАНИТЕ
НАСТОЯЩИЕ УКАЗАНИЯ
Эта швейная машина предназначена только для
домашней или аналогичной работы.
Ножной привод (только для США
и Канады)
Используйте модель К0-1902 для данной швейной машины.
Поляризованные вилки (только
для США и Канады)
Данное устройство имеет поляризованную вилку (один штекер
шире другого). Во избежание электрического удара, данная
вилка может быть вставлена в розетку только одним путем.
В случае, если вилка не подходит к розетке, переверните
вилку, если она все еще не подходит, свяжитесь с электриком
для установки подходящей розетки. Не переделывайте вилку
самостоятельно.
Данная машина отвечает
требованиям Директивы
ЕЕС 2004/108/ЕС в части
электромагнитной совместимости.
УТИЛИЗАЦИЯ:
не утилизируйте даный продукт вместе
с другим неотсортированным мусором.
Воспользуйтесь специальными службами.
TABLE OF CONTENTS
Machine identification.................................................5-8
Setting up your machine................................................9
Foot controller. Power switch
Accessories................................................................. 10
Spool pins................................................................... 11
Winding the bobbin......................................................12
Threading the bobbin thread....................................... 13
Threading the top thread............................................. 14
Using automatic needle threader................................ 15
Picking up bobbin thread.............................................16
Changing presserfoot.................................................. 17
Converting to free-arm sewing.................................... 18
Machine setting chart.............................................19-21
Straight stitch......................................................... 22-29
Reverse stitch lever................................................. 24
Sewing on heavy fabric........................................... 25
Adjusting straight stitch thread tension....................26
Needle, thread and fabric chart.......................... 27 - 28
Changing the needle............................................... 29
Zigzag stitching, Satin stitch........................................30
Three-point zigzag...................................................... 31
Blind stitch................................................................... 32
Faggoting.................................................................... 33
Shell stitch................................................................... 34
Stretch stitches.......................................................35-37
Triple straight stitch, Ric-rac stitch, Feather stitch...36
Overlock stitch. Herringbone stitch..........................37
Decorative embroidery designs...................................38
Buttonhole sewing................................................. 39-41
Procedure................................................................ 40
Corded buttonholes, Adjusting stitch length (density) .41
Caring for your machine.........................................42 - 43
Cleaning the feed dogs and shuttle area
Cleaning the sewing machine and foot controller
Check chart for performance problems..................44 - 45
Dimensions: 398 mm 198 mm >< 280 mm
Mass of the equipment: 5.9 kg
Rated Voltage: 120V, 220 - 230 V ~
Rated Frequency: 50 / 60 Hz
Rated input: 60W
Using ambient temperature: Normal temperature
Acoustic noise level: less than 72db(A)
CONTENIDO
Identificación de la máquina...................................... 5 - 8
Preparación de la máquina........................................... 9
Control por pedal. Interruptor corriente/luz
Accesorios...................................................................10
Spool pins................................................................... 11
Devanado de la canilla................................................12
Enhebrado del hilo de la canilla.................................. 13
Enhebrado del hilo superior...................................... 14
Empleo del enhebrador aguja..................................... 15
Recogida del hilo de la canilla.................................... 16
Cambio del pie prénsatelas.........................................17
Conversión para la costura con brazo........................ 18
Esquema de ajuste de la máquina........................ 19-21
Puntada recta ........................................................22 - 29
Palanca de la puntada de retroceso....................... 24
Cosiendo materiales pesados................................. 25
Ajuste de la tensión del hilo superior.......................26
Tabla de hilo, aguja y material............................27 - 28
Cambio de la aguja..................................................29
Punto de zigzag. Puntada de relleno.......................... 30
Zig-zag de tres puntadas............................................ 31
Puntada invisible......................................................... 32
Fagoting (Diente de rata)............................................ 33
Puntada de lenceria.................................................... 34
Puntadas elásticas.................................................35 - 37
Puntada recta triple, Puntada zig-zag a dos agujas.
Puntada pluma........................................................ 36
Puntada overlook, Puntada espina......................... 37
Diseños de bordados decorativos...............................38
Cambiar el pie prénsatelas al pie prénsatelas de ojales 39-41
Procedimiento......................................................... 40
Ojales con cordón, Ajuste de la longitud puntada (densidad)... 41
Cuide su maquina.................................................. 42 - 43
Limpiar el area del transportador y la lanzadera
Limpieza de la máquina de coser y del regulador del pie
Cuadro de examen para los problemas de ejecución.... 44 - 45
Dimensiones: 398 mm x 198 mm x 280 mm
Peso del equipo: 5,9 kg
Voltaje nominal: 120V, 220 - 230 V ~
Frecuencia nominal: 50 / 60 Hz
Consumo nominal; 60W
Use en ambiente normal: Temperatura normal
Nivel de ruido acústico; menos de 72db(A)
СОДЕРЖАНИЕ
Детали машины......................................................... 5 - 8
Подготовка машины к работе....................................... 9
Ножная педаль управления,
Переключатель питания/освещения
Принадлежности.......................................................... 10
Катушечный стержень для верхней нити.................. 11
Намотка шпульки......................................................... 12
Заправка нижней нитки................................................13
Заправка верхней нити................................................ 14
Как пользоваться устройством вдевания нитки в иглу.15
Подьем нижней нити....................................................16
Смена прижимной лапки............................................. 17
Свободный пошив рукава............................................18
Схема настройки машины..................................... 19-21
Прямые строчки.................................................... 22 - 29
Рычаг реверса строчки............................................ 24
Шитье на тежелой ткани.......................................... 25
Регулировка натяжения нити в прямой строчке.... 26
Таблица игл, ниток и материалов...................... 27 - 28
Замена иглы..............................................................29
Зигзагообразная строчка.............................................30
Атласная строчка......................................................30
Трехшаговый зигзаг..................................................... 31
Потайная строчка.........................................................32
Перистая строчка......................................................... 33
Бельевая строчка.........................................................34
Эластичные строчки............................................. 35 - 37
Тройная стачиваюи
4
ая строчка.............................. 36
Усиленный тройной зигзаг. Перьевая строчка.......36
Обметочная строчка. Строчка «рыбий хребет».....37
Фасонные строчки для вышивания............................ 38
Вышивание пуговичных петель........................... 39 -41
Процедура.................................................................40
Шнурковые пуговичные петли................................ 41
Регулировка длины (плотности) и ширины стежка.41
Уход за машиной...................................................42 - 43
Чистка транспортера и места установки челнока
Очигцать швейную машину и регулятор ноги
Руководство по устранению неисправностей...... 44-45
Размеры: 398 мм х 198 мм х 280 мм
Масса: 5,9 кг
Рабочее напряжение: 120 В, 220 - 230 В ~
Частота: 50 Гц
Потребляемая мощность: 60 Вт
Тепература ислользования: Нормальная
температура.
Уровень шума: менее 72 дБА
in
CD
CN
CO
CO
CN
Ю
CNJ
CO
N.
GO 05
О
CN
CN
CvJ CSJ
CO
^ LO CD
00
C35
О
't-
CN
CO
T-
T-
CN
CN
CN
CN
10
MACHINE IDENTIFICATION
IDENTIFICATION DE LA MAQUINA
ДЕТАЛИ МАШИНЫ
1. Bobbin winder tension disc
1. Disco tensor del devanador de canillas
1. Шайба натяжения нити шпульки в моталке
2. Thread guide
2. Guia hilo
2. Нитенаправитель
3. Thread take-up
3. Tria-hilos
3. Нитепритягивательи
4. Face cover
4. Cubierta frontal
4. Лицевая панель
5. Thread guide
5. Guía hilo
5. Нитенаправитель
6. Thread cutter
6. Cortador de hilo
6. Нитеобрезатель
7. Auxiliary bed (Accessory box)
7. Base de extensión (caja de accesorios)
7. Выдвижной столик
8. Bobbin winder
8. Eje devanador canilla
8. Стержень моталки
9. Bobbin winding regulator
9. Tope devanador canilla
9. Упор моталки
10. Spool pin
10. Pasador carrete
10. Катушечный стержень
11. Handwheel
11. Volante
11. Маховое колесо
12. Stitch length adjusting dial
12. Control longitud puntada
12. Регулятор длины стежка
13. Power switch
13. Interruptor corriente / luz
13. Переключатель питания/освеидения
14. Plug socket
14. Enchufe del control por pedal
14. Гнездо шнура питания
15. Handle
15. Asa para llevar
15. Ручка
16. Presser foot lever
16. Palanca pie prénsatelas
16, Рычаг прижимной лапки
17. Identification plate
17. Placa de identificación
17. Табличка с номером
18. Automatic needle threader
18. Enhebrador automatico aguja
18. Устройство вдевания нитки в иглу
19. Needle threader thread guide
19. Guía hilo
19. Нитенаправитель
20. Thread guide
20, Guía hilo
20. Нитенаправитель
21. Presser foot screw
21. Tornillo pie prénsatelas
21. Винт прижимной лапки
22. Needle
22. Aguja
22. Игла
23. Hook cover
23. Tapa de canilla
23. Крышка шпульного отсетка
24. Needle bar
24. Barra de aguja
24. Игольный шток
25. Presser foot release lever
25. Palanca de desprendimiento prénsatelas
25. Рычажок фиксатора прижимной лапки
26. Needle clamp screw
26. Tornillo de sujeción aguja
26. Винт иглодержателя
27. Presser foot
27. Pie prénsatelas
27. Прижимная лапка
28. Feed dogs
28. Transporte de dientes
28. Транспортер
29, Throat plate
29. Plancha aguja
29, Игольная пластинка
30, Hook cover release button
30. Botón de apertura tapacanilla
30. Заиделка крышки шпульного отсека
31. Foot controller
31. Control por pedal (Reostato)
31. Ножная педаль управления
32. Instruction manual
32. Manual de instrucciones
32. Инструкция по эксплуатации ' 1
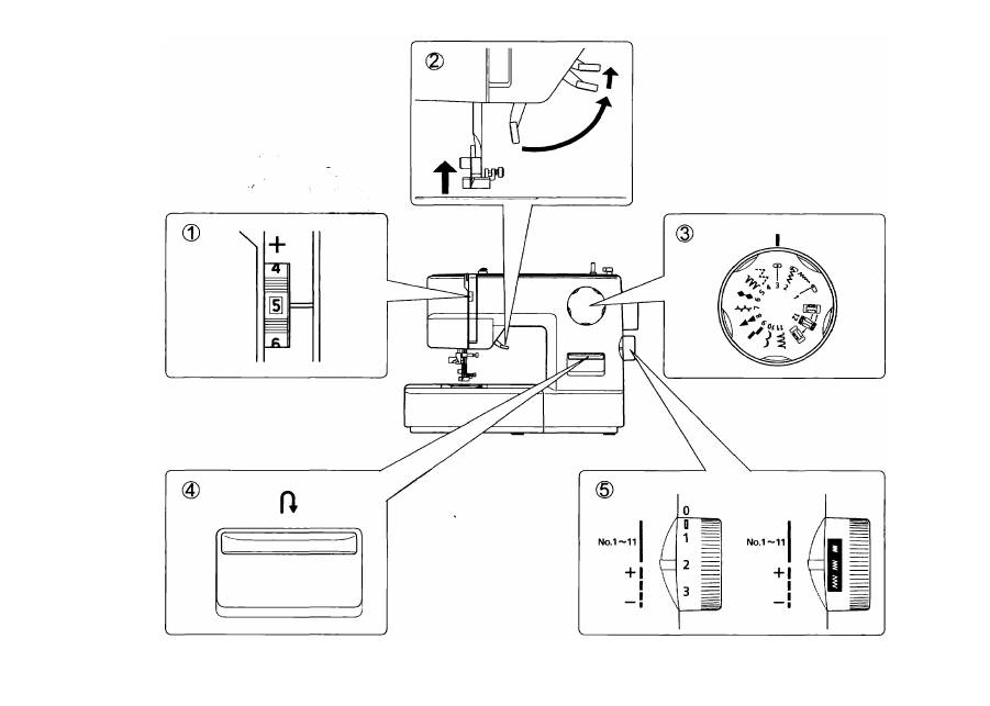
1. TOP THREAD TENSION CONTROL
Decrease or increase the tension of the top thread
by using this control. The higher the number, the
tighter the tension.
2. PRESSER FOOT LEVER
There are three positions for your presser foot.
1. Lower the presser foot to sew.
2. Raise the lever to the middle position to insert
or remove fabric.
3. Lift it to its highest position to change the presser
foot or to remove thick fabric.
3. STITCH SELECTOR
To select a stitch, be sure needle is out of fabric at
its highest position.
4. REVERSE STITCH LEVER
It is recommended to begin and end seams with
several stitches in reverse for reinforcement. As
long as you are pressing down this lever while
sewing, the machine will continue to feed the fabric
backwards.
5. STITCH LENGTH ADJUSTING DIAL
Stitch length can be selected easily according to
thickness and type of fabric.
Super (stretch) stitch patterns can be selected by
turning the dial to 0 mark where fine adjustment
can be made.
1. CONTROLADOR DE LA TENSION
DEL HILO SUPERIOR
Aumentar o disminuir la tensión del hilo superior
usando este controlador. Mayor es el número,
más apretada es la tensión.
2. PALANCA PIE PRENSATELAS
Su prénsatelas tiene tres posiciones.
1. Bajar el prénsatelas para coser.
2. Levantar la palanca a la posición media para
insertar o mover la tela.
3. Levantar a la posición más alta para cambiar
el prénsatelas o para mover el material grueso.
3. SELECTOR E INDICADOR
Para seleccionar una puntada asegurarse que la
aguja está fuera del tejido y en su posición más
alta.
4. PALANCA DE LA PUNTADA DE
RETROCESO
Al empezar o finalizar las costuras se recomienda
realizar
diversas
puntadas
con
el
retroceso
para el refuerzo de la costura. Mientras se está
presionando hacia abajo esta palanca durante la
costura, la máquina seguirá transportando hacia
atrás el tejido.
5. CONTROL LONGITUD PUNTADA
El largo de puntada puede ser seleccionado
fácilmente de acuerdo con el tipo de material y su
grosor.
El grupo de puntadas super (elásticas) pueden
ser seleccionadas girando el mismo dial hasta la
marca ^ en donde se podrá hacer un ajuste más
fino.
1. РЕГУЛИРОВКА НАТЯЖЕНИЯ
ВЕРХНЕЙ НИТИ
С помощью этого регулятора можно уменьшить
или увеличить натяжение верхней нити. Чем
больше
число
на
головке
регулятора,
тем
сильнее натяжение.
2. РЫЧАГ ПРИЖИМНОЙ ЛАПКИ
Имеются три положения прижимной лапки.
1. Для шитья опустите прижимную лапку.
2.
Чтобы
ввести
или
удалить
ткань,
переместите рычаг в среднее положение.
3.
Для замены прижимной лапки или удаления
толстой ткани поднимите рычаг в крайнее
верхнее положение.
3. СЕЛЕКТОР СТРОЧКИ С
УКАЗАТЕЛЕМ
При
установке
вида
строчки
убедитесь
в
том, что игла находится в крайнем верхнем
положении и не соприкасается с тканью.
4. ПЕРЕКЛЮЧАТЕЛЬ ОБРАТНОЙ
СТРОЧКИ
Для упрочнения шва рекомендуется начинать
и
заканчивать
шов
несколькими
обратными
стежками.
При нажатии на этот рычаг машина подает
ткань в обратном направлении.
5. РЕГУЛЯТОР ДЛИНЫ СТЕЖКА
В соответствии с толщиной и типом ткани
можно легко установить длину стежка.
Группа
образцов
эластичной
строчки
выбирается
вращением
той
же
ручки
до
отметки
Ц
, где возможна точная настройка.
Power switch
Interruptor corriente / luz
Переключатель
питан ия/освещения
Power switch
Interruptor corriente / luz
Переключатель питания/освещения
Foot controller
Control por pedal
Переключатель питания/освещения
(DESCONECTADA)
(ВКЛЮЧЕНО)
(ON)
(CONECTADA)
(ВЫКЛЮЧЕНО)
SETTING UP YOUR MACHINE
Be sure to wipe off any surplus oil from
throat plate area before using your machine
the first time.
FOOT CONTROLLER
Connect the plug of the foot controller into
the machine socket (1) and your wall outlet
(2) as illustrated.
POWER SWITCH
Your machine will not operate until the
power switch is turned on. The switch
controls both the power and the light.
When setting the machine, or changing
needles, etc., machine must be turned off
and disconnected from the power supply.
PREPARACION DE LA MAQUINA
Asegurarse de limpiar cualquier aceite sobrante
del área de la plancha de aguja, antes de usar,
por primera vez, la máquina.
CONTROL POR PEDAL
Conecte el pedal a la máquina (1) y el enchufe a
la alimentación de corriente (2) tal como se ve en
el dibujo.
INTERRUPTOR CORRIENTE/LUZ
La máquina no funcionará hasta que se conecte el
interruptor de corriente / luz. El mismo interruptor
controla la corriente y la luz. Cuando se está
utilizando la máquina, o se están cambiando
agujas o bobillas, etc., la máquina se debe
desconectar de los suministros principales.
ПОДГОТОВКА МАШИНЫ К РАБОТЕ
Прежде
чем
приступить
к
работе,
удалите
избыточную смазку с игольной пластинки.
НОЖНАЯ ПЕДАЛЬ УПРАВЛЕНИЯ
Вставьте
штепсель
педали
управления
в
гнездо
(1) машины и в розетку (2) в стене, как показано на
рисунке.
ПЕРЕКЛЮЧАТЕЛЬ ПИТАНИЯ/ОСВЕЩЕНИЯ
Для
приведения
в
действие
машины
включите
переключатель
питания/освещения.
Включение/
выключение
электропитания
и
освещения
производится одним и тем же переключателем.
В случае профилактического обслуживания машины,
замены иглы или лампы, необходимо отсоединять
машину от электросети.
ACCESSORIES
ACCESORIOS
@
ПРИНАДЛЕЖНОСТИ
1. Buttonhole foot
1. Pata para ojales
1.
2. Bobbins
2. Canillas
2.
3. Needles
3. Agujas
3.
4. Spool pin cap
4. Tapa del pasador carrete
4.
5. Vertical spool pin
5. Pasador carrete
5.
6. Felt
6. Discos de fieltro
6.
7. Seam ripper/Brush
7. Abridor de oJales/Cepillo
7.
8. Screwdriver (small)
8. Destornillador (pequeño)
8.
9. Screwdriver
9. Destornillador
9.
10. Dust cover
10. Funda máquina
10.
Spool
Carrete
Катушка
Thread retaining slit
Retenedor antideslizante de hilo
Прорезь для удержания нити
Spool pin cap
Тара del pasador carrete
Колпачок катушечного стержня
Spool
Carrete
Катушка
Felt
Disco de fieltro
Войлочный диск
Vertical spool pin
Pasador carrete vertical
Вертикальный стержень
Horizontal spool pin
Pasador carrete horizontal
Горизонтальный стержень
SPOOL PINS
HORIZONTAL SPOOL PIN for normal
thread spool
Place thread spool on the pin and secure with a
spool cap to ensure smooth flow of thread. If the
thread spool has a thread retaining slit, it should
be placed to the right.
PASADOR PARA CARRETE
Pasador para carrete horizontal para
bobina de hilo normal
Sitúa la bobina de hilo en el pasador y asegúralo
con la tapa del pasador del carrete asegurando
que el hilo se deslice suavemente. Si el carrete de
hilo tiene retenedor antideslizante, éste debería
situarse a la derecha.
VERTICAL SPOOL PIN for large thread
spool
Attach the spool pin. Place the felt over it. Place a
thread spool on the spool pin.
Utiliza EL PASADOR PARA EL CARRETE
VERTICAL para carretes más largos
Monta el pasador del carrete vertical. Introduce el
disco de fieltro. Sitúa el carrete en el pasador.
катушечный
стержень
для
ВЕРХНЕЙ
нити
ГОРИЗОНТАЛЬНЫЙ СТЕРЖЕНЬ для
стандартной катушки
Разместите катушку с нитками на катушечном
стержне
и
прижмите
колпачком,
чтобы
обеспечить
равномерное
разматывание
нити. Если на пластиковой основе катушки
есть прорезь для удержания нити, то при
размещении катушки на стержне, она должна
оказаться справа.
ВЕРТИКАЛЬНЫЙ СТЕРЖЕНЬ для
больших катушек
Установите
дополнительный
стержень
для
катушки,
затем
наденьте
войлочный
диск.
Разместите катушку на вертикальном стержне.
'í'í
WINDING THE BOBBIN
1.
Place a spool of thread on the spool pin.
Secure it with the spool cap to ensure smooth
flow of thread.
2.
Pass thread from spool through thread guides
as shown.
3.
Pull end of thread through hole in bobbin as
shown.
4.
Push bobbin winder to far left position, if it is
not already there. Place bobbin onto shaft with
end of thread coming from top of bobbin. Push
bobbin winder to right until it clicks. Hold onto
end of thread.
5. Start machine. The thread that is held will snap
or may be trimmed with a scissor. Bobbin will
cease turning when completely filled. Push
shaft to left to remove bobbin.
DEVANADO DE LA CANILLA
1. Colocar un carrete de hilo en el portacarretes.
Asegurarlo con la tapa portacarretes, para
garantizar una salida suave del hilo.
2.
Pasar el hilo desde el carrete, a través del
gula hilo, tal como está mostrado.
3. Estirar el extremo del hilo, a través del agujero
en la canilla, tal como está mostrado.
4.
Empujar el eje del devanador canilla hacia la
posición maxima izquierda, si no está ya ahi.
Colocar la canilla en el eje, con el extremo del
hilo saliendo por la parte superior de la canilla.
Empujar hacia la derecha el eje del devanador,
hasta que se sienta un golpe seco. Retener el
extremo del hilo.
5.
Poner en marcha la máquina. El hilo que está
retenido se soltará. La canilla cesará de girar
cuando se haya llenado por completo. Empujar
hacia la izquierda el eje para sacar la canilla.
НАМОТКА ШПУЛЬКИ
1.
Протяните
нитку
от
катушки
через
нитенаправитель как показано на рисунке.
2.
Проденьте конец нитки через отверстие в
шпульке.
3.
Переместите стержень моталки в крайнее
левое положение, если он был в другом
положении.
4.
Наденьте
шпульку
на
стержень
таким
образом, чтобы нитка выходила из верхнего
отверстия
шпульки.
Сдвиньте
стержень
моталки вправо до щелчка.
Держите конец нитки.
5.
Нажав
на
педаль,
включите
машину.
Удерживаемая Вами нитка начнет наматываться
на
шпульку.
При
наполнении
шпульки
произойдет
автоматическое
отключение
привода стержня и намотка прекратится. Для
снятия шпульки сместите стержень влево.
3=0
t
©
THREADING THE BOBBIN THREAD
1. Raise the needle to its highest position by
rotating the hand wheel towards you.
2. Remove the hook cover.
3. Insert the bobbin and make sure the bobbin
rotates counter-clockwise.
4. Pull thread through the slot (A) and then to the
left.
With a finger pushing gently on top of the
bobbin, pull thread through the slot (B) until you
hear a clicking sound, and then leave about 6"
(15 cm) of thread.
5. Replace the hook cover onto the throat plate.
ENHEBRADO DEL HILO DE LA CANILLA
1.
Eleve la aguja hasta su posición más alta
girando el volante hacia Vd.
2.
Desmontar la tapa de canilla empujando el
botón de liberación hacia la derecha mientras
se empuja la esquina izquierda de la placa.
3. Coloque la bobina, asegurándose que gire en
sentido contrario a las agujas del reloj.
4.
Lleve el hilo por la abertura (A) y después
hacia la izquierda.
Mientras presiona la bobina pase el hilo por
la abertura (B) hasta oir un chasquido y deje
entonces unos 15 cm. de hilo.
5. Vuelva a cerrar la tapa.
ЗАПРАВКА НИЖНЕИ НИТКИ
1. Поднимите иглу в крайнее верхнее положение,
поворачивая маховое колесо на себя.
2. Для снятия крышки шпульного отсека нажмите
на
левый
угол
пластины,
одновременно
сдвигая клавишу открывания вправо.
3. Вставьте шпульку, убедившись, что шпулька
врашается против часовой стрелки.
4.
Проденьте
нитку
через
прорезь
(А)
и
заведите её влево.
Надавливая
на
шпульку,
проденьте
нить
через прорезь (В) до щелчка, затем оставьте
около 15 см нитки.
5.
Установите крышку шпулечного отсека на
игольную пластину.
\
А
Л
к.
т
>
THREADING THE TOP THREAD
A. Raise the presser foot lever.
B. Raise the needle to its highest position by
rotating the hand wheel towards you.
C. Thread the machine following steps 1-5
as illustrated.
ENHEBRADO DEL HILO
SUPERIOR
A. Levantar la palanca prénsatelas.
B.
Levantar la aguja a la posición más
elevada girando el volante de la máquina
hacia usted.
C. Enhebrar la máquina siguiendo el orden
de la ilustración.
ЗАПРАВКА
верхней
НИТИ
A. Поднимите рычаг нажимной лапки.
B.
Поднимите иглу в крайнее верхнее
положение, вращая на себя маховик.
C. З а п р а в ь т е н и т ь в м а ш и н у в
последовательности,
показанной
на
рисунке.
па
USING AUTOMATIC NEEDLE
THREADER
Raise the needle to its highest position by
rotating the hand wheel towards you.
1. Hook thread to thread guide as illustrated.
2. Pull down lever holding the end of thread.
3. Turn the lever as far as it will go.
4. Guide thread into hooked end and pull it
upward.
5. Return the lever and needle will be threaded
automatically.
6. Release the lever and pull thread away from
you.
NOTE:
For smooth threading it is recommended to set
the machine at straight stitching (center position)
when using needle threader.
^5
EMPLEO DEL ENHEBRADOR AGUJA
1. Enhebrar el hilo en el guía hilo como indica la
ilustración.
2. Bajar la palanca sujetando el extremo del hilo.
3. Girar la palanca hasta el final.
4. Colocar el hilo en la horquilla de enganche y
estirarlo hacia arriba.
5. Retornar la palanca a su posición y la aguja
será enhebrada automáticamente.
6. Soltar la palanca y tirar del hilo hacia usated.
Nota:
Para conseguir un enhebrado correcto con el
enhebrador, se recomienda poner el selector de la
máquina en puntada recta (posición central).
КАК ПОЛЬЗОВАТЬСЯ УСТРОЙСТВОМ
ВДЕВАНИЯ НИТКИ В ИГЛУ
Поднимите иглу в крайнее верхнее положение, вращая
на себя маховик.
1. Заведите нитку в нитенаправители, как наказано на
рисунке.
2. Потяните вниз рычажок, придерживая конец нитки.
3. Поверните рычажок до упора.
4. Заправьте нитку в петлеобразующую вилку и
потяните нитку вверх.
5. Поверните рычажок, вернув его в прежнее положение,
при этом нитка автоматически вставится в иглу.
6. Верните рычажок в первоначальное положение
(вверх) и потяните нитку от себя.
ПРИМЕЧАНИЕ:
Когда используется нитевдеватель для вдевания нити,
рекомендуется установить на машинке прямой стежок
(центральное положение иглы ).
PICKING UP BOBBIN THREAD
1. Raise the presser foot lever.
Holding needle thread loosely with your left
hand,
turn
hand
wheel
towards
you
one
revolution with your right hand until the needle
comes to its highest position.
2.
Lightly pull up the top thread, and pick up
bobbin thread, which will appear through the
throat plate slot.
3.
Pull both top and bobbin threads together
towards back of machine under the presser
foot, leaving about 6" (15 cm) clear.
RECOGIDA DEL HILO DE LA CANILLA
1. Alzar la palanca del pie prénsatelas.
Manteniendo flojo el hilo de la aguja con la
mano izquierda, girar hacia Vd. el volante con
la mano derecha, hasta que la aguja alcance
su posición más alta.
2.
Tirar ligeramente del hilo superior y recoger el
hilo de la canilla, que aparecerá a través de la
abertura de la plancha de aguja.
3.
Tirar de ambos hilos juntos, hacia atrás de
la máquina, por debajo del pie prénsatelas,
dejando alrededor de 15 cm. de hilo.
ПОДЬЕМ НИЖНЕЙ НИТИ
1. Поднимите прижимную лапку.
Придерживая
верхнюю
нить
левой
рукой,
правой рукой медленно поверните маховик на
себя на один оборот. Продолжайте вращать
до момента, пока игла не примет свое верхнее
положение.
2.
Слегка потянув за верхнюю н ить, одновременно
вытащить
нижнюю
нить
через
игольную
пластинку.
3.
Продеть обе нити в прорезь лапки, завести их
свободные концы длиной 15 см.
Presser foot lever
Palanca pie prénsatelas
Рычаг прижимной лапки
Presser foot release lever
Palanca de desprendimiento prénsatelas
Рычажок фиксатора прижимной лапки
Foot holder
Sujetador prénsatelas
Держатель лапки
А
САУЛОМ
Always
disconnect
the
machine
from
power supply by removing the plug from
the socket-outlet.
А
PRECAUQON
Siempre desconectar desenchufando el
cordón de la corriente eléctrica.
А
Всегда
отсоединяйте
машину
от
источника
питания
извлечением
вилки из розетки.
CHANGING PRESSER FOOT
Be sure needle is in the up position. Raise presser foot lever.
1. Raise presser foot release lever to remove the foot.
2. Place the desired foot on the throat plate aligning needle
holes.
3. Lower the presser foot lever so that the foot holder snaps on
the foot.
CAMBIO DEL PIE PRENSATELAS
Asegurarse de que la aguja está en la posición superior.
Alzar la palanca del pie prénsatelas.
1. Alzar la palanca de desprendimiento del prénsatelas para
sacar el prénsatelas.
2. Colocar el prénsatelas deseado sobre la placa de agujas
alineando los agujeros para la aguja.
3. Bajar la palanca pie prénsatelas, de manera que el sujetador
. prénsatelas se cierre de golpe en el prénsatelas.
СМЕНА ПРИЖИМНОМ ЛАПКИ
Установите иглу в верхнее положение. Поднимите рычаг
прижимной лапки.
1. Для снятия лапки нажмите рычажок фиксатора лапки и
удалите лапку.
2. Установите выбранную лапку на игольную пластинку,
совместив отверстия для иглы.
3. Опустите рычаг прижимной лапки, при этом фиксатор
лапкодержателя защелкнется на лапке.
CONVERTING TO FREE-ARM SEWING
Your machine can be used either as a flat- bed, or
as a free-arm model.
With the auxiliary bed in position, it provides you
\with a large working surface as a standard flat-bed
model.
By removing the auxiliary bed (just pull it off to the
left as shown), the machine converts into a free-
arm model.
CONVERSION PARA LA COSTURA
CON BRAZO
La máquina tanto se puede utilizar como base
plana o una máquina de brazo libre.
Con la base de extensión en posición se consigue
una superficie de trabajo grande como la de un
modelo normal
de base plana.
Sacando la base de extensión (estirándola hacía
fuera hacia la izquierda, tal como está mostrado),
la máquina se convierte en un modelo de brazo
libre.
свободный
пошив
рукава
Выдвижной
стопик
позволяет
менять
конфигурацию рабочей зоны машины.
Когда столик находится на месте, в Ваш
1
ем
распоряжении
имеется
большая
рабочая
поверхность, как в любой стандартной швейной
машине.
Если же удалить выдвижной столик, а это
делается его выдвижением влево, как показано
на
рисунке,
образующаяся
конфигурация
рабочей
зоны
существенно
облегчает
следующие операции:
1. Пошив всех трубчатых, цилиндрических
изделий (рукавов и т.п.).
2. Настрачивание заплат на локтях и коленках.
3. Вшивание рукавов.
4. Аппликацию и вышивание.
5. Притачивание резиновых лент и шнуров.
СХЕМА НАСТРОИКИ МАШИНЫ
ФП
^
■
* V
J
(
\
________ __ _______ __
_|
1. Переключатель-селектор строчки
I
2. Регулятор длины строчки
3. Прижимная лапка
А. Лапка для
строчки
‘•ЗИГЗАГ
В. Лапка для
пуговичных
петель
Строчка
1
2
Л
3
п Центральное
Прямая
3
т
1 -4
A
Левое
положение
1
<р
Зигзагообразная jPP****^
2
0.5-4
Трехшаговый зиг-заг
NW^J\W\N\
4
1 -3
Потайная YYYYYYW"
5
%
Перистая строчка
7
Бельевая
ЛААААААА.
11
%
6
X
8
A
A
0.5-2
9
1
10
[
-г ^ Центральное
Тройная прямая
3
ЯР
(II
III
Левое
положение
1
IP
III
III
Усиленный тройной зигзаг МЛДАДЛШМЛ/
2
I
Перьевая строчка
4
Правая обметочная VVVWVVV
5
Строчка «рыбий хребет» /WWW'
7
Левая обметочная \ЛЛ/У\ЛЛЛ
11
Супердекоративная
\ЛлЛЛ/"ЛА'~ЛА''
У%ЛГ%ЛГ%ЛГА
6
8
i
9
10
<
Пуговичные петли СммЭ
12
"■=>01
n c=
]c> 00 00
Ц
В
J
ф
в
Е
F
STRAIGHT STITCH
i
CD
<iD
$
!
1
PUNTADA RECTA
CD (О
• •
i I
• •
3 1
straight stitch is most frequently used for every
aspect of sewing. Learn the correct method of
your machine following the steps below.
1. SETTINGS „
Stitch selector - IT
Stitch length - 1 - 4
Thread tension - 5
Raise the take-up lever to its highest position
by turning the hand wheel toward you.
A Thread take-up
B Top thread tension control
C Stitch selector
D Hand wheel
E Stitch length control
F Reverse stitch lever
G Power switch
H Presser foot lever
2. Pull both threads under the presser foot toward
the back of the machine.
3. Place the fabric under the presser foot and
lower the presser foot lever.
4. Turn the hand wheel toward you until the
needle enters the fabric.
_ т г
Punto recto se usa más frecuentemente para
coser cualquier cosa. Aprenda el uso correcto de
su máquina.
1. FIJACION
Indicador de puntadas
Longitud del punto - 1 - 4
Tensión del hilo - 5
Levantar la palanca de tira-hilos a la posición
más alta girando el volante hacia Ud.
A Tria-hilos
B Controlador de tensión del hilo superior
C Selector de puntadas
D Volante
E Control longitud puntada
F Palanca puntada de retroceso
G Interruptor corriente / luz
H Palanca pie prénsatelas
2. Tirar ambos hilos debajo del prénsatelas hacia
la parte trasera de la máquina.
3. Colocar la tela debajo del prénsatelas y bajar
la palanca del prénsatelas.
4. Girar el volante hacia Ud. hasta que la aguja
entre en el material.
ПРЯМЫЕ СТРОЧКИ
Ф<Р
! i
3 1
Прямая
строчка
во
всех
видах
шиться
используется
наиболее
часто.
Изучите
правильный способ заправки машины, спедуя
шагам, описанным далее:
1. УСТАНОВКИ
Указатель строчки - Т ^
Длина стежка - 1 - 4
Натяжение нити - 5
Поднимите иглу в крайнее верхнее положение,
поворачивая маховик на себя
А Нитепритягиватель
В Регулятор натяжения верхней нити
С Переключатель-селектор строчки
□ Маховое колесо
Е Регулятор длины стежка
Р Рычаг реверса строчки
С Переключатель питания/ освещения
Н Рычаг прижимной лапки
2. Отведите обе нити под прижимной лапкой к
задней стороне машины.
3. Поместите ткань под прижимную лапку и
опустите рычаг
прижимной
лапки.
4. Поворачивайте маховик на себя, пока игла
не войдет в ткань.
5. a. Start to sew by stepping on the foot
controller.
b. Guide the fabric gently with your hand.
c. When you reach the end of the fabric, stop
the machine by releasing the foot controiler.
6. a. Turn the hand wheel to raise the needle.
b. Raise the presser foot by pushing the lever
up.
c. Use the thread cutter at the face cover to cut
off excess threads.
d. Pull both threads under and to the back of
the presser foot, leaving 4 inches (10 cm)
clear.
5. a. Empezar a coser.
b. Guiar el material suavemente con la mano.
c. Cuando llega el borde del material, parar la
máquina.
6. a. Girar el volante para levantar la aguja.
b. Levantar el prénsatelas empujando la
palanca hacia arriba.
c. Usar el cortador del hilo que está cerca del
prénsatelas para cortar el hilo de exceso.
d. Tirar ambos hilos hacia abajo v hacia el
posterior de prénsatelas dejando 10 cm .
5. а. Начинайте шить управляя скоростью
шитья с помоидью педали управления,
b
. Плавно направляйте ткань вашей рукой.
c. Перед концом ткани, остановите машину,
отпустив педаль управления.
6. а. Повернуть маховое колесо, чтобы
поднять иглу.
b
. Поднимите рычаг прижимной лапки.
c.
Используйте
нитеобрезатель,
чтобы
отрезать нити.
d. Вытяните обе нити назад пропустив их
под прижимной лапкой оставив примерно
10 см.









