Hach-Lange LDO Sensor – page 4
Manual for Hach-Lange LDO Sensor

Option Description
sc100 Sélectionnez MENU>SYSTEM SETUP (CONFIG SYSTEME)>PROGRAMMATION
SORTIE>[Sélectionnez la sortie]>MODE.
sc1000 Sélectionnez MENU>SYSTEM SETUP (CONFIG SYSTEME)>PROGRAMMATION
SORTIE>[Sélectionnez la sortie]>MODE.
2. Définissez la fonction du transmetteur.
Option Description
sc200 LINEAIRE
sc100 LINEAIRE (valeur par défaut)
sc1000 LINEAIRE (valeur par défaut)
Registres Modbus
Une liste de registres Modbus est disponible pour la communication réseau. Consulter
www.hach.com ou www.hach-lange.com pour plus d'informations.
Etalonnage
Le capteur est étalonné en usine conformément aux spécifications. Le fabricant recommande de
procéder à l'étalonnage à la fréquence préconisée par les organismes de contrôle. Si l'étalonnage
est nécessaire, assurez-vous du fonctionnement stabilisé (2) du capteur avant de procéder à
l'étalonnage. Ne procédez pas à l'étalonnage du capteur lors de son installation.
Le Tableau 2 présente les options d'étalonnage.
Tableau 2 Options d'étalonnage
Option Description
ETALONNAGE A L'AIR Méthode d'étalonnage recommandée. Cet étalonnage modifie la pente.
ETALONNAGE PROCESS Etalonnage par comparaison avec un appareil de mesure d'oxygène dissous
portable. Cet étalonnage modifie le décalage.
RAZ DEF ETAL Rétablit les valeurs de gain d'étalonnage (pente) et de décalage par défaut ; gain
par défaut = 1,0, décalage par défaut = 0,0
Étalonnage à l'air
Remarques à l'intention de l'utilisateur :
•
Assurez-vous que le sachet utilisé pour l'étalonnage contient bien de l'eau.
• Assurez-vous que le joint placé entre le sachet d'étalonnage et le corps du capteur est bien serré.
• Avant de procéder à l'étalonnage, assurez-vous que le capteur est bien sec.
• Assurez-vous que le réglage de pression d'air et d'altitude est approprié à l'emplacement choisi
pour effectuer l'étalonnage.
• Attendez que la température du capteur corresponde à la température de l'emplacement du
sachet d'étalonnage. Jusqu'à 15 minutes peuvent être nécessaires pour réduire un écart de
température important entre le fluide traité et l'emplacement choisi pour l'étalonnage.
1. Sortez le capteur du fluide traité. Nettoyez le capteur à l'aide d'un chiffon humide.
2. Placez l'intégralité du capteur dans un sachet d'étalonnage contenant 25 à 50 ml d'eau. Veillez à
ce que la capsule du capteur n'entre pas en contact avec l'eau du sachet d'étalonnage et ne
comporte aucune goutte d'eau (Figure 6).
3. Resserrez le sac autour du corps du capteur à l'aide d'un ruban adhésif, d'une ficelle ou de votre
main.
Français 61

4. Avant de procéder à l'étalonnage, laissez le capteur se stabiliser pendant 15 minutes. Pendant la
stabilisation, conservez le sachet d'étalonnage à l'abri du soleil.
5. Assurez-vous que le réglage actuel absolu de pression d'air ou d'altitude est correctement
configuré. Voir Saisie de la valeur de pression atmosphérique à la page 59.
Remarque : le fabricant recommande l'utilisation de la valeur de pression d'air réelle ou absolue.
6. Sélectionnez MENU>SENSOR SETUP (CONFIG CAPTEUR)>[Sélectionnez le
capteur]>CALIBRATE (ETALONNER)>AIR CAL (ETAL AIR).
7. Sélectionnez l'option de sortie du signal pendant l'étalonnage :
Option Description
Actif L'instrument envoie la valeur de sortie mesurée pendant la procédure d'étalonnage.
Mémorisation La valeur de sortie du capteur est maintenue à la dernière valeur mesurée pendant la
procédure d'étalonnage.
Transfert Une valeur prédéfinie est fournie pendant l'étalonnage. Consultez le manuel d'utilisation du
transmetteur pour changer la valeur prédéfinie.
8. Le transmetteur affiche le message « Placer le capteur dans l'air ». Attendez que la valeur se
stabilise. Appuyez sur ENTER (ENTREE) pour accepter la valeur stable. Vous pouvez également
attendre que l'écran affiche « Complete » (Terminé).
9. Une fois le capteur étalonné, placez-le dans le fluide traité. Appuyez sur ENTER (ENTREE).
Figure 6 Procédure d'étalonnage à l'air
Si la valeur ne se stabilise pas, l'écran affiche un message d'erreur précédé de la mention « Unable
to Calibrate » (Etalonnage impossible). Le Tableau 3 présente les messages d'erreur et les
résolutions des problèmes d'étalonnage.
Tableau 3 Messages relatifs à l'étalonnage à l'air
Message Description Résolution
Cal fail, gain high (Echec étal.,
La valeur de gain calculée est trop
Procédez à nouveau à
gain élevé)
élevée.
l'étalonnage.
Cal fail, gain low (Echec étal., gain
La valeur de gain calculée est trop faible. Procédez à nouveau à
faible)
l'étalonnage.
Cal fail, unstable (Echec étal.,
La valeur ne s'est pas stabilisée dans le
Procédez à nouveau à
instable)
délai maximal d'étalonnage.
l'étalonnage.
62 Français

Etalonnage Process : étalonnage par comparaison
Cette méthode d'étalonnage nécessite un autre capteur connecté à un appareil de mesure portable.
1. Plongez cet autre capteur dans le fluide. Placez le second capteur aussi près que possible du
premier.
2. Attendez la stabilisation de la valeur O2 dissous (1).
3. Sur le transmetteur du capteur à calibrer, sélectionnez MENU>CONFIG
CAPTEUR>[Sélectionnez le capteur]>ETALONNAGE>PROCESS.
4. Sélectionnez l'option de sortie du signal pendant l'étalonnage :
Option Description
Actif L'instrument envoie la valeur de sortie mesurée pendant la procédure d'étalonnage.
Mémorisation La valeur de sortie du capteur est maintenue à la dernière valeur mesurée pendant la
procédure d'étalonnage.
Transfert Une valeur prédéfinie est fournie pendant l'étalonnage. Consultez le manuel d'utilisation du
transmetteur pour changer la valeur prédéfinie.
5. Le transmetteur affiche les éléments suivants :
•
« Press ENTER when stabilized » (Appuyez sur ENTREE une fois la valeur stabilisée)
• La mesure d'oxygène dissous actuelle
• La mesure de température actuelle
6. Une fois la mesure stable, appuyez sur ENTER (ENTREE). Un écran de saisie s'affiche.
Remarque : la mesure se stabilise en général au bout de 2 ou 3 minutes.
Si la valeur ne se stabilise pas, l'écran affiche un message d'erreur précédé de la mention « Unable
to Calibrate » (Etalonnage impossible). Le Tableau 4 présente les messages d'erreur et les
résolutions des problèmes d'étalonnage.
Tableau 4 Messages d'erreur d'étalonnage par échantillon
Message Description Résolution
Cal fail, offset high (Echec étal.,
La valeur de décalage calculée est trop
Procédez à nouveau à
décalage élevé)
élevée.
l'étalonnage.
Cal fail, offset low (Echec étal.,
La valeur de décalage calculée est trop
Procédez à nouveau à
décalage faible)
faible.
l'étalonnage.
Cal fail, unstable (Echec étal.,
La valeur ne s'est pas stabilisée dans le
Procédez à nouveau à
instable)
délai maximal d'étalonnage.
l'étalonnage.
Quitter la procédure d'étalonnage
1. Pendant l'étalonnage, appuyez sur la touche BACK (RETOUR). Trois options apparaissent :
Option Description
ANNULER Arrête l'étalonnage. Un nouvel étalonnage devra repartir du début.
RETOUR ETALON. Permet de reprendre l'étalonnage en cours.
ECHAPPER Quitte temporairement l'étalonnage. L'étalonnage se poursuit en arrière-plan,
permettant l'accès à d'autres menus. Il est possible de démarrer un étalonnage pour un
deuxième capteur (le cas échéant). Pour revenir à l'étalonnage, appuyez sur la touche
MENU et sélectionnez Sensor Setup (Config capteur), [Sélectionnez le capteur].
2. Sélectionnez une des options. Validez.
Français 63

Réinitialisation des valeurs d'étalonnage par défaut
Il est possible de réinitialiser les réglages d'étalonnage à l'aide des valeurs par défaut. Les valeurs
de gain et de décalage sont alors définies sur 1 et 0, respectivement.
1. Sélectionnez MENU>CONFIG CAPTEUR>CONFIGURATION
2. Un message de confirmation s'affiche. Confirmez la réinitialisation du capteur à l'aide de la
courbe d'étalonnage par défaut.
Maintenance
D A N G E R
Dangers multiples. Seul le personnel qualifié doit effectuer les tâches détaillées dans cette section du
document.
D A N G E R
Risque d’explosion Ne branchez ni ne débranchez aucun composant électrique ou circuit sur
l'équipement avant de vous être assuré que l'alimentation a été coupée et que l'emplacement est
sécurisé.
D A N G E R
Risque d'explosion Tout changement de composant est susceptible d'avoir une incidence sur la
conformité Classe 1, Division 2. Ne remplacez jamais un composant avant de vous être assuré que
l'alimentation a été coupée et que l'emplacement est sécurisé.
A V I S
La version de ce produit certifiée pour les environnements dangereux n'est pas conforme à la norme 94/9/EC
(norme ATEX).
Calendrier de maintenance
Le calendrier de maintenance indique la fréquence minimum des tâches de maintenance régulières.
Effectuer les opérations d'entretien plus fréquemment avec des applications entraînant une
contamination de l'électrode.
Remarque : ne démontez pas la sonde pour la maintenance ou le nettoyage.
Tâche de maintenance Fréquence minimum recommandée
Nettoyage du capteur 90 jours
Inspection du capteur 90 jours
Etalonnage du capteur Conformément aux recommandations des organismes
de contrôle
Nettoyage du capteur
Nettoyez la surface du capteur à l'aide d'un chiffon doux humide.
Remarque : S'il est nécessaire de retirer la capsule du capteur lors du nettoyage, évitez d'exposer l'intérieur de la
capsule aux rayons du soleil pendant une période prolongée.
Définition ou modification de l'intervalle de nettoyage
L'intervalle adéquat entre les nettoyages manuels du capteur peut varier en fonction des conditions
d'utilisation. L'intervalle de nettoyage par défaut est de 0 jour. Pour modifier l'intervalle, procédez
comme suit.
1. Sélectionnez MENU>SENSOR SETUP (CONFIG CAPTEUR)>[Sélectionnez le
capteur]>CONFIGURE (CONFIGURER)>INT NETTOYAGE.
64 Français

2. Modifiez la valeur affichée. Confirmez la modification.
•
Pour désactiver l'intervalle de nettoyage, définissez 0 comme valeur.
Remplacement du capuchon du capteur
A V E R T I S S E M E N T
Risque d'explosion. Le capuchon de configuration du capteur n'est pas certifié pour une utilisation en
environnement dangereux.
Des instructions d'installation sont fournies avec les capuchons de configuration et les capuchons de
capteur de rechange. Pour remplacer le capuchon, reportez-vous aux instructions fournies.
Pour bénéficier de performances et d'une précision optimales, remplacez le capuchon du capteur :
•
Tous les deux ans ;
• Lorsque l'inspection de routine révèle une forte érosion du capuchon du capteur.
Dépannage
Menu de diagnostic et test
Le menu de diagnostic et de test affiche les informations actuelles et consignées relatives au capteur
LDO.
Pour accéder au menu de diagnostic et de test, sélectionnez MENU>SENSOR SETUP (CONFIG
CAPTEUR)>[Sélectionnez le capteur]>DIAG/TEST.
Voir le Tableau 5.
Tableau 5 Menu DIAG/TEST
Option Description
INFO CAPTEUR VER LOGICIEL : affiche la version du logiciel installé.
VER CODE DEM : affiche la version du code de démarrage installé.
DRIVER VERSION (VER PILOTE) : affiche la version du pilote logiciel installé.
LOT CODE (CODE LOT) Affiche le lot de fabrication du capuchon du capteur
SERIAL NUMBER
Numéro de série du capteur
(NUMERO DE SERIE)
GAIN CORR (COEF GAIN) Permet d'ajuster la valeur de gain d'étalonnage.
Plage : 0,5 à 2
OFFSET CORR (CORR
Permet d'ajuster la valeur de décalage d'étalonnage (mg/l ou ppm).
DECALAGE)
Plage : -3 à 3
PHASE DIAG (DIAG
Affiche la phase des longueurs d'onde bleue, rouge et totale. Mise à jour chaque
PHASE)
seconde.
AMPL DIAG (DIAG AMPL) Affiche l'amplitude des longueurs d'onde bleue et rouge. Mise à jour chaque
seconde.
JRS AV NETTOY Affiche le nombre de jours avant le prochain nettoyage manuel programmé.
DUREE CAPTEUR Affiche le nombre de jours avant le prochain remplacement de capuchon du
capteur programmé.
Français 65

Liste d’erreurs
En cas d'erreur, la mesure affichée clignote. Le comportement de sortie est déterminé par les
réglages du transmetteur. Pour plus d'informations, reportez-vous au manuel du transmetteur.
Pour afficher les erreurs actuellement détectées sur le capteur, sélectionnez
MENU>DIAGNOSTICS>[Sélectionnez le capteur]>ERROR LIST (LISTE ERREURS) Voir le
Tableau 6.
Tableau 6 Liste d'erreurs du capteur LDO
Erreur Cause possible Résolution
RED AMPL LOW (AMPL RGE FAIB) (Valeur
Le capuchon du capteur n'est pas
Retirez le capuchon du
inférieure à 0,01)
installé ou ne l'est pas
capteur, puis replacez-le.
correctement.
OU
BLUE AMPL LOW (AMPL BL FAIB) (Valeur
La trajectoire de la lumière est
Inspectez la lentille et
inférieure à 0,01)
bloquée dans le capuchon du
l'intérieur du capuchon du
capteur.
capteur.
Le capteur ne fonctionne pas
Assurez-vous que le voyant
correctement.
clignote. Contactez le
fabricant.
Liste d’avertissements
Lorsque l'icône d'avertissement clignote (sc100 et sc200) ou lorsque l'écran devient jaune (sc1000),
un message s'affiche en bas de l'écran. Sur le transmetteur sc1000, l'écran devient jaune lorsqu'un
avertissement est affiché. Pour afficher les avertissements actuellement émis par le capteur,
sélectionnez MENU>DIAGNOSTICS>[Sélectionnez le capteur]>WARNING LIST (LISTE
AVERTISSEMENTS) Voir le Tableau 7.
Tableau 7 Liste d'avertissements du capteur
Avertissement Définition Résolution
EE SETUP ERR (ERR
Le stockage est corrompu. Les valeurs
Contactez l’assistance technique.
CONFIG EE)
par défaut ont été rétablies.
EE RSRVD ERR (ERR ENR
EE)
TEMP < 0 C (TEMP < 0 °C) La température du fluide est inférieure à
Augmentez la température du fluide
0 °C
ou cessez son utilisation jusqu'à ce
que sa température soit comprise
dans la plage des spécifications du
capteur.
TEMP > 50 C (TEMP > 50 °C) La température du fluide est supérieure
Diminuez la température du fluide ou
à 50 °C
cessez son utilisation jusqu'à ce que
sa température soit comprise dans la
plage des spécifications du capteur.
RED AMPL LOW (AMPL RGE
La valeur est inférieure à 0,03 Voir le Tableau 6 à la page 66.
FAIB)
RED AMPL HIGH (AMPL RGE
La valeur est supérieure à 0,35 Appelez l'assistance technique.
ELEV)
BLUE AMPL LOW (AMPL BL
La valeur est inférieure à 0,03 Voir le Tableau 6 à la page 66.
FAIB)
66 Français

Tableau 7 Liste d'avertissements du capteur (suite)
Avertissement Définition Résolution
BLUE AMPL HIGH (AMPL BL
La valeur est supérieure à 0,35 Appelez l'assistance technique.
ELEV)
CAP CODE FAULT (ERR
Le code du capuchon du capteur est
Suivez les instructions relatives au
CODE CAP)
corrompu. Le code a été
capuchon de configuration du
automatiquement réinitialisé à l'aide des
capteur. Si aucun capuchon de
codes de lot et de capuchon par défaut.
configuration n'est disponible pour le
capuchon du capteur, contactez
l'assistance technique.
Liste d'événements
La liste d'événements consigne les modifications apportées au mode d'enregistrement des données
par le capteur. Pour afficher les événements relatifs au capteur, sélectionnez
MENU>DIAGNOSTICS>[Sélectionnez le capteur]>EVENT LIST (LISTE EVENEMENTS).
Voir le Tableau 8.
Tableau 8 Liste d'événements du capteur
Evénement Description
ALT/PRESSURE UNIT CHANGE (MODIF UNIT
Les unités de pression atmosphérique ou d'altitude ont été
PRESSION/ALT)
modifiées.
ALT/PRESSURE CHANGE (MODIF
La valeur de pression atmosphérique ou d'altitude a été
PRESSION/ALT)
modifiée.
TEMP UNIT CHANGE (MODIF UNIT TEMP) Les unités de température ont été modifiées.
MEAS UNIT CHANGE (MODIF UNIT MES) Une nouvelle unité de mesure a été introduite.
SALINITY CHANGE (MODIF SALINITE) La valeur de salinité a été modifiée.
SET DEFAULT (DEF VAL PR DFT) Les valeurs par défaut des réglages du capteur ont été
rétablies.
SENSOR SETUP CHANGE (MODIF CONFIG
La configuration du capteur a été modifiée.
CAPTEUR)
CLEAN INTERVAL TIMER CHANGE (MODIF INT
L'intervalle entre deux nettoyages du capteur a été modifié.
NETTOYAGE)
SENSOR CAP LIFE TIMER CHANGE (MODIF
L'intervalle entre deux remplacements du capuchon du
DUREE CAP)
capteur a été modifié.
Pièces de rechange et accessoires
Eléments de rechange
Description Référence article (U.S.A. / U.E.)
Sonde LDO avec capsule de capteur et 2 sachets d'étalonnage 9020000 / LXV416.99.20001
Sonde LDO pour zone dangereuse avec capsule de capteur et 2 sachets
9020300 / —
d'étalonnage
Capsule du capteur de rechange (inclut la capsule de configuration du
9021100 / 9021150
capteur non certifié pour zone dangereuse de classe 1, division 2)
Français 67

Accessoires
Description Référence article (U.S.A. / U.E.)
Verrou de câble du capteur pour environnements dangereux 6139900 / —
Système de nettoyage par soufflage d'air haut rendement, 115 V (non certifié
6860000 / 6860003.99.0001
pour utilisation en environnement dangereux)
Système de nettoyage par soufflage d'air haut rendement, 230 V (non certifié
6860100 / 6860103.99.0001
ATEX pour utilisation en environnement dangereux)
Sachet d'étalonnage (1) 5796600 / 5796600
1
Câble, extension du capteur, environnement non dangereux, 7,7 m
U.S.A. : 5796000, 7,7 m
U.E. : LZX849, 10 m
Kit de montage tube d'immersion (PVC) 9253000 / LZY714.99.21810
Kit de montage sur flotteur (PVC) 9253100 / LZX914.99.42200
Kit de montage pour soufflage d'air 9253500 / LZY812
Kit de montage chaîne d'immersion (acier inoxydable) — / LZX914.99.11200
Kit de montage raccord union 9257000 / 9257000
Appareil de mesure HQd avec sonde LDO terrain (non certifiée pour
8505200 / HQ40D.99.310.000
utilisation en environnement dangereux)
1
Câbles de 15 m et 30 m également disponibles.
68 Français

Contenido
Especificaciones en la página 69 Funcionamiento en la página 75
Información general en la página 70 Mantenimiento en la página 81
Descripción general del producto en la página 71 Solución de problemas en la página 83
Instalación en la página 72 Piezas de repuesto y accesorios en la página 85
Calibración de las mediciones en la página 78
Especificaciones
Las especificaciones están sujetas a cambios sin previo aviso.
Especificación Detalles
Materiales húmedos (cuerpo de la sonda) CPVC, extremo del sensor y extremo del cable
Poliuretano, doble moldura en el extremo y el revestimiento del
cable
Cuerpo y tornillos de acero inoxidable 316
Viton, junta tórica
Noryl, tuerca en el extremo del cable
Clasificación IP IP68
Materiales húmedos (Tapa del sensor) Acrílico
Intervalo de medición (oxígeno disuelto) De 0 a 20 ppm (de 0 a 20 mg/l)
Del 0 al 200% de saturación
Precisión de la medición (oxígeno disuelto) Por debajo de 5 ppm: ± 0,1 ppm
Por encima de 5 ppm: ± 0,2 ppm
Repetibilidad (oxígeno disuelto) 0,1 ppm (mg/l)
Tiempo de respuesta (oxígeno disuelto) T
90
<40 segundos
T
95
<60 segundos
Resolución, sensor (oxígeno disuelto) 0,01 ppm (mg/l); 0,1% de saturación.
Intervalo de medición (temperatura) 0 a 50 °C (32 a 122 °F)
Precisión de la medición (temperatura) ± 0,2 °C (± 0,36 °F)
Interferencias No existen interferencias de los siguientes elementos: H
2
S, pH,
+
+
2+
2+
+
3+
2+
2+
2+
K
, Na
, Mg
, Ca
, NH
4
, Al
, Pb
, Cd
, Zn
, Cr (total),
2+
3+
2+
2+
2+
2+
–
–
2–
2–
Fe
, Fe
, Mn
, Cu
, Ni
, Co
, CN
, NO
3
, SO
4
, S
, PO
4
3–
–
, Cl
, tensioactivos de aniones, aceites crudos, Cl
2
< 4 ppm
Temperatura de almacenamiento De –20 a 70 °C (de –4 a 158 °F)
Temperatura ambiente máxima 60 °C (140 °F). Apto para su uso en aguas con una temperatura
de hasta 50 °C (122 °F)
Clasificación de ubicaciones peligrosas (sólo
Clase I, Division 2, Grupos A–D, T4/Clase I, Zona 2 Grupo 2C,
sensor 5790001)
T4
Nota: Este producto no cumple los requisitos de la Directiva 94/9/EC
(Directiva ATEX).
Español 69

Especificación Detalles
Certificados (sólo sensor 5790001) ETL se recoge en las normativas ANSI/ISA, CSA y FM para su
uso en entornos peligrosos.
Nota: Este producto no cumple los requisitos de la Directiva 94/9/EC
(Directiva ATEX).
Caudal mínimo No se requiere.
Calibración/verificación Calibración del aire: un punto, aire con una saturación de agua
del 100%
Calibración de la muestra: comparación con el instrumento
estándar
Profundidad de inmersión y límites de
Límites de presión a 34 m (112 pies), 345 kPa (50 psi) como
presión de la sonda
máximo; es posible que no se mantenga la precisión a esta
profundidad.
Cable del sensor Cable integral de 10 m (30 pies) con interruptor de desconexión
rápida (todos los tipos de sensores)
Hasta 100 m mediante cables de extensión (sólo los tipos de
sensores que no pertenecen a la Clase I, División 2)
Hasta 1.000 m con caja de empalmes (sólo los tipos de sensores
que no pertenecen a la Clase I, División 2)
Peso de la sonda 1,0 kg (2 libras, 3 onzas)
Dimensiones de la sonda Diámetro x longitud: 49,53 x 255,27 mm (1,95 x 10,05 pulg.)
Requisitos de alimentación 12 VDC, 0,25 A, 3 W
Garantía Sonda: 3 años por defectos de fabricación
Cápsula del sensor: 2 años por defectos de fabricación
Información general
En ningún caso el fabricante será responsable de ningún daño directo, indirecto, especial, accidental
o resultante de un defecto u omisión en este manual. El fabricante se reserva el derecho a modificar
este manual y los productos que describen en cualquier momento, sin aviso ni obligación. Las
ediciones revisadas se encuentran en la página web del fabricante.
Información de seguridad
A V I S O
El fabricante no es responsable de los daños provocados por un mal uso o aplicación incorrecta del producto.
Entre estos daños se incluyen, sin limitación, los daños directos y accidentales. El usuario sólo es responsable
de identificar los riesgos críticos de aplicación y de instalar adecuadamente los mecanismos para proteger los
procesos en caso de que el equipo no funcione correctamente.
Lea todo el manual antes de desembalar, instalar o trabajar con este equipo. Ponga atención a
todas las advertencias y avisos de peligro. El no hacerlo puede provocar heridas graves al usuario o
daños al equipo.
Asegúrese de que la protección proporcionada por el equipo no está dañada. No utilice ni instale
este equipo de manera distinta a lo especificado en este manual.
Uso de la información sobre riesgos
P E L I G R O
Indica una situación potencial o de riesgo inminente que, de no evitarse, provocará la muerte o lesiones graves.
70 Español

A D V E R T E N C I A
Indica una situación potencial o inminentemente peligrosa que, de no evitarse, podría provocar la muerte o
lesiones graves.
P R E C A U C I Ó N
Indica una situación potencialmente peligrosa que podría provocar una lesión menor o moderada.
A V I S O
Indica una situación que, si no se evita, puede provocar daños en el instrumento. Información que requiere
especial énfasis.
Etiquetas de precaución
Lea todas las etiquetas y rótulos adheridos al instrumento. En caso contrario, podrían producirse
heridas personales o daños en el instrumento. El símbolo que aparezca en el instrumento se
comentará en el manual con una declaración de precaución.
Este es un símbolo de alerta de seguridad. Obedezca todos los mensajes de seguridad que se
muestran junto con este símbolo para evitar posibles lesiones. Si se encuentran sobre el instrumento,
consulte el manual de instrucciones para obtener información de funcionamiento o seguridad.
Este símbolo indica la presencia de una fuente de luz que podría provocar lesiones oculares leves.
Obedezca todos los mensajes que se muestran a continuación de este símbolo para evitar posibles
lesiones oculares.
Este símbolo indica la presencia de dispositivos susceptibles a descargas electrostáticas. Asimismo,
indica que se debe tener cuidado para evitar que el equipo sufra daño.
El equipo eléctrico marcado con este símbolo no se podrá desechar por medio de los sistemas
europeos públicos de eliminación después del 12 de agosto de 2005. De acuerdo con las
regulaciones locales y nacionales europeas (Directiva UE 2002/98/EC), ahora los usuarios de
equipos eléctricos en Europa deben devolver los equipos viejos o que hayan alcanzado el término de
su vida útil al fabricante para su eliminación sin cargo para el usuario.
Nota: Para devolver los equipos para su reciclaje, póngase en contacto con el fabricante o distribuidor para obtener
instrucciones acerca de cómo devolver equipos que han alcanzado el término de su vida útil, accesorios eléctricos
suministrados por el fabricante y todo elemento auxiliar, para su eliminación.
Descripción general del producto
P E L I G R O
Peligro químico o biológico. Si este instrumento se usa para controlar un proceso de tratamiento y/o un
sistema de suministro químico para el que existan límites normativos y requisitos de control
relacionados con la salud pública, la seguridad pública, la fabricación o procesamiento de alimentos o
bebidas, es responsabilidad del usuario de este instrumento conocer y cumplir toda normativa
aplicable y disponer de mecanismos adecuados y suficientes que satisfagan las normativas vigentes
en caso de mal funcionamiento del equipo.
Este sensor está diseñado para trabajar con un controlador para la recolección de datos y
operación. El sensor puede utilizarse con varios controladores. Para obtener más información,
consulte el manual de usuario específico del sensor.
Las aplicaciones principales de este sensor son aplicaciones de aguas residuales industriales y
municipales. La tecnología del sensor LDO no consume oxígeno y puede medir la concentración de
oxígeno disuelto en aplicaciones sin flujo o con flujo bajo. Consulte la Figura 1.
Español 71

Figura 1 Sensor LDO
1 Tapa del sensor 3 NPT de 1 pulgada
2 Sensor de temperatura 4 Conector, conexión rápida (estándar)
Lista de componentes del sensor LDO
Asegúrese de haber recibido todos los componentes que se muestran en la Figura 2. Si faltan
elementos o están dañados, póngase en contacto con el fabricante o el representante de ventas
inmediatamente. Consulte la Figura 2.
Figura 2 Lista de componentes del sensor
1
1 Sensor LDO
2 Bolsas de calibración (2x)
1
El manual del usuario incluido no se muestra.
Instalación
Validación del tipo de sensor
P E L I G R O
Peligro de explosión. Sólo debe conectar componentes periféricos que estén claramente etiquetados
con el certificado para ubicaciones peligrosas de Clase 1, División 2.
A V I S O
La versión con certificación para ubicaciones peligrosas de este producto no cumple los requisitos de la Directiva
94/9/EC (Directiva ATEX).
1. Vaya al extremo del conector del cable.
72 Español

2. Lea la etiqueta del extremo del conector del cable. En las etiquetas de los sensores con
certificación para ubicaciones peligrosas, se leerá: "Rated: Class 1 Division 2" (Evaluado: Clase
1, División 2).
3. Examine el conector.
•
Los sensores con certificados para ubicaciones peligrosas disponen de un conector de
bloqueo de seguridad. Consulte la Figura 3 en la página 73.
• Los sensores que no cuentan con certificados para ubicaciones peligrosas tienen un conector
de conexión rápida sin un bloqueo de seguridad.
Conexión del sensor en una ubicación peligrosa
P E L I G R O
Peligro de explosión. Este equipo se puede usar en lugares no peligrosos o en los lugares peligrosos
de los grupos A, B, C y D de Clase 1, División 2 si se utiliza con sensores y equipos opcionales
específicos instalados de acuerdo a los planos de control para la instalación en lugares peligrosos.
Consulte siempre los planos de control y las regulaciones del código eléctrico para llevar a cabo una
instalación apropiada.
P E L I G R O
Peligro de explosión. Evite conectar o desconectar componentes o circuitos eléctricos sin antes
desconectar la alimentación eléctrica, a menos que se sepa que esa parte del equipo no presenta
riesgos.
A V I S O
En ubicaciones peligrosas, utilice únicamente un sensor y un conector de cables que cuenten con una
certificación para ubicaciones peligrosas. La versión con certificación para ubicaciones peligrosas de este
producto no cumple los requisitos de la Directiva 94/9/EC (Directiva ATEX).
Para disponer de más información, consulte Validación del tipo de sensor en la página
72.
1. Retire la cápsula del conector del controlador. Conserve la cápsula del conector para sellar la
apertura del conector cuando se retire el sensor.
2. Conecte el sensor al controlador. Para obtener más información, consulte el manual del
controlador.
3. Cierre la cerradura de seguridad en el conector.
4. Para retirar la cerradura de seguridad del conector, utilice un destornillador plano pequeño.
Consulte la Figura 3.
Figura 3 Cerradura de seguridad del conector
Español 73

Conexión del sensor en una ubicación no peligrosa
Consulte Figura 4 para conectar un sensor LDO a un controlador sc. Para obtener las instrucciones
de conexión, consulte el manual específico del controlador sc.
Figura 4 Conexión del sensor LDO (se muestra un sensor para ubicaciones no peligrosas)
Cuando haya conectado el sensor, realice una exploración del sensor. Consulte la Instalación del
sensor en la página
74.
Instalación del sensor
Existen dos opciones para instalar el sensor:
• Conectar el sensor mientras la alimentación eléctrica del controlador está desactivada. El
controlador buscará e instalará los sensores nuevos cuando se active.
• Conectar el sensor mientras la alimentación eléctrica del controlador está activada. Utilice el
comando Scan Devices (Dispositivos de exploración) para instalar el sensor nuevo:
Opción Descripción
Controlador sc200 Vaya a MENU>TEST/MAINT>SCAN DEVICE
(MENÚ>PRUEBA/MANTENIMIENTO>DISPOSITIVO DE EXPLORACIÓN).
Controlador sc100 Vaya a MENU>TEST/MAINT>SCAN SENSORS
(MENÚ>PRUEBA/MANTENIMIENTO>SENSORES DE EXPLORACIÓN).
Controlador sc1000 Vaya a MENU>SYSTEM SETUP>DEVICE MANAGEMENT>SCANNING FOR NEW
DEVICES (MENÚ>CONFIGURACIÓN DEL SISTEMA>GESTIÓN DE
DISPOSITIVOS>EXPLORACIÓN DE DISPOSITIVOS NUEVOS).
Para obtener información sobre la conexión del sensor digital, consulte Conexión del sensor en
una ubicación no peligrosa en la página
74 .
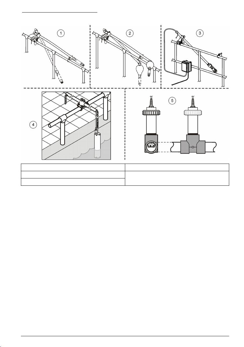
Opciones de instalación del sensor
Las opciones de instalación y de accesorios disponibles para el sensor LDO se suministran con las
instrucciones de instalación del kit de hardware. En la Figura 5 se muestran varias opciones de
instalación. Para pedir hardware de instalación, consulte Piezas de repuesto y accesorios
en la página 85.
74 Español

Figura 5 Opciones de instalación
1 Montaje en barra 4 Montaje con cadenas
2 Montaje flotante 5 Montaje de empalme
3 Montaje con el sistema de ráfagas de aire
Funcionamiento
Desplazamiento del usuario
Consulte la documentación del controlador para ver la descripción del teclado e información sobre
cómo desplazarse.
Configuración del sensor
Utilice el menú Configurar para introducir la información de identificación del sensor y para cambiar
las opciones para el manejo y almacenamiento de datos.
Para obtener más información sobre la instalación del sensor, consulte Instalación del sensor
en la página
74.
Asegúrese de que todos los valores del menú Configuration (Configuración) son correctos para la
aplicación.
1. Vaya a MENU>SENSOR SETUP>[Select Sensor]>CONFIGURE (MENÚ>CONFIGURACIÓN
DEL SENSOR>[Seleccione el sensor]>CONFIGURAR).
2. Seleccione una opción y, a continuación, pulse ENTER (Intro). A continuación, se enumeran las
opciones disponibles en una tabla.
Español 75

Opción Descripción
EDIT NAME (EDITAR NOMBRE) Cambia el nombre que corresponde al sensor en la parte superior de la
pantalla de medición. El nombre puede contener hasta 10 caracteres en
cualquier combinación de letras, números, espacios o signos de puntuación.
SET UNITS (ESTABLECER
TEMP (TEMPERATURA): establezce las unidades de temperatura en °C
UNIDADES)
(predeterminado) o en °F.
MEASURE (MEDIR): establezce las unidades de las mediciones en mg/l,
ppm o %.
ALT/PRESS (ALTITUD/PRESIÓN): establezca la altitud en m o pies y las
unidades de presión atmosférica en mmHg o torr. (Valor predeterminado =
0 pies)
ALT/PRESS
Introduzca el valor de la altitud o presión atmosférica. Este valor debe ser
(ALTITUD/PRESIÓN)
preciso para completar la calibración y las mediciones de la saturación en %
del aire. (Predeterminado = 0 pies).
SALINITY (SALINIDAD) Introduzca el valor de salinidad. Intervalo de salinidad: de 0,00 a
250,000 partes por mil (‰). Consulte Introducción de un valor de corrección
de salinidad en la página 77 para obtener más información. (Valor
predeterminado = 0).
SIGNAL AVERAGE (PROMEDIO
Configure el intervalo de tiempo al promedio de señal en segundos.
SEÑAL)
CLEAN INTRVL (INTERV.
Establezca el intervalo de tiempo para la limpieza manual del sensor en días.
LIMPIEZA)
(Valor predeterminado = 0 días. Un valor de 0 días desactiva el intervalo de
limpieza).
RESET CLN INTRVL
Establezca el intervalo de tiempo al último intervalo de limpieza guardado.
(RESTABLECER INTERV.
LIMPIEZA)
LOG SETUP (CONFIG.
Establece el intervalo de tiempo del almacenamiento de datos en el registro
REGISTRO)
de datos: 0,5, 1, 2, 5, 10, 15 (predeterminado), 30 y 60 minutos.
SET DEFAULTS (ESTABLECER
Restablece los valores predeterminados configurables para el sensor. No
VAL. PREDET.)
modifique los ajustes para la pendiente o el desvío.
Introducción de la unidad de presión atmosférica
La configuración de fábrica de la presión atmosférica (aire) es de 0 pies o del nivel del mar. Para
cambiar el valor predeterminado, siga los pasos de este procedimiento. El ajuste de la presión del
aire se introduce como unidades de elevación o de presión (preferido).
Nota: La precisión de la presión del aire es fundamental para calibrar el aire saturado (Calibración con aire
en la página
79). Utilice únicamente presión absoluta, no ajustada. Si se desconoce la presión absoluta del aire,
utilice la elevación correcta para la ubicación.
1. Vaya a MENU>SENSOR SETUP>[Select Sensor]>CONFIGURE>SET UNITS>AIR PRESS/ALT
UNITS (MENÚ>CONFIGURACIÓN DEL SENSOR>[Seleccione el
sensor]>CONFIGURAR>CONFIGURAR UNIDADES>UNIDADES ALTITUD/PRESIÓN DEL
AIRE).
2. Seleccione una de las opciones de unidades que se enumeran:
Opción Descripción
pies Pie: unidad de medida para la elevación
m Metros: unidad métrica de medición de la elevación
mmHg Milímetros de mercurio: unidad métrica de medición de la presión absoluta del aire
torr Unidad de medición de la presión absoluta del aire
76 Español

3. Confirme la selección. La pantalla de introducción del valor le mostrará las unidades
seleccionadas.
4. Introduzca el valor y, a continuación, confírmelo.
Introducción de un valor de corrección de salinidad
Las mediciones de oxígeno disuelto en muestras de salino pueden mostrar un valor aparente del
oxígeno disuelto muy diferente del valor actual de oxígeno disuelto. Para corregir la influencia de
sales disueltas en una muestra, introduzca un factor de corrección de salinidad.
Nota: Si se desconoce la presencia o la cantidad de salinidad del proceso, póngase en contacto con el personal de
ingeniería del centro de tratamiento.
1. Utilice un medidor de conductividad para medir la conductividad de la muestra en mS/cm a una
temperatura de referencia de 20 °C (68 °F).
2. Utilice la Tabla 1 para calcular el factor de corrección de salinidad en una saturación en partes
por mil (‰).
Nota: La concentración de iones cloruro, en g/kg, equivale a la clorinidad de la muestra. La salinidad se calcula
con la fórmula: Salinidad = 1,80655 × clorinidad.
La salinidad puede calcularse con la relación de la sección 2520 B de Standard Methods for the
Examination of Water and Wastewater (Métodos estándar para la evaluación de las aguas y las
*
aguas residuales).
,
3. Vaya a MENU>SENSOR SETUP>[Select Sensor]>CONFIGURE>SALINITY
(MENÚ>CONFIGURACIÓN DEL SENSOR>[Seleccione el
sensor]>CONFIGURAR>SALINIDAD).
4. Introduzca el factor de corrección de salinidad y confírmelo.
Tabla 1 Saturación de la salinidad (‰) por valor de conductividad (mS/cm)
mS/cm ‰ mS/cm ‰ mS/cm ‰ mS/cm ‰
5 3 16 10 27 18 38 27
6 4 17 11 28 19 39 28
7 4 18 12 29 20 40 29
8 5 19 13 30 21 42 30
9 6 20 13 31 22 44 32
10 6 21 14 32 22 46 33
11 7 22 15 33 23 48 35
12 8 23 15 34 24 50 37
13 8 24 17 35 25 52 38
14 9 25 17 36 25 54 40
15 10 26 18 37 26
*
Standard Methods for the Examiniation of Water and Wastewater, Edición 20.º. Editores: Lenore
S. Clesceri, Arnold E. Greenberg y Andrew D. Eaton, pág. 2-48-2-29 (1998). La relación entre la
clorinidad y la solubilidad del oxígeno se proporciona en la misma obra de referencia, en 4500-
O:I, pág. 4-131.
Español 77

Configure la salida lineal en el controlador.
Las salidas lineales devuelven los datos de la sonda a los sistemas PLC y SCADA o a otros
sistemas de recopilación de datos.
1. Vaya al menú de configuración de salidas del controlador.
Opción Descripción
sc200 Vaya a MENU>SETTINGS>sc200 SETUP>OUTPUT SETUP>[Select Output]>SET FUNCTION
(MENÚ>AJUSTES<CONFIGURACIÓN DE sc200>CONFIGURACIÓN DE SALIDA>[Seleccione la
salida]>CONFIGURAR FUNCIÓN).
sc100 Vaya a MENU>SYSTEM SETUP>OUTPUT SETUP>[Select Output]>SET FUNCTION
(MENÚ>CONFIGURACIÓN DEL SISTEMA>CONFIGURACIÓN DE SALIDA>[Seleccione la
salida]>CONFIGURAR FUNCIÓN).
sc1000 Vaya a MENU>SYSTEM SETUP>OUTPUT SETUP>[Select Output]>SET FUNCTION
(MENÚ>CONFIGURACIÓN DEL SISTEMA>CONFIGURACIÓN DE SALIDA>[Seleccione la
salida]>CONFIGURAR FUNCIÓN).
2. Configure la función para el controlador.
Opción Descripción
sc200 LINEAL
sc100 LINEAR CONTROL (CONTROL LINEAL) (valor predeterminado)
sc1000 LINEAR CONTROL (CONTROL LINEAL) (valor predeterminado)
Registros de Modbus
Está disponible una lista de registros Modbus para comunicación en red. Consulte www.hach.com o
www.hach-lange.com para obtener más información.
Calibración de las mediciones
El sensor se calibra en fábrica de acuerdo con las especificaciones. El fabricante no recomienda que
se calibre a menos que las agencias de regulación soliciten calibraciones periódicas. En caso que se
requiera una calibración, deje que el sensor se equilibre con el proceso antes de calibrarlo. No
calibre el sensor durante la configuración.
En la Tabla 2
se muestran las opciones de calibración.
Tabla 2 Opciones de calibración
Opción Descripción
AIR CAL (CAL. AIRE) Método de calibración recomendado. Esta calibración modifica la
pendiente.
SAMPLE CAL (CAL. MUESTRA) Calibración por comparación con un medidor manual de oxígeno
disuelto. Esta calibración modifica el desvío.
RESET DFLT CAL (RESTABLECER
Restablece la ganancia (pendiente) y el desvío de la calibración a los
CAL. PREDET.)
valores predeterminados de fábrica: ganancia predeterminada = 1,0;
desvío predeterminado = 0,0
78 Español

Calibración con aire
Notas para el usuario:
•
Asegúrese de que la bolsa de calibración contiene agua en el interior.
• Asegúrese de que el sellado entre la bolsa de calibración y el cuerpo del sensor es hermético.
• Asegúrese de que el sensor está seco cuando lo vaya a calibrar.
• Asegúrese de que los ajustes de la elevación y la presión del aire son adecuados para el lugar de
calibración.
• Deje tiempo suficiente para que la temperatura del sensor se estabilice con la temperatura del
lugar de la bolsa de calibración. Si existe una gran diferencia entre la temperatura del proceso y la
temperatura del lugar de calibración, es posible que el sensor tarde en estabilizarse hasta
15 minutos.
1. Retire el sensor del proceso. Utilice un paño húmedo para limpiar el sensor.
2. Ponga el sensor en su conjunto en una bolsa de calibración con unos 25 o 50 ml de agua.
Asegúrese de que la cápsula del sensor no entra en contacto con el agua del interior de la bolsa
de calibración y que no caen gotas de agua en la cápsula del sensor (Figura 6).
3. Utilice una correa o lazo de goma o la mano para crear un sellado hermético alrededor del
cuerpo del sensor.
4. Deje que el instrumento se estabilice durante 15 minutos antes de calibrarlo. Evite que la bolsa
de calibración entre en contacto directo con la luz solar durante la calibración.
5. Asegúrese de que la elevación o la presión absoluta del aire actual estén configuradas
correctamente. Consulte la Introducción de la unidad de presión atmosférica en la página 76.
Nota: El fabricante recomienda el uso de una presión real o absoluta del aire como buena práctica.
6. Vaya a MENU>SENSOR SETUP>[Select Sensor]>CALIBRATE>AIR CAL
(MENÚ>CONFIGURACIÓN DEL SENSOR>[Seleccione el sensor]>CALIBRAR>CAL. AIRE).
7. Seleccione la opción de la señal de salida durante la calibración:
Opción Descripción
Activa Durante el proceso de calibración el instrumento envía el valor de medición
actual de salida.
Hold (Retenido) Durante el proceso de calibración el valor de salida del sensor se mantiene en el
valor de medición actual.
Transfer (Transferencia) Durante el proceso de calibración se envía un valor predeterminado. Consulte el
manual del usuario del controlador para cambiar el valor predeterminado.
8. El controlador mostrará el mensaje "Move the probe to bag" (Mover sonda). Deje que el valor se
estabilice. Pulse ENTER (Intro) para aceptar el valor estable. A su vez, deje que la calibración
continúe hasta que se muestre el mensaje "Complete" (Finalizado).
9. Cuando se haya calibrado el sensor, póngalo en proceso. Pulse ENTER (Intro).
Español 79

Figura 6 Procedimiento de calibración del aire
Si el valor no se estabiliza, en la pantalla se mostrará el mensaje "Unable to Calibrate" (No se puede
calibrar), seguido de un mensaje de error. En la Tabla 3 se muestran los mensajes de error y las
soluciones para los problemas de calibración.
Tabla 3 Mensajes de error de la calibración del aire
Mensaje Descripción Resolución
Cal fail, gain high (Error de calibración,
El valor de ganancia calculado es demasiado
Repita la calibración.
ganancia elevada)
elevado.
Cal fail, gain low (Error de calibración,
El valor de ganancia calculado es demasiado
Repita la calibración.
ganancia baja)
bajo.
Cal fail, unstable (Error de calibración,
El valor no se estabilizó en el tiempo máximo
Repita la calibración.
inestable)
de calibración permitido.
Calibración de la muestra: calibración por comparación
El método de calibración utiliza un sensor alternativo conectado a un medidor manual.
1. Ponga en funcionamiento el sensor alternativo. Coloque el segundo sensor lo más próximo
posible al primer sensor.
2. Espere a que el valor de oxígeno disuelto se estabilice.
3. En el controlador del primer sensor, vaya a MENU>SENSOR SETUP>[Select
Sensor]>CALIBRATE>SAMPLE CAL (MENÚ>CONFIGURACIÓN DEL SENSOR>[Seleccione el
sensor]>CALIBRAR>CAL. MUESTRA).
4. Seleccione la opción de la señal de salida durante la calibración:
Opción Descripción
Activa Durante el proceso de calibración el instrumento envía el valor de medición
actual de salida.
Hold (Retenido) Durante el proceso de calibración el valor de salida del sensor se mantiene en el
valor de medición actual.
Transfer (Transferencia) Durante el proceso de calibración se envía un valor predeterminado. Consulte el
manual del usuario del controlador para cambiar el valor predeterminado.
5. En el controlador se mostrará:
•
"Press ENTER when stabilized" (Pulse INTRO cuando se estabilice)
• La medición actual de oxígeno disuelto
• La medición actual de la temperatura
80 Español

