Beurer BM 45 – page 2
Manual for Beurer BM 45
Table of contents
- 1. Getting to know your instrument
- 2. Important information Signs and symbols Advice on use
- Storage and Care Advice on batteries
- 3. Device description Repair and disposal
- Information on the display: 4. Preparing the measurement Inserting the batteries Setting the hour format, date and time
- Operation with the mains part
- 5. Measuring blood pressure 5.1 Positioning cuff 5.2 Correct posture
- Performing the blood pressure measurement 6. Evaluating results Cardiac arrhythmia:
- WHO classification: Range of blood pressure values Systolic (in mmHg) Diastolic (in mmHg) Measure 7. Displaying and deleting measurements
- 8. Cleaning and storing the instrument
- 10. Specifications 9. Rectifying faults
- 11. Mains part

It is essential to set the date and time. Otherwise, you will not
The hour flashes on the display.
be able to save your measured values correctly with a date and
•
Choose the desired hour with the M1/
time and access them again later.
M2 memory buttons and confirm with the
If you press and hold the M1 or M2 memory button, you
Start/stop button .
can set the values more quickly.
Time
The minute flashes on the display.
•
Press and hold the Start/stop button for
•
Choose the desired minute with the M1/
5 seconds.
M2 memory buttons and confirm with the
•
Choose the desired hour format with the
Start/stop button .
M1/M2 memory buttons and confirm with
the Start/stop button .
Operation with the mains part
Hour format
You can also operate this device with a mains part.
When doing so, there must not be any batteries in the battery
The year flashes on the display.
compartment. The mains part can be obtained from specialist
•
Choose the desired year with the M1/
retailers or from the service address using order number 071.60.
M2 memory buttons and confirm with the
•
To prevent possible damage to the device, the blood pres-
Start/stop button .
sure monitor must only be used with the mains part de-
The month flashes on the display.
scribed here.
•
Insert the mains part into the connection provided for this
•
Choose the desired month with the M1/
purpose on the right-hand side of the blood pressure moni-
M2 memory buttons and confirm with the
tor. The mains part must only be connected to the mains
Date
Start/stop button .
voltage that is specified on the type plate.
The day flashes on the display.
•
Then insert the mains plug of the mains part into the mains
•
Choose the desired day with the M1/M2
socket.
memory buttons and confirm with the
•
After using the blood pressure monitor, unplug the mains
Start/stop button .
part from the mains socket first and then disconnect it from
the blood pressure monitor. As soon as you unplug the
If the hour format is set as 12h, the day/month dis-
mains part, the blood pressure monitor loses the date and
play sequence is reversed.
time setting but the saved measurements are retained.
21

5. Measuring blood pressure
If the measurement is performed on the right upper arm,
the line should be located on the inside of your elbow. En-
Please ensure the device is at room temperature before meas-
sure that your arm is not pressing on the line.
uring.
The measurement can be performed on the left or right arm.
Blood pressure may vary between the right and left arm, which
may mean that the measured blood pressure values are differ-
5.1 Positioning cuff
ent. Always perform the measurement on the same arm.
Fit the cuff round your bare left upper
If the values between the two arms are significantly different,
arm. Blood circulation in the arm
please consult your doctor to determine which arm should be
should not be restricted by tight
used for the measurement.
clothing or other objects.
Important: The unit may only be operated with the original cuff.
The cuff is suitable for an arm circumference of 22 to 36 cm.
The cuff should be placed on the
A larger cuff for upper-arm circumferences of 35 to 44 cm can
upper arm so that the lower edge is
be obtained from specialist retailers or from the service ad-
2 to 3 cm above the bend of the elbow
dress using order number 163.387.
and above the artery. The tube should
be in line with the centre of the palm.
5.2 Correct posture
Now place the free end of the cuff
snugly, but not too tightly, around the
arm, and fix it with the Velcro fastener.
The cuff should be fitted tight enough
to allow just two fingers to fit beneath
the cuff.
•
Rest for approx. 5 minutes before each measurement. Other-
Insert the cuff tubing into the socket
wise there may be divergences.
for the cuff attachment.
•
You can perform the measurement either sitting or lying down.
Always make sure that the cuff is on a level with your heart.
•
To carry out a blood pressure measurement, make sure you are
sitting comfortably with your arms and back leaning on some-
thing. Do not cross your legs. Place your feet flat on the ground.
22

•
In order not to distort the result, it is important to keep still
•
Now select the desired user memory by pressing the
during the measurement and not talk.
M1 or M2 memory buttons. If you do not select a
user memory, the measurement is stored in the most
Performing the blood pressure measurement
recently used user memory. The relevant symbol M1 or
As described above, attach the cuff and adopt the pos-
M2 appears on the display.
ture in which you want to perform the measurement.
•
Using the Start/stop button , switch off the blood
•
To start the blood pressure monitor, press
pressure monitor. The measurement is then stored in
the Start/stop button . All displays will
the selected user memory.
illuminate briefly.
If you forget to turn off the device, it will switch off
The blood pressure monitor will begin the
automatically after approx. 3 minutes. In this case too,
measurement automatically after 3 seconds.
Measurement
the value is stored in the selected or most recently used
user memory.
The cuff automatically inflates.
•
Wait at least 5 minutes before taking an-
Measuring can be cancelled at any time by pressing
other measurement!
the Start/stop button
.
The cuff’s air pressure is slowly released. If you already
recognise a tendency for high blood pressure, you should
reinflate the cuff and increase the cuff’s pressure again. As
soon as a pulse is found, the pulse symbol is displayed.
6. Evaluating results
Measurement
•
Systolic pressure, diastolic pressure and
Cardiac arrhythmia:
pulse measurements are displayed.
This instrument can identify possible cardiac arrhythmia disor-
ders during measurement and if necessary indicates the meas-
urement with the flashing icon .
This may be an indicator for arrhythmia. Arrhythmia is a condi-
•
_
appears if the measurement could
tion where the heart rhythm is abnormal as a result of defects
not be performed properly. Observe the
in the bioelectrical system controlling the heart beat. The symp-
_
chapter on error messages/troubleshooting
toms (omitted or premature heart beats, slow or excessively fast
in these instructions for use and repeat the
heart rate) may be caused, among other things, by heart dis-
measurement.
ease, age, physical predisposition, excessive use of stimulants,
stress or lack of sleep. Arrhythmia can only be ascertained
through examination by your doctor.
23

WHO classification:
Repeat the measurement if the flashing icon is displayed
In accordance with the guidelines/definitions of the World Health
after the measurement. Please note that you should rest for
Organization and the latest findings, the measurements can be
5 minutes between measurements and not talk or move dur-
classified and assessed according to the following table.
ing the measurement. If the icon appears often, please
However, these standard values serve only as a general guide-
contact your doctor. Any self-diagnosis and treatment based
line, as the individual blood pressure varies in different people
on the test results may be dangerous. It is vital to follow your
and different age groups etc.
doctor‘s instructions.
Range of blood pressure values Systolic (in mmHg) Diastolic (in mmHg) Measure
Grade 3: Severe hypertension ≥ 180 ≥ 110 Seek medical advice
Grade 2: Moderate hypertension 160 – 179 100 – 109 Seek medical advice
Grade 1: Mild hypertension 140 – 159 90 – 99 Have it checked regularly by doctor
High-normal 130 – 139 85 – 89 Have it checked regularly by doctor
Normal 120 – 129 80 – 84 Check it yourself
Optimal < 120 < 80 Check it yourself
Source: WHO, 1999
It is important to consult your doctor regularly for advice. Your
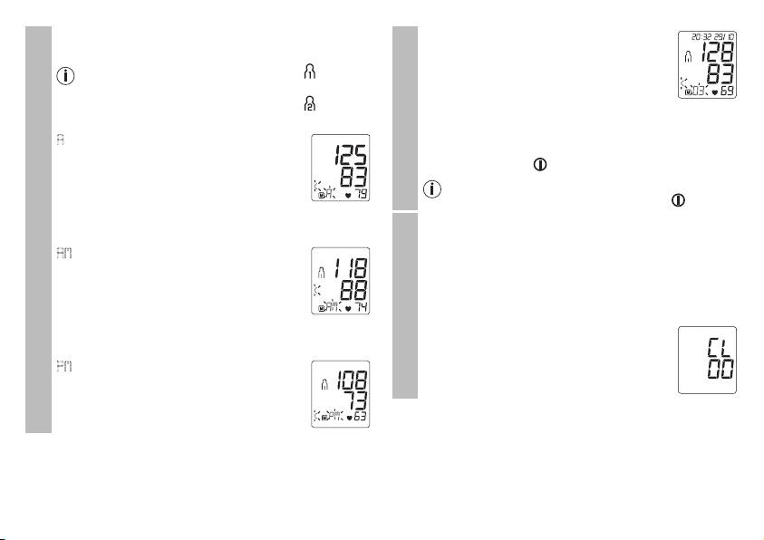
7. Displaying and deleting measurements
doctor will tell you your individual values for normal blood pres-
The results of every successful measurement are stored
sure as well as the value above which your blood pressure is
together with the date and time. If there are more than
classified as dangerous.
60 measurements, the oldest measurements are lost.
The classification on the display and the scale on the unit show
which category the recorded blood pressure values fall into. If
•
To access memory recall mode, the blood pressure
the values of systole and diastole fall into two different WHO
monitor must first be started. To do this press the Start/
categories (e.g. systole in the ‘High normal’ category and dias-
stop button .
tole in the ‘Normal’ category), the graphical WHO classification
User memory
•
Within 3 seconds of the full-screen display appearing,
on the unit always shows the higher category; for the example
select the desired user memory ( ) with the M1 or
given this would be ‘High normal’.
M2 memory button.
24

– To view the measurements for user memory , press
•
When the relevant memory button (M1 or
the M1 memory button.
M2) is pressed again, the last individual
measurement is displayed (in this example,
– To view the measurements for user memo-
measurement 03).
ry
, press the M2 memory button.
Your last measurement will appear on the
User memory
•
When the relevant memory button (M1 or M2) is
display.
pressed again, you can view your individual measure-
ments.
•
Press the relevant memory button (M1 or M2).
•
To switch the device off again, press the Start/stop
If you have selected user memory , the M1 memory
button or wait 30 sec.
button must be pressed.
If you have selected user memory , the M2 memory
Individual measured values
You can exit the menu at any time by pressing the
button must be pressed.
Start/stop button
.
A
flashes on the display.
•
To clear the memory of the relevant user memory, you
The average value of all saved measured
must first select a user memory.
values in this user memory is displayed.
•
Start individual measurement access.
•
Press and hold the M1 & M2 memory buttons for
•
Press the relevant memory button (M1 or M2).
5 seconds.
All the values in the current user memory are
AM
flashes on the display.
deleted.
The average value of the morning measure-
Average values
ments for the last 7 days is displayed (morn-
ing: 5.00 a.m. – 9.00 a.m.).
Deleting measured values
•
Press the relevant memory button (M1 or M2).
8. Cleaning and storing the instrument
PM
flashes on the display.
•
Clean your device and cuff carefully only with a slightly mois-
The average value of the evening measure-
tened cloth.
ments for the last 7 days is displayed (even-
•
The frequency of cleaning depends on the contamination
ing: 6.00 p.m. – 8.00 p.m.).
level of the device. Clean the blood pressure device and cuff
as soon as any dirt appears on the device.
25

•
Do not use detergents or solvents.
10. Specifications
•
On no account must you immerse the computer in water,
Model no. BM 45
otherwise liquid can enter it and cause demage.
Type M1502
9. Rectifying faults
Measurement
Oscillometric, non-invasive blood pres-
In case of faults, the _ message appears in the display.
method
sure measurement on the upper arm
Error messages may appear if:
Measurement range Cuff pressure 0 – 300 mmHg,
•
systolic or diastolic pressure could not be measured ( or
systolic 60 – 260 mmHg,
appears on the display),
diastolic 40 –199 mmHg,
•
systolic or diastolic pressure was outside the measurement
Pulse 30 –180 beats/minute
range ( or Lo appears on the display),
Display accuracy Systolic ± 3 mmHg, diastolic ± 3 mmHg,
•
the cuff is fastened too tightly or loosely ( or appears
pulse ± 5 % of the value shown
on the display),
•
the pump pressure is higher than 300 mmHg ( appears
Measurement
Max. permissible standard deviation
on the display),
inaccuracy
according to clinical testing:
•
pumping up takes longer than 160 seconds ( appears on
systolic 8 mmHg /diastolic 8 mmHg
the display),
Memory 2 x 60 memory spaces
•
there is a system or device error ( , , or ap-
Dimensions L 165 mm x W 107 mm x H 50 mm
pears on the display),
Weight Approx. 284 g (without batteries)
•
the batteries are almost empty ,
•
the data could not be sent to the PC ( appears in the
Cuff size 22 to 36 cm
display).
Permissible operating
+10 °C to + 40 °C, ≤ 90 % relative air
conditions
humidity (non-condensing)
In such cases, repeat the measurement. Ensure that the cuff
line is correctly attached and that you do not move or speak. If
Permissible storage
- 20 °C to + 55 °C, ≤ 90 % relative air hu-
necessary, reinsert or replace the batteries.
and transport condi-
midity, 800 –1050 hPa ambient pressure
tions
Power supply
4 x 1,5 V
AA batteries
Battery life For approx. 250 measurements, de-
pending on the blood pressure level
and/or pump pressure
26

Precise instructions for checking accuracy may be requested
Accessories Instruction for use, 4 x 1.5 V AA batter-
from the service address.
ies, storage pouch
Classification Internal supply, IPX0, no AP or APG,
11. Mains part
continuous operation, application part
Model no. FW 7575M/EU/6/06
type BF (cuff), CLASS II (when using a
Input 100 – 240 V, 50 – 60 Hz
mains part)
Output 6 V DC, 600 mA, only in connection with
Technical information is subject to change without notification
beurer blood pressure monitor.
to allow for updates.
Supplier Friwo Gerätebau GmbH
•
This unit is in line with European Standard EN 60601-1-2
Protection This device is double insulated and
and is subject to particular precautions with regard to elec-
protected against short circuit and
tromagnetic compatibility (EMC). Please note that portable
overload by a primary thermal fuse.
and mobile HF communication systems may interfere with
Make sure to take the batteries out
this unit. More details can be requested from the stated Cus-
of the compartment before using the
tomer Service address or found at the end of the instructions
mains part.
for use.
Polarity of the the DC voltage connec-
•
This device is in line with the EU Medical Devices Directive
tion
93/42/EC, the “Medizinproduktegesetz” (German Medical
Devices Act) and the standards EN1060-1 (non-invasive
Double insulated / equipment class 2
sphygmomanometers, Part 1: General requirements),
Enclosures and
Equipment enclosed to protect against
EN1060-3 (non-invasive sphygmomanometers, Part 3:
Protective Covers
contact with live parts, and with parts
Supplementary requirements for electro-mechanical blood
which can become live (finger, pin,
pressure measuring systems) and IEC80601-2-30 (Medical
hook test).
electrical equipment – Part 2 – 30: Particular requirements
The operator shall not contact the pa-
for the safety and essential performance of automated non-
tient and the output plug of AC mains
invasive blood pressure monitors).
part simultaneously.
•
The accuracy of this blood pressure monitor has been care-
fully checked and developed with regard to a long useful
life. If using the device for commercial medical purposes, it
must be regularly tested for accuracy by appropriate means.
27

FRANÇAIS
Sommaire
1. Premières expériences ..................................................28
7. Récupérer et supprimer les valeurs de mesure ...........37
2. Remarques importantes ................................................29
8. Nettoyage et rangement de l’appareil .........................38
3. Description de l’appareil ................................................32
9. Suppression des erreurs .............................................39
4. Préparer la mesure ........................................................33
10. Fiche technique ...........................................................39
5. Mesure de la tension artérielle ......................................34
11. Adaptateur ...................................................................40
6. Evaluation des résultats ................................................36
Chère cliente, cher client,
aucun dommage visible et que la totalité de l‘emballage a bien
Nous sommes heureux que vous ayez choisi un produit de
été retirée. En cas de doute, ne l’utilisez pas et adressez-vous
notre assortiment. Notre nom est synonyme de produits de
à votre revendeur ou au service client indiqué.
qualité haut de gamme ayant subi des vérifications appro-
Le lecteur de tension artérielle au bras sert à la mesure non
fondies, ils trouvent leur application dans le domaine de la
invasive et au contrôle de la tension artérielle chez l’adulte.
chaleur, du contrôle du poids, de la pression artérielle, de la
Vous pouvez ainsi mesurer votre tension artérielle de manière
mesure de température du corps et du pouls, des thérapies
simple et rapide, enregistrer les valeurs mesurées et afficher la
douces, des massages et de l’air. Lisez attentivement ce mode
courbe et la moyenne des valeurs mesurées.
d’emploi, conservez-le pour un usage ultérieur, mettez-le à la
L’appareil vous prévient en cas d’arythmie cardiaque éventu-
disposition des autres utilisateurs et suivez les consignes.
elle.
Les valeurs obtenues sont classées conformément aux directi-
Avec nos sentiments dévoués
ves de l’OMS et évaluées sur le plan graphique.
Beurer et son équipe
Conservez ce mode d’emploi pour pouvoir vous y référer
ultérieurement et faites en sorte qu’il soit accessible aux autres
1. Premières expériences
utilisateurs.
Vérifiez que l‘emballage du tensiomètre BM 45 de Beurer est
intact et que tous les éléments sont inclus. Avant l‘utilisation,
assurez-vous que l‘appareil et les accessoires ne présentent
28

2. Remarques importantes
Symboles utilisés
Les symboles suivants sont utilisés dans le mode d’emploi, sur
l’emballage et sur la plaque signalétique de l’appareil et des
accessoires:
Attention
Remarque
Ce symbole indique des informations
importantes
Respectez les consignes du mode d’emploi
Appareil de type BF
Courant continu
Veuillez éliminer l’appareil conformément
à la directive européenne – WEEE (Waste
Electrical and Electronic Equipment) relative
aux appareils électriques et électroniques
usagés.
Fabricant
29
Storage
55°C
-20°C
RH ≤90%
Température de transport et de stockage
admissible. Humidité de transport et de
stockage admissible.
Operating
40°C
10°C
RH ≤90%
Température et taux d’humidité d’utilisation
admissibles
Protéger contre l’humidité
SN Numéro de série
Le sigle CE atteste de la conformité aux
exigences fondamentales de la directive
0483
93/42/CEE relative aux dispositifs médi-
caux.
Remarques relatives à l’utilisation
•
Mesurez toujours votre tension au même moment de la jour-
née afin que les valeurs soient comparables.
•
Avant toute mesure, reposez-vous environ 5minutes!
•
Lorsque vous devez effectuer plusieurs mesures sur une
personne, patientez à chaque fois 5minutes entre chaque
mesure.
•
Évitez de manger, boire, fumer ou d’exercer des activités
physiques pendant au moins 30minutes avant la mesure.
•
Effectuez une nouvelle mesure si vous avez un doute sur les
valeurs mesurées.
•
Les mesures que vous avez établies servent juste à vous
tenir informé de votre état- elles ne remplacent pas un exa-
men médical! Parlez-en avec votre médecin, vous ne devez
prendre aucune décision d’ordre médical sur la base de ces
seules mesures (par ex. choix de médicaments et de leurs
dosages)!

•
N’utilisez pas le tensiomètre sur des nouveaux-nés et les pa-
•
Ne placez pas le brassard sur des plaies, son utilisation peut
tientes atteintes de pré-éclampsie. Nous recommandons de
les aggraver.
consulter le médecin avant d’utiliser le tensiomètre pendant
•
Vous pouvez utiliser le tensiomètre avec des piles ou un
la grossesse.
adaptateur secteur. Notez que la transmission et l’enregis-
•
Les maladies cardio-vasculaires peuvent entraîner des er-
trement des données n’est possible que si votre tensiomètre
reurs de mesure, plus précisément des mesures imprécises.
est alimenté. Dès que les piles sont usées ou que l’adapta-
Ce problème se pose aussi en cas de tension très basse, de
teur secteur est débranché, le tensiomètre perd la date et
diabète, de troubles de la circulation et du rythme cardiaque
l’heure configurées.
et de frissons de fièvre ou de tremblements.
•
L’arrêt automatique permet de faire passer le tensiomètre en
•
Le tensiomètre ne doit pas être utilisé parallèlement à un
mode économie d’énergie lorsqu’aucune touche n’est mani-
appareil chirurgical haute fréquence.
pulée pendant un délai de 3 minutes.
•
Utilisez uniquement l’appareil sur des personnes dont le
•
L’appareil est conçu pour l’utilisation décrite dans ce mode
périmètre du bras correspond à celui indiqué pour l’appareil.
d’emploi. Le fabricant ne peut être tenu pour responsable
•
Veuillez noter que la fonction du membre concerné peut être
des dommages causés par une utilisation inappropriée ou
entravée lors du gonflage.
non conforme.
•
Il ne faut pas bloquer la circulation sanguine plus longtemps
Remarques relatives à la conservation et à l’entretien
que nécessaire au cours de la prise de tension. Si l’appareil
ne fonctionne pas bien, retirez le brassard du bras.
•
L’appareil de mesure de la tension artérielle est constitué
•
Évitez de presser, d’aplatir ou de plier le tuyau du brassard
de pièces électroniques, de grande précision. L’appareil
en le manipulant.
doit être conservé dans un environnement approprié afin de
•
Évitez des mesures trop fréquentes ou une pression continue
garantir la précision des valeurs et d’optimiser la durée de
du brassard. Elles entraînent une réduction de la circulation
vie du produit :
sanguine et constituent un risque de blessure.
– Protégez l’appareil des chocs et conservez-le à l’abri de
•
Veillez à ne pas placer le brassard sur un bras, dont les
l’humidité, de la poussière, des variations thermiques et
artères ou les veines sont soumises à un traitement médical,
d’une exposition directe au soleil.
par exemple en présence d’un dispositif d’accès intravas-
– Ne laissez pas tomber l’appareil.
culaire destiné à un traitement intravasculaire ou en cas de
– N’utilisez pas l’appareil à proximité de forts champs élec-
shunt artérioveineux.
tromagnétique. Eloignez-le des radios ou des téléphones
•
N’utilisez pas le brassard sur des personnes qui ont subi une
mobiles.
mastectomie.
30

– Utilisez uniquement les brassards de rechange fournis
•
N’ouvrez pas l’appareil. Le non-respect de cette consigne
ou d’origine. Dans le cas contraire, vous obtiendrez des
annulera la garantie.
valeurs mesurées erronées.
•
Vous ne devez en aucun cas réparer ou ajuster l’appareil
•
N’appuyez pas sur les touches tant que vous n’avez pas mis
vous-même. Le cas contraire, aucun fonctionnement irrépro-
le brassard.
chable n’est garanti.
•
Au cas où vous ne vous servez pas de l’appareil pendant
•
Les réparations doivent être effectuées uniquement par le
une longue période, nous vous recommandons de retirer les
service après-vente ou des revendeurs agréés. Cependant
piles.
avant de faire une réclamation, contrôlez d’abord les piles et
changez-les, le cas échéant.
Remarques relatives aux piles
•
Dans l’intérêt de la protection de l’environnement,
•
Si du liquide de la cellule de pile entre en contact avec la
l’appareil ne doit pas être jeté avec les ordures ména-
peau ou les yeux, rincez la zone touchée avec de l’eau et
gères à la fin de sa durée de service. L’élimination
consultez un médecin.
doit se faire par le biais des points de collecte compétents
•
Risque d’ingestion ! Les enfants en bas âge pourraient avaler
dans votre pays. Veuillez éliminer l’appareil conformément
des piles et s’étouffer. Veuillez donc conserver les piles hors
à la directive européenne – WEEE (Waste Electrical and
de portée des enfants en bas âge !
Electronic Equipment) relative aux appareils électriques et
•
Respectez les signes de polarité plus (+) et moins (-).
électroniques usagés. Pour toute question, adressez-vous
•
Si la pile a coulé, enfilez des gants de protection et nettoyez
aux collectivités locales responsables de l’élimination et du
le compartiment à piles avec un chiffon sec.
recyclage de ces produits.
•
Risque d’explosion ! Ne jetez pas les piles dans le feu.
•
En cas de non utilisation prolongée de l’appareil, sortez les
piles du compartiment à piles.
•
Remplacez toujours l’ensemble des piles simultanément.
•
N’utilisez pas d’accumulateur !
•
Ne démontez, n’ouvrez ou ne cassez pas les piles.
Remarques relatives à la réparation et à la mise au
rebut
•
Les piles ne sont pas des ordures ménagères. Veuillez jeter
les piles usagées dans les conteneurs prévus à cet effet.
31

3. Description de l’appareil
Données affichées à l’écran:
1 2 3 4
1. Date / heure
2. Pression systolique
3. Pression diastolique
WHO
4. Valeur du pouls mesurée
SYS
mmHg
9
5. Symbole Pouls
5
6. Dégonflage (flèche)
DIA
mmHg
7. Numéro de l’emplacement de sauvegarde/valeur moyenne
8
PUL
de l’affichage de la mémoire ( ), matin ( ), soir ( )
/min
6
8. Symbole changement des piles
9. Mémoire utilisateur
10. Classement OMS
7
11. Symbole troubles du rythme cardiaque
1
1. Manchette
11
2. Tuyau de manchette
3. Connexion à la manchette
10
4. Prise pour l’adaptateur secteur
2
5. Écran
9
6. Touches mémoire M1/M2
7. Touche MARCHE/ARRÊT
8
3
8. Échelle de l’OMS
9. Prise pour la connexion à la manchette (côté gauche)
4
567
32

4. Préparer la mesure
Régler le format de l’heure, la date et l’heure
Insérez les piles
Dans ce menu, vous avez la possibilité de régler successive-
ment les fonctions suivantes.
•
Retirez le couvercle du compar-
timent à piles se trouvant sur la
Format de l’heure
➔
Date
➔
Heure
face arrière de l’appareil.
•
Insérez quatre piles de type
Vous devez impérativement régler la date et l’heure. Ce n’est
1,5 V AA (type alcaline LR 06).
qu’ainsi que vous pouvez correctement enregistrer et récupérer
Veillez impérativement à insérer
ultérieurement vos mesures avec la date et l’heure.
les piles en respectant la pola-
Vous pouvez régler plus rapidement les valeurs en mainte-
4 x 1,5
rité indiquée. N’utilisez pas de
nant enfoncées les touches de mémoire M1 ou M2.
batteries rechargeables.
•
Maintenez la touche MARCHE/ARRÊT
•
Refermez soigneusement le couvercle du compartiment à
enfoncée pendant 5 secondes.
piles.
•
À l’aide des touches de mémoire M1/M2,
Si le symbole de changement des piles
apparaît en
sélectionnez le format d’heure que vous
continu, il n’est plus possible d’effectuer de mesure et vous
souhaitez et confirmez avec la touche
devez changer toutes les piles. Dès que les piles sont retirées
MARCHE/ARRÊT .
de l’appareil, l’heure doit être de nouveau réglée. Les valeurs
Format de l’heure
mesurées enregistrées sont conservées.
L’année clignote à l’écran
Les piles usagées et complètement déchargées doivent être
mises au rebut dans des conteneurs spéciaux ou aux points de
•
À l’aide des touches de mémoire M1/M2,
collecte réservés à cet usage ou bien déposées chez un
sélectionnez l’année souhaitée et confir-
revendeur d’appareils électriques. Vous avez l’obligation légale
mez avec la touche MARCHE/ARRÊT .
d’éliminer les piles.
Date
Le mois clignote à l’écran
Ces pictogrammes se trouvent sur les piles à
•
À l’aide des touches de mémoire M1/M2,
substances nocives :
sélectionnez le mois souhaité et confirmez
PB = pile contenant du plomb,
avec la touche MARCHE/ARRÊT .
Cd = pile contenant du cadmium,
Hg = pile contenant du mercure.
33
V AA (LR06)

•
Après chaque utilisation du tensiomètre, débranchez d’abord
Le jour clignote à l’écran
l’adaptateur secteur de la prise, puis déconnectez-le du
•
À l’aide des touches de mémoire M1/M2,
tensiomètre. Dès que vous débranchez l’adaptateur secteur,
sélectionnez le jour souhaité et confirmez
le tensiomètre perd la date et l’heure. Les valeurs mesurées
Date
avec la touche MARCHE/ARRÊT .
enregistrées sont néanmoins conservées.
Si le format de l’heure est réglé sur 12h, l’ordre d’affi-
5. Mesure de la tension artérielle
chage du jour et du mois est inversé.
Veuillez amener l’appareil à température ambiante avant la
Les heures clignotent à l’écran
mesure.
•
À l’aide des touches de mémoire M1/M2,
Vous pouvez effectuer la mesure sur le bras gauche ou droit.
sélectionnez l’heure souhaitée et confirmez
5.1 Mise en place du brassard
avec la touche MARCHE/ARRÊT .
Posez le brassard autour du bras
Les minutes clignotent à l’écran
Heure
gauche nu. L’irrigation sanguine du
•
À l’aide des touches de mémoire M1/M2,
bras ne doit pas être entravée par des
sélectionnez le nombre de minutes souhai-
vêtements trop serrés ou toute autre
tées et confirmez avec la touche MARCHE/
chose.
ARRÊT .
Placez le brassard de telle sorte que
Fonctionnement avec l’adaptateur secteur
son bord inférieur se situe 2 à 3 cm
Vous pouvez aussi utiliser cet appareil en le branchant avec un
au-dessus du coude et au-dessus de
adaptateur secteur.
l’artère. Le cordon doit être orienté en
Pour cela, le compartiment à piles doit être vide. L’adaptateur
direction du milieu de la paume de la
secteur est disponible en boutique spécialisée ou auprès du
main.
service après vente sous la référence 071.60.
Enroulez bien l’extrémité libre du
•
Pour éviter d’endommager le tensiomètre, ne l’utilisez qu’avec
brassard autour du bras, sans trop
l’adaptateur secteur décrit ici.
serrer et fixez à l’aide de la bande
•
Branchez l’adaptateur secteur à la prise prévue à cet effet sur
agrippante. Le brassard devrait être
le côté droit du tensiomètre. Ne raccordez pas l’adaptateur à
suffisamment serré de sorte que deux
une autre tension que celle indiquée sur la plaque signalétique.
doigts seulement peuvent passer sous
•
Branchez ensuite la fiche de l’adaptateur secteur à la prise.
le brassard.
34

Branchez le cordon dans la prise
• Vous pouvez effectuer la mesure en position assise ou cou-
prévue à cet effet.
chée. Quelque soit la position, veillez à ce que le brassard se
trouve à la hauteur du coeur. Pour ne pas fausser le résultat,
il est important de rester tranquille durant la mesure et de ne
pas parler.
• Installez-vous confortablement avant de prendre votre ten-
Si vous effectuez la mesure sur le bras droit, le tuyau se
sion. Faites en sorte que votre dos et vos bras soient bien
trouve à l’intérieur de votre coude. Assurez-vous que votre
appuyés sur le dossier et les accoudoirs. Ne croisez pas les
bras n’est pas posé sur le tuyau.
jambes. Posez les pieds bien à plat sur le sol.
La tension peut être différente entre le bras droit et le gauche,
• Pour ne pas fausser le résultat de la mesure, il est important
les valeurs de tension mesurées peuvent donc également être
de rester calme pendant la mesure et de ne pas parler.
différentes. Effectuez toujours la mesure sur le même bras.
Mesurer la tension artérielle
Si les valeurs entre les deux bras sont très différentes, vous
devez déterminer avec votre médecin quel bras utiliser pour la
Positionnez la manchette tel que décrit plus haut et ins-
mesure.
tallez-vous dans la position de votre choix pour effectuer
la mesure.
Attention: L’appareil ne doit être utilisé qu’avec la manchette
d’origine. La manchette est prévue pour un tour de bras de 22
•
Pour démarrer le tensiomètre, appuyez sur
à 36cm.
la touche MARCHE/ARRÊT . Tous les
Une plus grande manchette pour les bras de 35 à 44cm est
affichages s’allument brièvement.
disponible sous la référence 163.387 dans les magasins spé-
Après 3 secondes, le tensiomètre débute la
cialisés ou à l’adresse du SAV.
mesure automatiquement.
5.2 Adoption d’une posture correcte
La manchette se gonfle automatiquement.
Mesure
Vous pouvez interrompre la mesure à tout moment en
appuyant sur la touche START/STOP .
Relâchez lentement la pression d’air contenu dans la
manchette. En cas de tendance à l’hypertension connue,
gonflez de nouveau la manchette pour augmenter la
pression. Dès qu’un pouls est reconnaissable, le symbole
• Avant chaque mesure, reposez-vous pendant env. 5 minutes!
Pouls s’affiche.
Cela peut sinon engendrer des écarts.
35

•
Les résultats de mesure de la pression
6. Evaluation des résultats
systolique, de la pression diastolique et du
Arythmies cardiaques:
pouls sont affichés.
Pendant la mesure, cet appareil peut identifier une arythmie
cardiaque éventuelle. Le cas échéant, après la mesure, le sym-
bole
s’affiche.
•
_
s’affiche lorsque la mesure n’a pas
Ce symbole peut indiquer une arythmie. L’arythmie est une
pu être effectuée correctement. Lisez le
_
pathologie lors de laquelle, du fait de défauts dans le système
chapitre Message d’erreur/Résolution des
bioélectrique commandant les battements du cœur, le rythme
erreurs de ce mode d’emploi et recommen-
cardiaque est anormal. Les symptômes (battements du cœur
cez la mesure.
anarchiques ou précoces, pouls lent ou trop rapide) peuvent
•
En appuyant sur la touche M1 ou M2, sélectionnez
entre autres être dus à des maladies cardiaques, à l’âge, à
maintenant la mémoire utilisateur de votre choix. Si
une prédisposition corporelle, à une mauvaise hygiène de vie,
vous ne choisissez pas de mémoire utilisateur, le résul-
au stress ou au manque de sommeil. L’arythmie ne peut être
tat de la mesure est attribué au dernier utilisateur enre-
décelée que par une consultation médicale.
gistré. Le symbole M1 ou M2 correspondant s’affiche à
Si le symbole s’affiche à l’écran après la mesure, recom-
Mesure
l’écran.
mencez la mesure. Veillez à vous reposer pendant 5 minutes
et à ne pas parler ni bouger pendant la mesure. Si le symbole
•
Éteignez le tensiomètre en appuyant sur la touche
apparaît souvent, veuillez consulter votre médecin. Tout
MARCHE/ARRÊT . Ainsi, le résultat de la mesure est
auto-diagnostic ou toute auto-médication découlant des résul-
enregistré dans la mémoire utilisateur choisie.
tats mesurés pourra se révéler dangereux. Respectez impérati-
Si vous oubliez d’éteindre l’appareil, il s’éteindra auto-
vement les indications de votre médecin.
matiquement après environ 3minutes. Dans ce cas, la
valeur est attribuée à l’utilisateur de la mémoire choisie
Classe OMS :
ou utilisée en dernier.
Conformément aux directives/définitions de l’Organisation
•
Attendez au moins 5 minutes avant
Mondiale de la Santé (OMS) et aux connaissances les plus
d’effectuer une nouvelle mesure!
récentes, les résultats de mesure sont classés et évalués selon
le tableau suivant.
36

Plage des valeurs de tension artérielle Systole (in mmHg) Diastole (in mmHg) Mesure
Niveau 3 : forte hypertonie
≥ 180 ≥ 110
Consultez un médecin
Niveau 2 : hypertonie moyenne
160 – 179 100 – 109
Consultez un médecin
Niveau 1 : légère hypertonie
140 – 159 90 – 99
Surveillance médicale régulière
Elevée à normale
130 – 139 85 – 89
Surveillance médicale régulière
Normal
120 – 129 80 – 84
Contrôle individuel
Optimal
< 120 < 80
Contrôle individuel
Quelle: WHO, 1999
Ces valeurs ne doivent être utilisées qu’à titre indicatif car la
7. Récupérer et supprimer les valeurs de
pression sanguine varie selon les personnes, les âges, etc.
mesure
Il est important de consulter votre médecin de manière régu-
lière pour obtenir des conseils. Votre médecin vous donnera
Le résultat de chaque mesure réussie est enregistré avec
vos valeurs personnelles pour une pression sanguine normale
la date et l’heure. Au-delà de 60 valeurs enregistrées, les
et la valeur à laquelle la pression sanguine est considérée
plus anciennes sont supprimées.
comme dangereuse.
•
Vous devez d’abord démarrer le tensiomètre pour
Le classement qui s’affiche ainsi que l’échelle de l’appareil
accéder au mode de récupération de la mémoire. Pour
permettent d’établir la plage dans laquelle se trouve la tension
cela, appuyez sur la touche MARCHE/ARRÊT .
mesurée. Si les valeurs de systole et de diastole se trouvent
•
Après l’affichage en plein écran, sélectionnez la mé-
dans deux plages OMS différentes (par ex. systole en plage
moire utilisateur voulue dans un délai de 3 secondes
«normale haute» et diastole en plage «normale»), la graduation
avec la touche mémoire M1 ou M2 ( ).
graphique de l’OMS indique toujours la plage la plus haute sur
– Si vous souhaitez visualiser les données de mesure
l’appareil, à savoir «normale haute» dans le présent exemple.
de la mémoire utilisateur
, appuyez sur la touche
Mémoire utilisateur
mémoire M1.
– Si vous souhaitez visualiser les données
de mesure de la mémoire utilisateur
,
appuyez sur la touche mémoire M2.
Votre dernière mesure s’affiche à l’écran.
37

•
Appuyez sur la touche mémoire correspondante (M1
•
Si vous appuyez de nouveau sur la touche
ou M2).
mémoire (M1 ou M2), la dernière mesure
s’affiche à l’écran (ici par exemple la
Si vous avez choisi la mémoire utilisateur , appuyez
mesure 03).
sur la touche mémoire M1.
Si vous avez choisi la mémoire utilisateur , vous
•
Si vous appuyez de nouveau sur la touche mémoire (M1
devez utiliser la touche mémoire M2.
ou M2), vous pouvez voir vos mesures individuelles.
A
clignote à l’écran.
•
Pour éteindre l’appareil, appuyez sur la touche
La valeur moyenne de toutes les valeurs
MARCHE/ARRÊT .
mesurées enregistrées pour cet utilisateur
s’affiche alors.
Vous pouvez quitter le menu à tout moment en
Valeurs mesurées individuelles
appuyant sur la touche MARCHE/ARRÊT .
•
Appuyez sur la touche mémoire correspondante (M1
•
Pour effacer tous les enregistrements d’une mémoire
ou M2).
utilisateur donnée, sélectionnez d’abord une mémoire
AM
clignote à l’écran.
utilisateur.
La valeur moyenne des mesures matinales
Valeurs moyennes
•
Démarrez la consultation des mesures individuelles.
des 7 derniers jours sont affichées (matin:
•
Maintenez les deux touches mémoire M1 & M2 enfon-
5h00 – 9h00).
cées pendant 5 secondes.
•
Appuyez sur la touche mémoire correspondante (M1
Toutes les valeurs de la mémoire utilisateur
ou M2).
actuelle sont supprimées.
PM
clignote à l’écran.
La valeur moyenne des mesures du soir des
Effacer des valeurs mesurées
7 derniers jours est affichée (soir: 18h00 –
20h00).
8. Nettoyage et rangement de l’appareil
•
Nettoyez l’appareil et le brassard en douceur à l’aide d’un
chiffon légèrement humide.
•
La fréquence de nettoyage dépend du degré de salissure de
l’appareil. Nettoyez le tensiomètre et la manchette dès que
l’appareil devient sale.
38

•
N’utiliser ni produits nettoyants, ni solvants.
10. Fiche technique
•
Ne tenir en aucun cas l’appareil sous l’eau, car du liquide
N° du modèle BM 45
rentrerait dans l’appareil et l’endommagerait.
Type M1502
9. Suppression des erreurs
Mode de mesure Mesure de la tension artérielle au bras,
En présence d’erreurs, le message d’erreur _ s’affiche à
oscillométrique et non invasive
l’écran. Des messages d’erreur peuvent s’afficher lorsque
Plage de mesure Pression du brassard 0 – 300mmHg,
•
la pression systolique ou diastolique n‘a pas pu être mesurée
systolique 60 – 260mmHg,
( ou apparaît à l’écran);
diastolique 40 –199mmHg,
•
la pression systolique ou diastolique se trouve hors de la
Pouls 30 –180 battements/mn
plage de mesure ( ou Lo apparaît à l‘écran);
Précision de
systolique ± 3mmHg,
•
la manchette est trop serrée ou trop lâche ( ou
l’indicateur
diastolique ± 3mmHg,
apparaît à l’écran);
Pouls ± 5% de la valeur affichée
•
la pression de gonflage est supérieure à 300mmHg (
apparaît à l’écran);
Incertitude de
écart type max. admissible selon des
•
le gonflage dure plus de 160secondes ( apparaît à
mesure
essais cliniques: systolique 8mmHg /
l’écran);
diastolique 8mmHg
•
il existe une erreur sur le système ou l‘appareil ( , ,
Mémoire 2 x 60 emplacements d’enregistrement
ou apparaît à l’écran);
Dimensions L 165mmx l 107mmx H 50mm
•
les piles sont presque vides ,
Poids Environ 284g (sans piles)
•
les données n’ont pas pu être envoyées à l’ordinateur (
apparaît à l’écran).
Taille du brassard de 22 à 36cm
Conditions de
de +10 °C à + 40 °C, humidité relative de
Dans ce cas, réitérez la mesure. Veillez à insérer convenable-
fonctionnement
≤ 90 % (sans condensation)
ment le tuyau de la manchette et à ne pas bouger ni parler. Le
admissibles
cas échéant, remettez les piles ou remplacez-les.
Conditions de
de - 20 °C à + 55 °C, humidité rela-
conservation
tive de ≤ 90 %, pression ambiante de
et de transport
800 – 1050hPa
admissibles
39

•
La précision de ce tensiomètre a été correctement testée
Alimentation
4 x 1,5 V
piles AA
et sa durabilité a été conçue en vue d’une utilisation à long
électrique
terme. Dans le cadre d’une utilisation médicale de l’appareil,
Durée de vie des
Environ 250mesures, selon le niveau de
des contrôles techniques de mesure doivent être menés avec
piles
tension artérielle ainsi que la pression de
les moyens appropriés. Pour obtenir des données précises
gonflage
sur la vérification de la précision de l’appareil, vous pouvez
Accessoires Mode d’emploi, 4 xpiles AA 1,5 V, Pochette
faire une demande par courrier au service après-vente.
de rangement
11. Adaptateur
Classement Alimentation interne, IPX0, pas d’AP ni
N° du modèle FW 7575M/EU/6/06
d’APG, utilisation continue, appareil de
type BF (manchette), CLASS II (lors de l’uti-
Entrée 100 – 240 V, 50 – 60 Hz
lisation de l’adaptateur secteur)
Sortie 6 V DC, 600 mA, uniquement en associa-
tion avec les lecteurs de tension artérielle
Des modifications pourront être apportées aux caractéristiques
Beurer.
techniques sans avis préalable à des fins d’actualisation.
Fabricant Friwo Gerätebau GmbH
•
Cet appareil est conforme à la norme européenne
Protection L’appareil dispose d’une isolation double et
EN60601-1-2 et répond aux exigences de sécurité spéciales
d’un protecteur thermique primaire mettant
relatives à la compatibilité électromagnétique. Veuillez noter
l’appareil hors tension en cas de défaut.
que les dispositifs de communication HF portables et mobiles
Assurez-vous que les piles ont bien été reti-
sont susceptibles d’influer sur cet appareil. Pour plus de
rées du boîtier avant d’utiliser l’adaptateur.
détails, veuillez contacter le service après-vente à l’adresse
mentionnée ou vous reporter à la fin du mode d’emploi.
Polarité du connecteur CC
•
Cet appareil est conforme à la directive européenne 93/42/
Isolé / classe d’isolation 2
EC sur les produits médicaux, à la loi sur les produits
médicaux ainsi qu’aux normes européennes EN1060-1
Boîtier et cou-
Le boîtier de l’adaptateur permet d’évi-
(tensiomètres non invasifs, partie1: exigences générales),
vercles de pro-
tertout contact des pièces qui sont ou
EN1060-3 (tensiomètres non invasifs, partie 3: exigences
tection
peuvent être sous tension (doigt, aiguille,
complémentaires sur les tensiomètres électromécaniques)
crochet d’essai).L’utilisateur ne doit pas
et EC80601-2-30 (appareils électromédicaux, partie 2 – 30:
toucher le patient en même temps que la
exigences particulières pour la sécurité et les performances
fiche de sortie de l’adaptateur CA.
essentielles des tensiomètres non invasifs automatiques).
40

