Leitz Circular sawblades tipped – page 4
Manual for Leitz Circular sawblades tipped

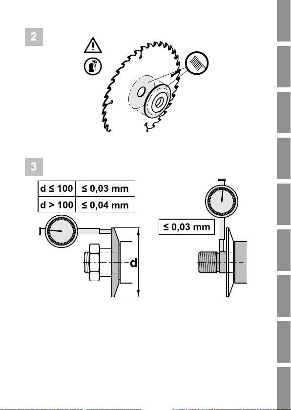
組み合わせ刃物を使用する際、切削部分が互いに接触しないようにしてください。
Deutsch
クランピング面の、グリース、油、水などの汚れは取り除いてください。
適切な工具(レンチ/スパナ)にて適正トルク値でネジ/ナットを締めてください。
刃刃物物固固定定のの際際ににはは、、延延長長物物ををつつけけたたススパパナナややハハンンママーーななどどをを使使わわなないいでで下下ささいい。。
デザイン、精度、公差など現在の技術基準に則った、機械メーカーより承認されているフ
English
ランジのみ使用してください
最少フランジ径以上になっている事を守ってください!
ゆゆががんんだだススペペーーササーーややススリリーーブブをを使使用用ししなないいででくくだだささいい。。
Italiano
1.4.4
予防措置
安全メガネをかけてください!
パパーーツツががははずずれれてて怪怪我我ををすするる恐恐れれががあありりまますす。。
Français
耳栓をつけてください!
難難聴聴ににななるる恐恐れれががあありりまますす!!
Español
破損したツールボディや変形したディスクは廃棄してください。
修理やメンテナンスはしないでください。
刃刃物物破破損損のの恐恐れれががあありりまますす。。
Português
刃刃ややフフラランンジジをを横横方方向向にに押押すす等等、、不不適適切切なな停停止止ははししなないいででくくだだささいい。。
破損した刃物には専門家の点検が必要です。
Русский
変変形形ししたた刃刃物物はは使使用用ししなないいででくくだだささいい。。
中文
6101/2013 ID.524661 V1.0
日日本本語語

1.5
クリーニングとメンテナンス
Deutsch
English
スクイ(掬い)面
逃げ面
Italiano
安全な作業のため、ロウ付刃先部分及び替刃(サービス、修正、研磨欄参照)を以下の
状態になったら研磨をしてください
-刃先の磨耗の(VB)が0.2mmを超えた場合(一番磨耗している部分)
-刃先に破損が見えた場合
-抵抗が増え機械の消費電力が増えた場合
Français
“安全手袋を着用してください!
鋭鋭利利なな刃刃先先でで怪怪我我ををすするる恐恐れれががあありりまますす!!
EspañolPortuguês
刃先にヤニや樹脂がたまらないようは定期的に洗浄してください。刃寿命が延び、安全
な使用ができます。
洗浄中は手袋やアイマスクを使用して保護してください。
安全メガネをかけてください!
安全手袋を着用してください。
洗洗浄浄剤剤はは肌肌やや目目にに刺刺激激、、ままたたははククラランンピピンンググ工工具具をを損損傷傷ささせせるる恐恐れれががあありりまますす。。
Русский
工具材質を腐食しない洗浄剤のみ使用してください。(例:スチールのみならSur-Tec
194 、アルミとスチールならAvilub METACLEAN788)
洗浄に適した洗浄剤は刃物メーカーから購入可能です。
中文
洗浄剤メーカーの取扱説明書を順守してください。
サビ防止のため、木工用刃物及びクランピングツールは高い湿度の所では保管しないで
ください。 オイル(WD40かバリストル)、油紙などでサビないように管理ください。
62
01/2013 ID.524661 V1.0
日日本本語語

1.6
サービス、追加加工、研磨
Deutsch
1.6.1
共通の注意事項
サービスと加工はメーカーと認可されたサービス工場でのみ行ってください。
刃物の研磨、修理、追加加工はメーカーから認可された経験ある専門家によってのみ行
ってください。
English
刃刃物物破破損損のの恐恐れれががあありりまますす。。
正確なクランプするため公差を厳守してください。
Italiano
経験を持った専門の人のみが修理してください。 下記の経験が必要です。
-最新の刃物技術と設計に精通している。
-公差や安全基準に精通している。
-必要な機械の使用に熟練している。
Français
-国の規則や規定を理解している。
研磨、追加加工、修理後の刃物は欧州規格 EN847-
1に適合しなければなりません。特に以下の点に適合する必要があります:
Español
Português
Русский
-動的バランス
-刃の厚さ a
-刃の突出 cr,ca
刃の再ロウ付けは、経験があり、ロウ付けによる本体や切削部分にかかる熱膨張などの
テンションという悪影響を判断できる専門家によって行われなければなりません。
中文
破損した刃を取り外した後新しい刃をロウ付けする際、切削部分が正しくロウ付けされ
、かつ、ロウ付けで刃物本体に致命的なテンションなどがないことを確認してください
。
6301/2013 ID.524661 V1.0
日日本本語語

各種の刃物(ロウ付けカッターなど)のデザインはサービスの際に変更しないでくださ
Deutsch
い。
加工又は再ロウ付け後、刃物のマークを更新しておかなければなりません。加工または
再ロウ付けした会社の名/ロゴも追加で表示してください。
1.6.2
研磨
超硬チップソーは鋸歯を最適な状態で使用するために、原則として掬い面と逃げ面から
再研磨します。
English
逃げ面を研磨する際、十分な鋸歯の突出を保つため、台金を削ってください。
掬い面のみ研磨すると研磨できる回数が少なくなります。
ダイヤチップソーは逃げ面のみを研磨します。
安全上、チップソーは鋸歯の高さが1mmまで減ったら交換してください。
Italiano
刃物メーカーに研磨方法を確認してください。
Français
EspañolPortuguês
Русский
中文
64
01/2013 ID.524661 V1.0
日日本本語語

2 Kreissägeblätter bestückt / Circular sawblades tipped /
Deutsch
Lama circolare saldobrasata / Lames de scie circulaires
rapportées / Discos de sierra circular equipados / Serras
circulares / Пилы дисковые с напаянными
пластинками / 焊接式圆锯片 / チップソー(鋸)
English
2.1
Einheiten / Units / Unità / unitées / Unidades / Unidades / Узлы / 单位 / 単位
Italiano
Français
Español
Português
Русский
中文
6501/2013 ID.524661 V1.0
日日本本語語

2.2 Montage- und Sicherheitshinweise / Assembling and safety instructions /
Deutsch
Normative di montaggio e sicurezza / Instructions de montage et de sécurité
/ Indicaciones de montaje y seguridad / Instruções de montagem e
segurança / Указания по монтажу и технике безопасности /
装配和安全说明 / 組み立て、安全に使用するための取扱説明書
English
Italiano
Français
EspañolPortuguês
Die Verwendung von losen
Do not use loose spacers and
Reduzierringen und –büchsen ist
sleeves.
nicht zulässig.
No se permite el empleo de
L’utilisation de bagues de
anillos y casquillos reductores
réduction ou de douilles non
sueltos.
solidaires n’est pas autorisée.
Non utilizzare distanziatori e
Использование
bussole non appropriate.
незакрепленных переходных
колец и втулок недопустимо.
不允许使用松动的垫片和轴套。ゆがんだスペーサーやスリーブ
を使用しないでください。
Não é permitido utilizar anéis e
casquilhos redutores soltos.
Русский
中文
66
01/2013 ID.524661 V1.0
日日本本語語

Deutsch
English
Italiano
Français
Español
Português
Русский
中文
6701/2013 ID.524661 V1.0
日日本本語語

2.3
Schärfen / Sharpening / Affilatura / Affûtage / Afilar / Afiar / переточка / 重磨 /
Deutsch
研磨
English
Italiano
Français
EspañolPortuguês
Русский
中文
68
01/2013 ID.524661 V1.0
日日本本語語

Deutsch
English
Italiano
DP-bestückte Kreissägeblätter
DP-tipped circular sawblades
werden ausschließlich an der
exclusively are sharpened on the
Freifläche geschärft.
clearance face.
Français
Sierras circulares con diente de
L’affutage des outils DP se
diamante se afilan
pratique exclusivement sur la
exclusivamente en la cara
face de dépouille.
destalonada.
Lame rivestite con DP vengono
Дисковые пилы, оснащенные
affilate esclusivamente
алмазными пластинками,
Español
sull’angolo di spoglia superiore.
затачиваются исключительно
по задней грани.
金刚石圆锯片只刃磨后刀面。ダイヤチップソーは逃げ面のみ
を研磨します。
Serras circulares calçadas com
pastilhas em DP, devem ser
afiadas somente no topo da
pastilha.
Português
Русский
中文
6901/2013 ID.524661 V1.0
日日本本語語

3 Symbole / Symbols / Simboli / Symboles / Símbolos /
Deutsch
Símbolos / Символы / 符号 / シンボル
OK!
English
Detail beachten! Note detail!
Prestare attenzione alle annotazioni! Détail important!
Considerar detalles! Note o detalhe!
Соблюдать детали!
說明
備考参照
Italiano
Reinigen! Cleaning!
Pulire! Nettoyer!
¡Limpieza! Limpar!
Следует очищать!
清洁
クリーニング
Français
Verbot! Prohibition!
Divieto! Interdiction!
¡Prohibición! Proibido!
Запрещено!
禁止
禁止!
Gefahr! Danger!
EspañolPortuguês
Pericolo! Danger!
¡Peligro! Perigo!
Опасность!
危险!
危険!
Abtrennen von Fingern oder der Hand
Cutting off fingers or hand by rotating tool!
durch rotierendes Werkzeug!
Pericolo di lesioni (dita e mani) dovuto a
Ne pas approcher la main ou les doigts de
parti rotanti!
l’outil en rotation!
¡Corte de los dedos o de las manos por
Corte dos dedos ou mão por ferramenta
herramienta giratoria!
em rotação!
Вращающийся инструмент может
旋转刀具切断手和手指!
отрезать пальцы или руку
回転している工具で手や指を切断する恐
Русский
れがあります。
Ätzende Flüssigkeit! Corrosive liquid!
Liquido corrosivo! Liquide corrosif!
¡Líquido corrosivo! Líquido corrosivo!
Едкая жидкость!
腐蚀性液体
中文
腐食液
70
01/2013 ID.524661 V1.0
日日本本語語

3 Symbole / Symbols / Simboli / Symboles / Símbolos /
Deutsch
Símbolos / Символы / 符号 / シンボル
Betriebsanleitung beachten! Follow the instruction manual!
Rispettare libretto d’istruzione! Respecter le mode d’emploi!
¡Observar las instrucciones de servicio! Observar as instruções de utilização!
Следует учитывать руководство по
遵循使用说明
English
эксплуатации!
ご使用前に必ず取扱説明書をお読みくだ
さい!
Sicherheitshandschuhe tragen! Wear safety gloves!
Indossare guanti di sicurezza! Porter des gants de sécurité!
¡Llevar guantes de protección! Usar luvas de proteção!
Italiano
Следует работать в защитных
戴上安全手套
перчатках!
安全手袋を着用してください。
Gehörschutz tragen! Wear ear protection!
Indossare cuffie di protezione per l’udito! Porter une protection auditive!
Français
Llevar protección en los oidos! Use protetores auriculares!
Работать с защитой органов слуха!
佩戴耳塞保护!
耳栓をつけてください!
Schutzbrille tragen! Wear safety glasses!
Indossare occhiali di protezione! Porter des lunettes de sécurité!
Llevar gafas de protección! Use óculos de segurança!
Español
Работать в защитных очках!
佩戴安全防护眼镜!
安全メガネをかけてください!
Keine beschädigten Werkzeuge
Do not use damaged tools!
verwenden!
Non operare con lama danneggiata! Ne pas utiliser d’outils endommagés!
Português
No utilizar herramientas dañadas! Não utilizar ferramentas danificadas!
Не использовать поврежденные
不可使用损坏的刀具!
инструменты!
損傷した刃を使用しないでください!
(Quelle: ISO 3864-1: 2002-05 Safety
(Source: ISO 3864-1: 2002-05 Safety
Signs and Colours)
Signs and Colours)
Русский
(Documento : ISO 3864-1:2002-05 Segni
(Source: ISO 3864-1: 2002-05 Safety
e Colori di Sicurezza )
Signs and Colours)
(Fuente: ISO 3864-1: 2002-05 Safety
(Fonte: ISO 3864-1: 2002-05 Safety Signs
Signs and Colours)
and Colours)
(Источник: международный стандарт
(来源:ISO3864-1:2002-
ISO 3864-1: 2002-05 “Значки и цвета
05安全标识和颜色)
безопасности”)
中文
(出典: ISO 3864-1: 2002-05 Safety Signs
and Colours)
7101/2013 ID.524661 V1.0
日日本本語語

4 Anschrift / Address / Indirizzo / Signature / Dirección /
Deutsch
Morada / Адрес / 地址 / 住所
Deutschland
Italia
Leitz GmbH & Co. KG
Leitz Italia S.r.l.
Leitzstraße 2
Industriezone 9
English
D-73447 Oberkochen
39011 Lana (BZ)
Postfach 12 29
Tel. +39 (0) 473/563 533
D-73443 Oberkochen
Fax +39 (0) 473/562 139
Tel. +49 (0) 73 64-950-0
info@leitz-italia.it
Fax +49 (0) 73 64-50-662
www.leitz.org
leitz@leitz.org
www.leitz.org
France
Italiano
Leitz S.à.r.l. Colmar
Österreich
8, Rue Emile Schwoerer
Leitz GmbH & Co. KG
BP 51239 - 68012 Colmar Cedex
Leitzstraße 80
Tel. +33 (0) 38 92 10 800
4752 Riedau
Fax +33 (0) 38 92 31 405
Tel. +43 (0) 7764/820 00
leitz-france@leitz.org
Français
Fax +43 (0) 7764/820 01 11
www.leitz.fr
office.riedau@rie.leitz.org
www.leitz.org
España
Herramientas Leitz S.L.
Great Britain
C/. Narcis Monturiol
Leitz Tooling UK Ltd.
11-15, 1ª planta
Flex Meadow, The Pinnacles
08339 Vilassar de Dalt (Barcelona)
EspañolPortuguês
Harlow, Essex, CM19 5TN
Tel. +34 (0) 902/505 575
Tel. +44 (0) 12 79 45 45 30
Fax +34 (0) 93/750 80 72
Fax +44 (0) 12 79 45 45 09
ventas@leitz.es
salesuk@leitz.org
www.leitz.org
www.leitz.org
Brasil
USA
Leitz Ferramentas para Madeiras Ltda.
Leitz Tooling Systems Inc.
Rua Leitz, nr. 50
4301 East Paris Ave., S.E.
Cx. Postal 04
Grand Rapids, MI 49512
Bairro Angico
Tel. +1 (0) 800/253 60 70
Cep 95760-000 São Sebastião do Cai/RS
Tel. +1 (0) 616/698 70 10
Tel. +55 (0) 51/363 517 55
Fax +1 (0) 800/752 93 91
Tel. +55 (0) 51/363 513 98
Fax +1 (0) 616/698 92 70
Fax +55 (0) 51/363 511 53
Русский
sales@leitztooling.com
leitz@leitz.com.br
www.leitztooling.com
www.leitz.com.br
中文
72
01/2013 ID.524661 V1.0
日日本本語語

4 Anschrift / Address / Indirizzo / Signature / Dirección /
Anschrift / Address / Indirizzo / Signature / Dirección /
Deutsch
Morada / Адрес / 地址 / 住所
Morada / Адрес / 地址 / 住所
Россия
Weitere Niederlassungen und Vertretungen
finden Sie unter www.leitz.org.
ООО Лейтц Инструменты
Котяляковская ул., д.3
More addresses of sales companies and
English
115201 Москва
dealers you can find on www.leitz.org.
Tel. +7 (0) 495/510 10 27
Fax +7 (0) 495/510 10 28
Altre dipendenze e rappresentanze sono
info@leitz.ru
elencate sotto www.leitz.org.
www.leitz.ru
Vous trouverez d’autres succursales Leitz
中华人民共和国
sous www.leitz.org
Italiano
Leitz Tooling Systems Ltd.
Encontrará más filiales y sucursales
No. 8 Phoenix Rd.,
internacionales en www.leitz.org.
Jiangning Development Zone
211100 Nanjing
É possível encontrar mais filiais e
Tel. +86 (0) 25/521 031 11
representações a nível mundial em
Fax +86 (0) 25/521 037 77
www.leitz.org.
leitzsales@leitz.com.cn
Français
www.leitz.com.cn
Остальные дочерние предприятия и
представительства вы найдете по
日本国
ссылке www.leitz.org.
ライツ株式会社
〒223-0059
更多的销售公司和代理商的地址,
神奈川県横浜市港北区
您可在网上查找 www.leitz.org
Español
北新横浜2-7-2
Tel. +81 (0) 45 53 33 020
この他の販売会社については
Fax +81 (0) 45 53 33 021
www.leitz.org を参照してください。
info@leitz.co.jp
www.leitz.org
www.leitz.co.jp
Português
Русский
中文
7301/2013 ID.524661 V1.0
日日本本語語

Deutsch
English
Italiano
Français
EspañolPortuguês
Русский
China
74
01/2013 ID.524661 V1.0
JJaappaann

Deutsch
English
Italiano
Français
Español
Português
Русский
China
7501/2013 ID.524661 V1.0
JJaappaann

Deutsch
English
Italiano
Français
EspañolPortuguês
Русский
China
76
01/2013 ID.524661 V1.0
JJaappaann

