Kenwood KDC-W427: Podłączanie przewodów do końcówek
Podłączanie przewodów do końcówek: Kenwood KDC-W427

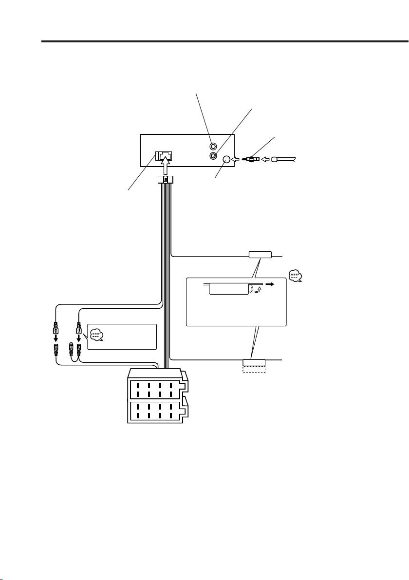
Podłączanie przewodów do końcówek
Wyjście tylne lewe (Biały)
Wyjście tylne prawe (Czerwony)
Adapter antenowy (ISO-JASO)
REAR
(Akcesoria poz. 3)
L
R
Przewód antenowy (ISO)
Wejście anteny
FM/AM
Bezpiecznik (10A)
Wiązka przewodów
(Akcesoria poz.1)
Kabel wyłączania dęwińku
Podłącz do końcówki, która jest
(mute) TEL (Brózowy)
TEL MUTE
uziemiona, gdy dzwoni telefon lub
porczas rozmowy.
Przed podłączeniem systemu
nawigacji KENWOOD,
zapoz naj się z instrukcją
obsługi tego systemu.
Przewód akumulatora (Żółty)
Jeżeli nie dokonano połącze nia,
nie należy dopuścić aby kabel
Przewód zapłonu
wysunął się z osłonki.
(Czerwony)
Patrz następna
strona
Przewód stero wa nia
zasilaniem/Silnikiem
Podłącz albo do końcówki
anteny (Niebieski/biały)
Kołek A-7 (Czerwony)
sterowania zasilaniem, gdy
P.CONT
korzysta się z opcyjnego
Kołek A-4 (Żółty)
ANT.CONT
wzmacniacza zasilania, albo do
końcówki sterowania anteną w
8
6
4
2
samochodzie.
Kostka połączeniowa A
7
5
3
1
Kostka połączeniowa B
8
6
4
2
7
5
3
1
78
|
Polski
B64-2807-00Polishr3.Indd78 03.12.11,1:03:48PM

Mapa funkcji kostki
2OSTRZEŻENIE
Numer szpilki dla
Kolor przewodu Funkcje
Podłączanie kostki połączeniowej ISO
kostek ISO
Układ kołków w kostce ISO zależy od typu twojego
Kostka zasilania
samochodu. Aby nie uszkodzić urządzenia, upewnij się czy
zewnętrznego
połączenia są odpowied nie. Standardowe połączenia dla
A-4 Żółty Akumulator
wiązki przewodów opisano poniżej w punkcie 1. Jeżeli
A-5 Niebiesko/biały Sterowanie
zasilaniem
układ kołków w kostce jest taki jak opisano w punktach 2 i
A-7 Czerwony Zapłon (ACC)
3, dokonaj podłączeń takich jak na rysunkach.
A-8 Czarny Połączenie Ziemia
W celu podłączenia tej jednostki do pojazdów
(masa)
Volkswagena prosimy o poprawne przełączenie kabli jak
Kostka głośników
przedstawiono w pozycji 2 poniżej.
B-1 Purpurowy Tylny prawy (+)
B-2 Purpurowo/czarny Tylny prawy (–)
1 (Ustawienie standardowe) Kołek A-7 (czerwony)
B-3 Szary Przedni prawy (+)
kostki ISO pojazdu jest połączony z zapłonem,
B-4 Szaroczarnyk Przedni prawy(–)
a kołek A-4 (żółty) jest podłączony do źródła
B-5 Biały Przedni lewy (+)
stałego zasilania.
B-6 Białoczarny Przedni lewy (–)
Przewód zapłonu
B-7 Zielony Tylny lewy (+)
(Czerwony)
Kołek A–7 (Czerwony)
B-8 Zielonoczarny Tylny lewy (–)
Radioodtwarzacz Pojazd
Przewód akumulatora
Kołek A–4 (Żółty)
(Żółty)
2 Kołek A-7 (czerwony) kostki połączeniowej
ISO pojazdu jest podłączony do źródła stałego
zasilania, a kołek A-4 (żółty) jest podłączony do
zapłonu.
Przewód zapłonu
(Czerwony)
Kołek A–7 (Czerwony)
Radioodtwarzacz Pojazd
Przewód
Kołek A–4 (Żółty)
akumulatora (Żółty)
3 Kołek A-4 (żółty) kostki połączeniowej ISO
pojazdu nie jest pod-łączony do żadnego źródła
zasilania, podczas gdy kołek A-7 (czerwony) jest
podłączony do źródła stałego zasilania (albo
oba kołki: A-7 (czer-wony) lub A-4 (żółty) są
podłączone do źródła stałego zasilania).
Przewód zapłonu
(Czerwony)
Kołek A–7 (Czerwony)
Radioodtwarzacz Pojazd
Przewód akumulatora
Kołek A–4 (Żółty)
(Żółty)
• Jeżeli połączenia są wykonane tak jak powyższym
punkcie 3, zasilanie radio-odtwarzacza nie będzie
połączone z kluczykami zapłonu. Z tej przyczyny zawsze
trzeba wyłączać zasilanie aparatu, gdy zapłon zostanie
wyłączony.
Aby powiązać zasilanie aparatu z zapłonem, podłącz
przewód zapłonu (ACC…czerwony) do źródła zasilania,
które może być włączane i wyłą-czane kluczem zapłonu.
Polski
|
79
B64-2807-00Polishr3.Indd79 03.12.11,1:03:56PM
Table of contents
- Contents
- Safety precautions
- Notes
- Notes on playing MP3/WMA
- About CDs
- General features
- Tuner features
- CD/MP3/WMA control features
- Menu system
- Accessories/ Installation Procedure
- Connecting Wires to Terminals
- Installation
- Removing the Unit
- Troubleshooting Guide
- Specifications
- Cодержание
- Меры предосторожности
- Примечания
- Примечания к проигрыванию MP3/WMA
- О CD
- Общие характеристики
- Функции тюнера
- Функции управления CD/MP3/WMA
- Система меню
- Принадлежности/ Процесс установки
- Подсоединение кабелей к гнездам для подключения
- Установка
- Cнятие аппарата
- Поиск и устранение неисправностей
- Технические характеристики
- Treść
- Środki ostrożności
- Uwagi
- Uwagi o odtwarzaniu MP3/WMA
- Uwagi dotyczące płyt kompaktowych
- Ogólne możliwości
- Możliwości tunera
- Możliwości sterowania CD/MP3/WMA
- Menu systemu
- Akcesoria/ Procedura instalowania
- Podłączanie przewodów do końcówek
- Instalacja
- Wyjmowanie aparatu
- Przewodnik wykrywania i usuwania usterek
- Dane techniczne

