Blomberg KWD 9440 X: (C)
(C): Blomberg KWD 9440 X

Ajuste do nivelamento do
(Ver figura C)
pavimento
• Se a porta do compartimento do
congelador estiver mais baixa do que a
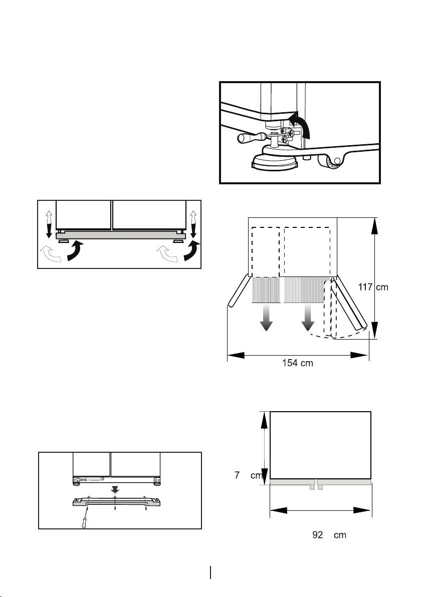
Se o seu frigorífico estiver desnivelado;
porta do compartimento do frigorífico,
Pode equilibrar o seu frigorífico, rodando
os seus pés frontais conforme ilustrado
na figura. (Ver figura A) O canto onde
está o pé é baixado quando roda na
2
direcção da seta preta e levantado
quando roda na direcção oposta. Peça
ajuda a alguém para erguer ligeiramente
o frigorífico, facilitará este processo.
Ajuste da altura da porta
Em caso de haver problemas com o
alinhamento das portas, em relação uma
(C)
(A)
com a outra, podem ser realinhadas
verticalmente, pela sequência descrita
abaixo. Assegure que as prateleiras das
portas estão vazias quando ajustar a
altura da porta.
1. Retire a tampa de ventilação inferior
desaparafusando os parafusos,
conforme mostrado na figura abaixo.
(Ver figura B)
2. Solte os três parafusos das
dobradiças da porta inferior, a qual
deseja subir, com a ajuda de uma chave
de fendas, conforme mostrado na figura
abaixo. (Não a retire completamente)
2
4
1 2 3
(B)
11
PT

nivele-as rodando o parafuso de
Após nivelar as portas elevando a
elevação ao lado do compartimento
parte da frente com a ajuda dos
do congelador, na direcção da seta,
parafusos de elevação, assegure-se
utilizando uma chave-inglesa M6 Allen,
que as portas do frigorífico fecharão
conforme ilustrado na Figura D.
adequadamente. Se as portas não
• Se a porta do compartimento do
fecharem adequadamente, isto pode
congelador estiver mais alta que a porta
afectar adversamente a eficiência do
do compartimento do refrigerador,
frigorífico.
nivele-as rodando o parafuso de
Ajustar o espaço entre a
elevação ao lado do compartimento do
porta superior
congelador, na direcção inversa da seta,
C
Pode ajustar o espaço entre
utilizando uma chave-inglesa M6 Allen,
as portas do compartimento do
conforme ilustrado na Figura D.
refrigerador, conforme ilustrado nas
figuras.
(D)
12
PT

As prateleiras da porta devem estar
C Com uma chave de fendas, remova
vazias quando ajustar a altura da porta.
o parafuso da cobertura da dobradiça
superior que pretende ajustar.
Devido aos fios metálicos na
cobertura da dobradiça da porta do
congelador, desligue a alimentação
do frigorífico antes de remover as
Parafuso central
coberturas da dobradiça e isto deve
ser feito com todo o cuidado.
CAjuste a porta adequadamente
conforme pretendido, apertando os
parafusos.
C Fixe a porta que ajustou apertando
os parafusos, sem alterar a posição da
porta.
C Volte a colocar a cobertura da
dobradiça e fixe com o parafuso.
13
PT

Instalação do filtro da água
(em alguns modelos)
Requisitos para a instalação
Poderão ser ligadas duas diferentes
fontes de água ao frigorífico para
fornecimento de água: o fornecimento
de água fria principal e a água num jarro.
Para a utilização de água de jarro deverá
Aviso: Visto que as seguintes peças não
sãonecessárias para utilizar com um
jarro, elas podem não se encontrarem
no produto que comprou.
3. Tubo da água de 5 metros (1/4 de
polegada de diâmetro)
ser usada uma bomba.
Verifique se as peças indicadas
4
2
abaixo foram fornecidas com o seu
equipamento.
1. União para a ligação do tubo da água à
parte traseira do electrodoméstico
2. 3 conjuntos de grampos para válvula
3
(Se forem necessários para segurar o
tubo da água)
1
14
PT

a
a
b
c
15
PT
2
1
Ligação do tubo da água ao
frigorífico
1. Após instalar a união no tubo
da água, introduza este na válvula
4. Válvula para conduta da água fria com
de entrada do frigorífico puxando
filtro de rede (Adaptador para torneira)
firmemente para baixo.
5. Filtro da água a ser adaptado ao
2. Adapte a união como mostrado
suporte no interior do compartimento
na figura ao lado, pressionando
do frigorífico.
manualmente na válvula de entrada do
frigorífico.
Ligação de água para o frigorífico
(a- Tubo de água, b-União, c-Válvula)
Por favor, siga as instruções abaixo.
C Nota 1: Não deverá precisar de
apertar a união com uma ferramenta
para conseguir uma montagem
hermética. No caso de existir uma fuga,

utilize uma chave-inglesa ou um alicate
1. Prima o botão "Ice cancel" (Cancelar
para apertar a união.
gelo) no visor. (Figura 1)
2. Retire a tampa do filtro no
compartimento do frigorífico puxando-a
para a frente. (Figura 2)
3. Extraia a tampa de passagem do filtro
de água rodando-a para baixo. (Figura
3-4)
A Aviso: Certifique-se de que o modo
"Ice Off" (Desligar Gelo) está activo antes
de retirar a tampa de passagem.
Aviso: É normal que caiam algumas
gotas de água depois da tampa ter sido
retirada.
4. Retire a tampa na parte de cima do
Para adaptar o filtro da água siga as
filtro de água para o colocar como
instruções abaixo referindo-se às figuras
mostrado na figura e rode para cima
apresentadas:
para o bloquear. (Figura 5)
3
4
5
2
1
16
PT

5. Pressione de novo o botão "Ice Off" no
Ligação da mangueira da
visor para sair deste modo.
água ao jarro
O filtro da água deverá ser substituído a
(em alguns modelos)
cada 6 meses. O filtro da água deverá
ser retirado como mostrado na figura
Para ligar a água ao frigorífico a partir
quando for substituído ou quando
de um jarro, é necessária uma bomba.
não for mais utilizado e a tampa de
Siga as instruções abaixo depois de ligar
uma extremidade do tubo de água que
vem da bomba para o frigorífico como
descrito na página anterior.
1a
1b
passagem deverá ser encaixada. Deve
certificar-se que o modo "Ice Off" está
activo antes de o retirar.
A Aviso: O filtro da água limpa certas
partículas estranhas da água. Ele não
purifica a água dos microorganismos.
A Aviso: O botão ‘Ice Off’ deve
ser sempre pressionado durante a
substituição do filtro da água ou na
instalação da tampa de passagem.
2
17
PT

1. Termine a ligação empurrando a outra
3. Após introduzir o tubo da água na
extremidade do tubo da água para
união, instale-o no adaptador da
dentro da entrada do mesmo na
torneira e introduza-o depois na
bomba, como mostrado na figura.
torneira, como mostrado na figura.
2. Coloque e fixe a mangueira da bomba
(Figura C)
dentro do jarro, como mostrado na
4. Aperte a união manualmente. No caso
figura.
de existir uma fuga, utilize uma chave-
3. Após concluir a ligação, ligue e faça
inglesa ou um alicate para apertar a
funcionar a bomba.
união.
Para proporcionar um funcionamento
eficiente da bomba, espere 2
a 3 minutos após colocar em
funcionamento a mesma.
Aviso: Deve consultar o manual do
utilizador da bomba quando executa a
ligação da água.
Ligação do tubo da água à
linha de fornecimento de
água fria
(em alguns modelos)
se pretender utilizar o seu frigorífico
ligando-o ao tubo principal da água fria,
terá de ligar um adaptador de
conexão de válvula padrão de 1/2” ao
fornecimento de água fria da sua casa.
No caso de não possuir esta válvula
ou se não tiver a certeza, consulte um
picheleiro qualificado.
1. Separe a união do adaptador da
torneira. (Figura A)
2. Instale o adaptador da torneira ao
encaixe da válvula de 1/2”, como
mostrado na figura. (Figura B)
18
PT

A Aviso: Segure o tubo da água
C Não se deve obter água no arranque
em pontos apropriados através dos
inicial do frigorífico. Isto é devido ao
grampos de tubo fornecidos para evitar
ar no sistema. Para descarregar o
quaisquer danos ou deslocamentos de
ar do sistema pressione o trinco do
tubo ou desligamento acidental.
Dispensador de água por períodos
de 1 minuto até que a água corra do
A Aviso: Após ligar a válvula da água,
dispensador. O fluxo de água pode
certifique-se de que não há fugas em
ser irregular no início. O fluxo de água
ambos os pontos de ligação do tubo
irregular ficará normalizado depois do ar
da água. Em caso de fuga, desligue
do sistema e ser descarregado.
imediatamente a válvula e aperte de
novo todas as juntas utilizando uma
C No arranque inicial do frigorífico
chave-inglesa ou um alicate.
devem ter decorrido 12 aprox. até que
se possa obter água fria.
A Aviso: Certifique-se de que a
adaptação da válvula padrão de 1/2”
C A pressão da conduta de água
alimentada pelo fornecimento de
deve estar entre 1-8 bar para que o
água fria se encontra disponível e está
Dispensador de água funcione de forma
completamente desligada.
regular. Para tal, constate que um copo
Nota -1: Não há necessidade de usar um
de água (100 cc) deve ser enchido em
filtro de água quando é utilizado o jarro.
10 segundos.
Nota -2: A bomba deverá ser usada
quando for utilizado um jarro.
C Os primeiros 10 copos de água não
deverão ser consumidos.
Antes da primeira utilização
do Dispensador de água/
C Devem ter decorrido 12 horas para
gelo
obter gelo pela primeira vez a partir do
Dispensador de gelo. Se não existir gelo
C A pressão da conduta de água não
suficiente no dispensador de gelo, não
deve ser inferior a 1 bar.
se deve tirar gelo do dispensador.
C A pressão da conduta de água não
C Aproximadamente, os primeiros 30
deve ser superior a 8 bar.
cubos de gelo retirados do Dispensador
de gelo não deverão ser utilizados.
C As bombas devem ser usadas no
caso da pressão do fornecimento de
C Utilize sempre o filtro de água quando
água cair abaixo de 1 bar ou se vier a
não estiver a ser utilizado um jarro.
ser utilizado um jarro.
C O sistema de água do frigorífico
deverá ser ligada à linha de água fria.
Não deverá estar ligado à linha de água
quente.
19
PT

4 Preparação
C O seu frigorífico deverá ser instalado
a uma distância mínima de 30 cm de
quaisquer fontes de calor, tais como
placas, fornos, aquecimento central e
fogões e de 5 cm de fornos eléctricos e
não deverá ficar exposto directamente
à luz solar.
C A temperatura ambiente do
compartimento onde está instalado
o seu frigorífico não deve ser inferior
a 10ºC. Utilizar o seu frigorífico em
condições de temperatura mais baixas
não é recomendado em atenção à sua
eficiência.
C Certifique-se de que o interior do seu
frigorífico esteja completamente limpo.
C Se forem instalados dois frigoríficos
lado a lado, deverá existir uma
distância mínima de 2 cm entre eles.
C Quando utilizar o seu frigorífico pela
primeira vez, por favor, observe as
seguintes instruções durante as seis
horas iniciais.
- A porta não deverá ser aberta
frequentemente.
- Deve começar a funcionar vazio, sem
alimentos no interior.
- Não retire a ficha da tomada do seu
frigorífico. Se houver uma falha de
energia inesperada, por favor consulte
os avisos na secção “Soluções
recomendadas para os problemas”.
C A embalagem original e os materiais de
esponja deverão ser guardados para
transportes ou deslocações futuras.
20
PT

5 Utilizar o seu frigorífico
elevada
18. Indicador de abertura da porta do frigorífico
1. Botão de definição do refrigerador
19. Indicador de bloqueio
2. Botão do modo férias (Vacation)
20. Indicador do modo de férias
3. Botão 'Quick Fridge' (Refrigeração rápida)
21. Indicador de água
4. Botão 'Key Lock' (Bloqueio de tecla)
22. Indicado de sem gelo
5. Botão 'Ice Off'
6. Luzes do dispensador de água
23. Indicador de gelo quebrado
7. Botão de selecção ‘Ice / Water' (Gelo/Água)
24. Indicador de gelo em cubos
8. Botão ‘Water Dispenser light’
25. Indicador ‘Auto Eco’
9. Botão 'Filter Reset'
26. Indicador do 'Filter Reset' (Reposição do
10. Botão ‘Auto Eco’
filtro)
11. Botão 'Quick Freeze' (Congelação rápida)
27. Indicador de abertura da porta do
12. Botão ‘Freezer Set’
congelador
13. Indicador do 'Economy Mode'
28. Indicador de ajuste da temperatura do
14. Indicador de humidade elevada
compartimento do congelador
15. Indicador de arrefecimento rápido
29. Indicador de 'Fast Freeze'
16. Indicador da definição de temperatura do
frigorífico.
30. Indicador do 'Ioniser' (Ionizador)
17. Indicador de aviso de erro/temperatura
OPCIONAL
21
PT

Ajuste do
Ajuste do
Explicações
compartimento do
compartimento
congelador
do refrigerador
-15°C 4°C Este é o ajuste normal recomendado.
-18,-21 ou -24°C 4°C Estes ajustes são recomendados
quando a temperatura ambiente excede
30ºC.
‘Fresh Freeze’ 4°C Utilize-a quando desejar congelar o
seu alimento ou fazer gelo num curto
espaço de tempo. O seu frigorífico
voltará ao seu modo anterior quando o
processo terminar.
-15°C ou mais frio 2°C Se achar que o compartimento do
refrigerador não está suficientemente
frio devido às condições quentes ou à
frequente abertura e fecho da porta.
-15°C ou mais frio ‘Quick cool’ Pode-o utilizar quando o compartimento
do seu refrigerador estiver
sobrecarregado ou se desejar arrefecer
rapidamente os seus alimentos.
ser definida para um dos seguintes
Definir a temperatura
temperaturas: -15 / -18 / -21 / -24 e
do compartimento do
-24°C
refrigerador
Pressione o botão 'Freezer Set' para
alterar. A temperatura diminuirá em
A temperatura do compartimento do
2ºC. Sempre que premir o botão, a
refrigerador pode ser definida para um
temperatura baixará e, em seguida,
dos seguintes valores:
voltará para definição mais alta. Liberte
8, 6, 4 e 2°C
na temperatura desejada e a nova
Pressione o botão 'Fridge Set' para
definição de temperatura será guardada.
alterar. A temperatura diminuirá em
Função ‘Fresh Freeze’
2ºC. Sempre que premir o botão, a
temperatura baixará e, em seguida,
Quando pressionar o botão “Fresh
voltará para definição mais alta. Liberte
Freeze”, o compressor funcionará
na temperatura desejada e a nova
durante cerca de 14 horas. O indicador
definição de temperatura será guardada.
de "Fresh Freeze" acenderá. Para
cancelar esta função, prima novamente
Se achar que os seus alimentos estão
o botão ‘Fresh Freeze’. O indicador
mais frios do que desejava, pode
‘Fresh Freezer’ desligará e voltará às
ajustar a definição da temperatura do
suas definições normais. ‘Fresh Freezer’
compartimento do frigorífico para 6 ou 8.
cancelar-se-á automaticamente após
Definir a temperatura
cerca de 12 horas se não o cancelar.
do compartimento do
Se desejar congelar quantidades
congelador
maiores de alimentos frescos, pressione
A temperatura do congelador pode
o botão ‘Fresh Freezer’ 14 horas
22
PT

antes de colocar os alimentos no
económico para poupar electricidade
compartimento do congelador.
automaticamente. Quando o botão
'Auto Eco' for, de novo, pressionado,
Função ‘Quick Cool’
esta função será desactivada.
(Arrefecimento rápido)
Ionizador
Quando pressionar o botão 'Quick Cool',
a temperatura do compartimento estará
O ionizador ajuda a purificar o ar no
mais fria do que os valores ajustados.
frigorífico e funciona automaticamente
Esta função pode ser usada para
Botão Key Lock (Bloqueio de
alimentos colocados no compartimento
tecla)
do frigorífico e que precisem de arrefecer
O bloqueio é activado quando este
rapidamente.
botão for pressionado durante três
Após premir o botão "Quick Cool", o
segundos e todos os botões e lingueta
indicador de "Quick Cool" acenderá.
do dispensador não funcionarem. Se
Para cancelar esta função, prima
desejar desactivar o bloqueio pressione,
novamente o botão "Quick Cool". O
de novo, durante 3 segundos.
indicador ‘Quick Cool’ desligará e
Iluminação do Dispensador
voltará às suas definições normais.
de água
A função ‘Quick Cool’ cancelar-se-á
Quando o botão 'Light' for pressionado,
automaticamente no caso de você a não
a lâmpada do dispensador de água
cancelar.
acenderá e desligará quando o botão
Botão ‘Vacation’
for, novamente, pressionado. Esta
No caso do compartimento do
iluminação também acenderá quando
refrigerador não ser utilizado durante
a lingueta do dispensador de água for
muito tempo, a utilização do mesmo
pressionada e apagará rapidamente
poderá ser cancelada pressionando
quando o trinco for solto.
o botão “Vacation”. Desta forma, o
Selecção do tipo de água/
frigorífico pode funcionar de forma mais
gelo
económica. Prime o botão ‘Vacation’
Com o botão “Dispenser Selection”
durante três segundos para activar
serão seleccionadas tanto as opções
esta função. Quando esta função está
“água” como “cubos de gelo” ou “gelo
activa, a porta do compartimento do
partido”.
frigorífico deverá ser mantida fechada e
não devem ser deixados alimentos neste
Dispensador água/gelo
compartimento.
Com as suas três diferentes funções,
Botão 'Auto Eco' (Economia
o dispensador satisfaz eficientemente
automática)
as suas necessidades de água fria,
cubos de gelo e gelo quebrado sem
Quando o botão “Auto Eco” é
ter de abrir a porta do frigorífico. É uma
pressionado, a função de economia
fonte contínua de água fria e gelo sem
automática será activada. Se a porta do
adicionar água. O painel de controlo de
compartimento do frigorífico for mantida
fácil utilização proporciona as seguintes
fechada durante muito tempo quando
funções do dispensador:
esta função estiver seleccionada, o
compartimento do frigorífico mudará
Aviso:
para um modo de funcionamento mais
23
PT

• A água e o gelo podem ser
C Se o dispensador de gelo não for
dispensados durante um máximo de 90
utilizado durante longo tempo ou após
segundos a cada uso.
uma falha eléctrica, onde pode formar-
• Quando a porta do congelador estiver
se pedaços de gelo ou no caso do gelo
aberta, o dispensador não funciona.
sofrer uma alteração no cheiro ou sabor,
o mesmo deve ser deitado fora e a caixa
de gelo completamente limpa.
Avisos
C Não deve ser adicionado qualquer gelo
Cubos de gelo Gelo quebrado Água
ao compartimento de gelo. Isto poderá
fria
afectar negativamente o fornecimento
de gelo ou quebrá-lo mesmo.
Utilização do dispensador de
A É normal que haja um par de cubos de
gelo
gelo colados no banco de gelo.
C
Por favor, tenha em atenção que
A As partes móveis, como as lâminas
os primeiros cubos de gelo só estarão
num compartimento na saída de
prontos 12 horas após ter ligado o
gelo do dispensador não devem ser
electrodoméstico.
tocadas para evitar danos.
No caso de não precisar de gelo, como
A Nunca utilize objectos afiados para
durante o Inverno ou no caso de estar
quebrar o gelo na caixa de gelo. Isto
de férias, seleccione a função ‘Ice Off’.
poderá danificar a caixa de gelo.
C O dispositivo para gelo produz
A Os alimentos nunca deverão ser
aproximadamente 110 cubos de gelo
colocados na caixa do gelo com
em 24 horas e esta quantidade pode
a finalidade de arrefecerem mais
variar de acordo com a frequência de
rapidamente.
abertura das portas, definições do
A Quando a caixa do gelo tiver de ser
frigorífico e falhas de corrente. O gelo
removido por alguma razão, antes
produzido pode ser obtido a partir do
de tudo o botão ‘Ice Off’ deverá ser
dispensador como cubos de gelo ou
pressionado.
gelo partido.
‘Ice Off’
É normal que para obter gelo partido
C
Para interromper a formação de gelo,
do dispensador demore mais do que
o botão “Ice Off” é pressionado. Quando
para obter cubos de gelo quando é
for seleccionado ‘Ice Off’, á água não
necessário gelo partido. E é também
será encaminhada para o Icematic. No
norma que algum gelo partido possa
entanto, o gelo já existente pode ser
correr antes que caiam os cubos de gelo
tirado do dispensador. Para reiniciar
se a opção de gelo partido tiver sido
a formação de gelo, o botão ‘Ice Off’
seleccionada antes de seleccionar a
deverá ser, de novo, pressionado.
opção cubos de gelo.
Aviso Se não utilizar o dispensador
de gelo, não se esqueça de colocar
a tampa da conduta de gelo no
anel dentro da porta do congelador.
(Consultar a secção 'O seu
frigorífico')
24
PT

Botão de substituição do FILTRO:
O filtro da água deverá ser substituído
a cada seis meses. O indicador de
substituição do filtro acende quando
o filtro de água precisar ser trocado.
Prima o botão de substituição do filtro
por 3 segundos para eliminar o aviso do
indicador de substituição do filtro.
25
PT

Usar a fonte de água
Prateleiras de estrutura
deslizante
As prateleiras de estrutura deslizante
podem ser puxadas, levantando-se
ligeiramente a parte frontal e movendo
para trás e para frente. Elas atingem
um ponto de paragem quando puxadas
para frente para permitir que alcance
os alimentos colocados no fundo da
prateleira; quando são puxadas após
levantar ligeiramente até o segundo
ponto de paragem, a prateleira de
estrutura será solta.
A prateleira deverá ser segurada
Avisos
firmemente pelo fundo, para impedir
que revire. A prateleira de estrutura é
É normal que a água dos primeiros
colocada nas guias nas partes lateriais
copos tirados do dispensador esteja
da estrutura do frigorífico, colocando-a
quente.
num nível inferior ou superior.
Nos casos em que o dispensador
A prateleira de estrutura deverá
de água não tenha sido usado
ser empurrada para trás, para ficar
frequentemente, deve-se deixar correr
completamente encaixada.
uma quantidade suficiente de água do
dispensador para se conseguir água
fresca.
1
Tabuleiro de derramamento
As gotas de água que caem durante
2
a utilização, acumulam-se no tabuleiro
de derramamento. Pode remover
o tabuleiro para pingos, puxando-o
3
para si. Pode retirar a água com uma
esponja ou um pano macio.
4
Ião:
O ar é ionizado através do
sistema ionizador no tubo de ar
do compartimento do refrigerador.
Graças a este sistema, as bactérias e
partículas do ar que causam o odor são
removidas.
26
PT

Luz azul
Calhas deslizantes de
controlo da humidade da
Os alimentos guardados nas gavetas
para frutas e legumes que são
gaveta de frutos e legumes
iluminados com uma luz azul, continuam
Utilização das calhas deslizantes de
a sua fotossíntese através do efeito
controlo da humidade da gaveta de
de extensão de onda da luz azul e por
frutos e legumes
isso, conservam a sua frescura e o seu
A gaveta para frutos e legumes do seu
conteúdo vitamínico é aumentado.
frigorífico foi especialmente concebida
para guardar os seus legumes frescos
sem que percam a sua humidade.
Basicamente, o ar frio circula em volta
da gaveta de frutos e legumes e a
quantidade de ar que passa através da
gaveta de frutos e legumes é controlada
pelas calhas deslizantes no lado da
frente da tampa da gaveta de frutos e
legumes.
Tabuleiro para ovos
Pode ajustar as calhas deslizantes de
controlo da humidade para uma posição
mais apropriada de acordo com a
• Poderá instalar o suporte para ovos
humidade e condição de arrefecimento
na porta que desejar ou prateleira da
dos seus alimentos na gaveta de frutos
estrutura.
e legumes.
• Nunca guarde o suporte para ovos no
Se pretender que os seus alimentos na
compartimento do congelador
gaveta de frutos e legumes arrefeçam
Compartimento ‘Fresh
mais, abra os orifícios das calhas de
Freeze’
controlo da humidade, e se quiser que
Este compartimento congela mais
eles arrefeçam menos e mantenham
rapidamente os seus alimentos e
a sua humidade durante mais tempo,
preserva o seu paladar e valores
feche os orifícios.
nutricionais.
27
PT

Recomendação para a
Substituição da lâmpada
preservação de alimentos
interior
congelados
No caso da lâmpada deixar de funcionar,
• Os alimentos embalados pré-
proceda do seguinte modo:
congelados devem ser armazenados de
1. Desligue o equipamento retirando a
acordo com as instruções do fabricante
ficha da tomada de parede.
do alimento, para um compartimento de
Retire todas as prateleiras e gavetas,
armazenamento de alimentos
(4
para facilitar o acesso.
estrelas).
2. As tampas da iluminação nas
• Para garantir que é atingida e
secções do congelador e do refrigerador
mantida a alta qualidade dos alimentos
abrem-se ao pressioná-las com a mão;
congelados, devem ser seguidos os
primeiro liberte um lado e depois o outro
seguintes passos:
pressionando nos lados, como mostrado
1. Coloque as embalagens no
nas figuras.
congelador o mais rapidamente possível
3. Primeiro, verifique se a lâmpada não
após a aquisição.
se soltou, assegurando-se de que ela se
2. Verifique se os recipientes estão
encontra firmemente fixa no respectivo
etiquetados e datados.
suporte. Volte a introduzir a ficha e ligue
3. Não ultrapasse as datas de validade
o equipamento. Se a lâmpada funcionar,
mencionadas nas embalagens.
reinstale a tampa inserindo a patilha
posterior e empurrando até localizar as
No caso de ocorrer uma falha de
duas patilhas frontais.
energia, não abra a porta do congelador.
Mesmo que uma falha eléctrica se
4. No caso da luz continuar a falhar,
prolongue até ao indicado no Rótulo
desligue o equipamento, retirando a
do tipo (dentro à esquerda do seu
ficha da tomada de parede. Substitua
frigorífico), os alimentos congelados
a lâmpada por uma nova de 15 watts
não serão afectados. No caso de
(máx.) de cabeça E 14 de roscar (SES).
faltar energia por mais tempo, os
5. Desfaça-se, imediatamente, da
alimentos devem ser verificados e se
lâmpada defeituosa.
for necessário, devem ser consumidos
A lâmpada de substituição pode ser
imediatamente ou então congelados
facilmente encontrada numa boa loja da
depois de serem cozinhados.
especialidade.
Descongelação
Os compartimentos do congelador
e do refrigerador descongelam
automaticamente.
28
PT

29
PT

6 Manutenção e limpeza
Protecção das superfícies
A
Nunca use gasolina, benzeno ou
substâncias semelhantes para a
plásticas
limpeza.
C Não coloque óleos líquidos ou comidas
B Recomendamos que desligue a ficha
cozinhadas no óleo no seu frigorífico,
do equipamento da tomada antes da
em recipientes abertos, já que podem
limpeza.
danificar as superfícies plásticas do
seu frigorífico. No caso de derrame
C Nunca utilize na limpeza objectos
ou salpico de óleo nas superfícies
abrasivos ou pontiagudos, sabões,
plásticas, limpe e enxagúe a parte
produtos de limpeza doméstica,
correspondente da superfície com
detergentes ou ceras abrilhantadoras.
água morna.
C Utilize água morna para limpar o
exterior do seu frigorífico e seque-o
com um pano.
C Utilize um pano humedecido numa
solução composta por uma colher de
chá de bicarbonato de soda dissolvido
em cerca de meio litro de água para
limpar o interior e depois seque-o.
B Certifique-se de que não entra água
no compartimento da lâmpada e nos
outros itens eléctricos.
B Se o seu frigorífico não for utilizado
durante um longo período de tempo,
remova o cabo de alimentação, retire
todos os alimentos, limpe-o e deixe a
porta entreaberta.
C Verifique regularmente as borrachas
herméticas da porta, para assegurar
que elas estão limpas e sem restos de
alimentos.
A Para remover os suportes da porta,
retire todo o seu conteúdo e, em
seguida, apenas puxe cuidadosamente
o seu suporte para cima a partir da
base.
30
PT

Compartimento de
arrefecimento
Pode aumentar o volume interno do seu
frigorífico, removendo o compartimento
de arrefecimento pretendido. Puxe o
compartimento para si até que seja
detido pelo retentor. Levante a parte da
frente aproximadamente 1 cm e puxe o
compartimento para si outra vez para o
remover completamente.
Este compartimento está concebido
especificamente para armazenar
alimentos altamente perecíveis. Também
pode usar este compartimento se
quiser guardar os seus alimentos numa
temperatura alguns graus abaixo do
compartimento de refrigeração.
31
PT

Caixa do gelo e Dispensador
água
C Siga o procedimento e os avisos
abaixo para limpar a caixa do gelo:
A Retire a caixa de gelo levantando-a
primeiro e, em seguida, puxando-a
na sua direcção como mostrado no
diagrama.
A Esvazie o gelo que se encontra na
caixa, caso exista. Para retirar o gelo
colado, utilize objectos que não sejam
afiados para evitar qualquer dano à
caixa do gelo.
A Preste atenção que o interior da
caixa do gelo não fique húmido/
molhado antes de a recolocar no seu
compartimento.
A Se desejar obter gelo a partir
do dispensador de gelo após ter
recolocado a caixa do gelo no seu
compartimento e fechado a porta do
congelador, saia do modo 'Ice Off'
pressionando, de novo, o botão ‘'Ice
Off'.
A Não toque nas partes movíveis,
tal com a faca, na caixa de gelo.
C Deixe o reservatório da água
vazio quando não o for utilizar
durante muito tempo
32
PT

Minibar
A porta do minibar oferece uma
comodidade extra ao utilizar o seu
frigorífico. A prataleira da porta no
frigorífico pode ser alcançada sem abrir
a porta do frigorífico; graças a esta
característica, poderá retirar facilmente
do frigorífico os alimentos e bebidas
que costuma consumir habitualmente.
Como não terá que abrir a porta do
frigorífico frequentemente, diminuirá o
consumo de energia do frigorífico.
Para abrir a porta do minibar, pressione
manualmente o minibar e puxe para
abrir.
Quando a porta do minibar estiver
aberta, poderá usar a parte interna da
porta como mesa para colocar as suas
garrafas e copos por algum tempo,
conforme mostrado na figura.
A Aviso: Nunca exerça pressões
na porta tal como sentar-se, subir ou
pendurar-se na mesa e não coloque
qualquer objecto pesado sobre ela. Isto
poderá causar danos ao frigorífico ou
ferimentos pessoais.
A Aviso: Nunca faça qualquer trabalho
de corte sobre a porta do Minibar e
tenha cuidado para que a porta não seja
danificada por objectos pontiagudos ou
afiados.
33
PT

7 Soluções recomendadas para os problemas
Por favor, reveja esta lista antes de telefonar para a assistência. Com isso, pode
poupar tempo e dinheiro. Esta lista abrange as reclamações frequentes resultantes
de defeitos de fabricação ou utilização do material. Algumas das funções descritas
aqui podem não existir no seu produto.
O frigorífico não funciona
• O frigorífico tem a ficha eléctrica ligada correctamente à tomada? Introduza a ficha
na tomada de parede.
• O fusível da tomada na qual o frigorífico está ligado ou o fusível principal não está
queimado? Verifique o fusível.
Condensação na parede lateral do compartimento do frigorífico. (MULTI ZONA,
CONTROLO DE ARREFECIMENTO e FLEXI ZONA)
• Condições ambientais muito frias. Abertura e fecho frequentes da porta. Condições
ambientais de alta humidade. Armazenamento de alimentos que contém líquidos
em recipientes abertos. A porta foi deixada entreaberta.
• Comute o termóstato para um grau mais frio.
• Diminua o número de vezes de abertura da porta ou utilize menos frequentemente.
• Cubra os alimentos guardados em recipientes abertos com um material apropriado.
• Limpe a condensação usando um pano seco e verifique, se persistir.
O compressor não está a funcionar.
• A protecção térmica do compressor deixará de funcionar durante falhas eléctricas
repentinas ou na extracção/colocação da ficha eléctrica, já que a pressão
refrigerante no sistema de arrefecimento do frigorífico ainda não se encontra
estabilizada.
• O seu frigorífico voltará a funcionar aproximadamente 6 minutos depois. Por favor,
chame a assistência se o seu frigorífico não começar a operar no fim deste período.
• O refrigerador está no ciclo de descongelação. Isto é normal num frigorífico
de descongelação totalmente automático. O ciclo de descongelação ocorre
periodicamente.
• O seu frigorífico não está ligado à tomada. Certifique-se de que a ficha está
introduzida firmemente na tomada de parede.
• A regulação da temperatura está feita correctamente? Há uma falha eléctrica.
Telefone para a empresa de electricidade.
O refrigerador está a funcionar frequentemente ou por um longo tempo.
34
PT

• O seu novo frigorífico pode ser mais largo do que o anterior. Esta situação é
perfeitamente normal. Os frigoríficos grandes operam por um período maior de
tempo.
• A temperatura ambiente pode estar elevada. Isto é bastante normal.
• O frigorífico foi ligado à tomada há pouco tempo ou carregado com alimentos. O
arrefecimento total do frigorífico pode demorar mais do que duas horas.
• Podem ter sido colocadas recentemente grandes quantidades de alimentos
quentes no frigorífico. Os alimentos quentes obrigam a um funcionamento mais
vigoroso do frigorífico até que alcance a temperatura segura de armazenamento.
• As portas podem estar a ser abertas frequentemente ou foram deixadas
entreabertas por longo tempo. O ar quente que entrou no frigorífico faz com que o
mesmo tenha que funcionar por períodos mais longos. Abra as portas com menos
frequência.
• A porta do compartimento do refrigerador ou do congelador pode ter sido deixada
entreaberta. Verifique se as portas estão completamente fechadas.
• O frigorífico está ajustado para uma temperatura muito baixa. Ajuste a temperatura
do frigorífico para um grau mais quente e aguarde até que a temperatura seja
atingida.
• O vedante da porta do refrigerador ou do congelador pode estar sujo, gasto,
roto ou não ajustado correctamente. Limpe ou substitua o vedante. O vedante
danificado/roto faz com que o frigorífico funcione por um período de tempo maior
para que mantenha a temperatura actual.
A temperatura do congelador está muito baixa, enquanto que a temperatura do
refrigerador é suficiente.
• A temperatura do congelador está ajustada para uma temperatura muito baixa.
Ajuste a temperatura do congelador para um grau mais quente e verifique.
A temperatura do refrigerador está muito baixa, enquanto que a temperatura do
congelador é suficiente.
• A temperatura do refrigerador está ajustada para uma temperatura muito baixa.
Ajuste a temperatura do refrigerador para um grau mais quente e verifique.
Os alimentos guardados nas gavetas do compartimento do refrigerador estão
congelados.
• A temperatura do refrigerador está ajustada para uma temperatura muito baixa.
Ajuste a temperatura do refrigerador para um grau mais quente e verifique.
A temperatura no refrigerador ou no congelador é muito alta.
35
PT

• A temperatura do refrigerador está ajustada para um grau muito alto. O ajuste
do refrigerador tem efeito na temperatura do congelador. Altere a temperatura
do refrigerador ou do congelador até que a temperatura do refrigerador ou do
congelador atinja um nível suficiente.
• A porta pode ter sido deixada entreaberta. Feche totalmente a porta.
• Podem ter sido colocadas recentemente grandes quantidades de alimentos
quentes no frigorífico. Aguarde até que o refrigerador ou o congelador atinja a
temperatura desejada.
• O frigorífico pode ter sido ligado à tomada há pouco tempo. O arrefecimento total
do frigorífico demora um certo tempo devido ao seu tamanho.
Surge do frigorífico um ruído semelhante ao som dos segundos ouvido a partir de
um relógio analógico.
• Este ruído é oriundo da válvula selenóide do frigorífico. A válvula selenóide funciona
com a finalidade de assegurar a passagem do spray de arrefecimento através do
compartimento que pode ser ajustado para temperaturas de arrefecimento ou de
congelação e executa funções de arrefecimento. Esta situação é normal e não é
causa de problema.
O ruído de funcionamento aumenta quando o frigorífico está a funcionar.
• As características do desempenho de funcionamento do frigorífico podem variar
conforme as alterações na temperatura ambiente. Esta situação é normal e não é
um problema.
Vibrações ou ruído.
• O piso não está nivelado ou não é resistente. O frigorífico balança quando deslocado
lentamente. Certifique-se de que o piso está nivelado, é resistente e capaz de
suportar o frigorífico.
• O ruído pode ser causado pelos itens colocados sobre o frigorífico. Tais itens devem
ser retirados de cima do frigorífico.
Há ruídos como líquidos a verter ou gotejar.
• Os fluxos de gás e líquidos acontecem conforme os princípios de funcionamento do
seu frigorífico. Esta situação é normal e não é um problema.
Há um ruído parecido com o vento a soprar.
• Os activadores de ar (ventoinhas) são usados para permitir que o frigorífico arrefeça
eficientemente. Esta situação é normal e não é um problema.
Condensação nas paredes internas do frigorífico.
• O tempo quente e húmido aumenta a formação de gelo e de condensação. Esta
situação é normal e não é um problema.
• As portas estão entreabertas. Certifique-se que as portas estejam completamente
fechadas.
• As portas podem estar a ser abertas com muita frequência ou estão a ser deixadas
abertas por muito tempo. Abra a porta com menos frequência.
Há ocorrência de humidade no exterior do frigorífico ou entre as portas.
• O tempo pode estar húmido. Isto é bastante normal num tempo húmido. Quando a
humidade for menor, a condensação irá desaparecer.
Maus odores dentro do frigorífico.
36
PT

• O interior do frigorífico deve ser limpo. Limpe o interior do frigorífico com uma
esponja, água quente ou água com gás.
• Alguns recipientes ou materiais de embalagem podem exalar cheiros. Utilize um
recipiente diferente ou um material de embalagem de marca diferente.
A(s) porta(s) não está(ão) fechada(s).
• Os pacotes de alimentos podem impedir o fecho da porta. Coloque de outra forma
as embalagens que estão a obstruir a porta.
• O frigorífico pode não estar completamente na vertical no piso e poderá balançar
quando ligeiramente movido. Ajuste os parafusos de elevação.
• O piso não é sólido ou não está nivelado. Certifique-se de que o piso está nivelado e
capaz de suportar o frigorífico.
As gavetas para frutos e legumes estão bloqueadas.
• Os alimentos podem estar a tocar o tecto da gaveta. Arrume novamente os
alimentos na gaveta.
37
PT

Моля първо да прочетете това ръководство!
Уважаеми клиенти,
Надяваме се, че вашият продукт, произведен в съвременни фабрики и проверен при
най-стриктни процедури за контрол на качеството, ще ви осигури ефективна работа.
За целта, ви съветваме да прочетете внимателно цялото ръководство за употреба на
продукта преди да го ползвате и да го държите под ръка за справки в бъдеще.
Това ръководство
• Ще ви помогне да използвате уреда по-най-бърз и безопасен начин.
• Прочетете ръководството преди монтаж и работа с продукта.
• Следвайте всички инструкции, особено тези за безопасност.
• Дръжте ръководството на лесно достъпно място, тъй като може да се нуждаете от
него.
• Освен това, прочетете и другите листовки, доставени с продукта.
Обърнете внимание, че това ръководство може да важи и за други модели уреди.
Символи и техните описания
Това ръководство за употреба съдържа следните символи:
C Важна информация или полезни съвети за употреба.
C Предупреждения при опасност за живота или имуществото.
B Предупреждения за електрическата мощност.
Този продукт носи символ за селективно сортиране за
Изхвърляне на електрическо и електронно оборудване
(WEEE).
Това означава, че този продукт трябва да се изхвърли в
съответствие с Европейската Директива 2002/96/EC, за да
се рециклира или бъде разглобен с цел намаляване на
влиянието върху околната среда. За допълнителна
информация се обърнете към местните и регионални власти.
Електронните продукти, които не бъдат включени в процеса
на селективно сортиране, са потенциално опасни за околната среда и
човешкото здраве поради съдържанието на рискови вещества.
Recycling

СЪДЪРЖАНИЕ
1 Вашият хладилник 3
5 Употреба на хладилника ви 21
Регулиране на температурата в
хладилното отделение ........................22
1 Вашият хладилник 4
Регулиране на температурата във
фризерното отделение ......................22
2 Важни предупреждения относно
Функция прясно замразяване ............22
безопасността 5
Функция бързо охлаждане ................22
Употреба на уреда ................................5
Бутон почивка ......................................23
За продукт с воден разпределител; ....7
Бутон Auto Eco (специална икономична
функция) ..............................................23
Защита от деца ......................................7
Йонизатор ...........................................23
HCA предупреждение ...........................7
Бутон за заключване на копчетата ...23
Препоръки за отделението за
съхранение на пресни храни ...............8
Осветление на диспенсера за вода ..23
Неща, които да направите с цел
Избор на тип Вода/Лед .......................23
пестене на енергия ...............................8
Разделител за лед/вода .....................23
Употреба на разделителя за лед .......24
Ice Off ....................................................24
3 Монтаж 9
Използване на течащата вода ...........25
На какво да обърнете внимание
Поставка за разлята вода ..................25
при повторно транспортиране на
Плъзгащи се рафтове .........................25
хладилника .............................................9
Тава за яйца .........................................25
Преди да започнете работа с
хладилника .............................................9
Синя лампа ...........................................26
Електрическо свързване ......................9
Йон: ......................................................26
Изхвърляне на опаковъчните
Отделение за прясно замразяване ...26
материали ............................................10
Плъзгачи на регулатора на
Изхвърляне на стария ви хладилник. 10
влажността в контейнера за запазване
на свежестта .......................................26
Поставяне ни монтиране ....................10
Отделение за охлаждане ...................27
Нивелиране върху пода ......................10
Смяна на вътрешната лампа ..............27
Регулиране на разликата между
горната врата ......................................13
Монтиране на водния филтър ..........14
6 Поддръжка и почистване 29
Свързване на водната тръба към
Предпазване на пластмасовите
хладилника ...........................................15
повърхности ........................................29
Свързване на водния маркуч към
Препоръки за съхранение на
каната ..................................................17
замразени храни ..................................30
Свързване на водната тръба към
Разлеждане .........................................30
студената вода ...................................18
Минибар ...............................................31
(при някои модели) ..............................18
Преди първа употреба на леден/воден
диспенсер .............................................18
7 Възможни решения на възникнали
проблеми 32
4Подготовка 20
2
BG

1 Вашият хладилник
1. Фризерно отделение
15. Регулируеми предни крачета
2. Хладилно отделение
16. Синя лампа
3. Вътрешна лампа на хладилното
17. Воден резервоар
отделение
18. Вентилационен капак
4. Капак за масло и сирене
19. Чекмеджета във фризерното отделение
5. Вентилатор
20. Стъклени рафтове във фризерното
6. Йонизатор
отделение
7. Стъклени рафтове на хладилното
21. Капак на канала за лед
отделение
22. Вътрешна лампа на фризерното
8. Тава за яйца
отделение
9. Рафтове на вратата на хладилното
23. Отделение за прясно замразяване
отделение
24. Контейнер за лед
10. Отделение за вина
25. Минибар
11. Поставка за бутилки
26. Отделение за охлаждане
12. Рафтове за бутилки
* Незадължително
13. Отделение за запазване на свежестта
14. Капак на контейнера за запазване на
свежестта
3
BG
21
3
4
24
6*
5
23
7
22
21
25
8
*10
9
20
*12
11
*19
13
14
14
18
*17 *2616
5
C Фигурите, в настоящето ръководство за употреба, са схематични и може да не
отговарят точно на вашия уред. Ако споменатите части липсват във вашия уред, то
те важат за други модели.

4
BG
21
3
*4
24
6
5
23
7
22
21
8
*10
9
20
*12
11
*19
13
14
14
18
*16 2617
5
1 Вашият хладилник
1. Фризерно отделение
14. Капак на контейнера за запазване на
2. Хладилно отделение
свежестта
3. Вътрешна лампа на хладилното
15. Регулируеми предни крачета
отделение
16. Синя лампа
4. Капак за масло и сирене
17. Воден резервоар
5. Вентилатор
18. Вентилационен капак
6. Йонизатор
19. Чекмеджета във фризерното
7. Стъклени рафтове на хладилното
отделение
отделение
20. Стъклени рафтове във фризерното
8. Тава за яйца
отделение
9. Рафтове на вратата на хладилното
21. Капак на канала за лед
отделение
22. Вътрешна лампа на фризерното
10. Отделение за вина
отделение
11. Поставка за бутилки
23. Отделение за прясно замразяване
12. Рафтове за бутилки
24. Контейнер за лед
13. Отделение за запазване на свежестта
25. Минибар
26. Отделение за охлаждане
* Незадължително
C Фигурите, в настоящето ръководство за употреба, са схематични и може да не
отговарят точно на вашия уред. Ако споменатите части липсват във вашия уред,
то те важат за други модели.

2 Важни предупреждения относно безопасността
Моля, прегледайте следната
• Не пипайте замразената храна с ръце;
информация. Неспазването на тази
тя може да се залепи за ръката ви.
информация може да доведе до
• Изключете хладилника от контакта
наранявания или материални щети. В
преди почистване или размразяване.
противен случай всякаква гаранция и
• Не бива никога да използвате пара
отговорност стават невалидни.
и парни почистващи материали при
Сервизният живот на закупеният от вас
почистването и разлеждането на
продукт е 10 години. Това е периода,
хладилника. Парата може да влезе в
в който се пазят резервните части за
контакт с електрическите части и да
продукта, за да може той да работи както
предизвика късо съединение или токов
е описано.
удар.
• Никога не използвайте частите на
хладилника, като например вратата за
Употреба на уреда
подпора или за стъпване.
Този продукт е предназначен за
• Не използвайте електрически уреди
употреба
вътре в хладилника.
– в закрити помещения и зони, като
• Не повреждайте частите, където
например вкъщи;
циркулира охладителя с пробивни или
– в затворена работна среда като
режещи инструменти. Евентуалното
например магазин и офиси;
изтичане на охладител при пробиване
– в затворени сгради за настаняване
на каналите на изпарителя,
на хора, като например вили, хотели,
удълженията на тръбата или
пансиони.
покритието върху повърхността може да
• Този продукт не бива да се използва
предизвика раздразнения на кожата или
навън.
нараняване на очите.
• Не покривайте и не блокирайте с
Обща безопасност
предмети вентилационните отвори на
• Когато решите да изхвърлите продукта,
хладилника.
препоръчваме да се консултирате с
• Електрическите устройства трябва да
оторизирания сервиз за да получите
се ремонтират само от оторизирани
нужната информация за това, както и с
лица. Ремонтът, извършен от
оторизираните власти.
некомпетентно лице може да създаде
• Консултирайте се с оторизирания
риск за потребителя.
сервиз по всякакви въпроси и проблеми,
• В случай на каквато и да е повреда
свързани с хладилника. Не се опитвайте
или по време на поддръжка и
да поправяте сами или да позволявате
ремонт, изключете хладилника от ел.
друг да прави това без да предупредите
захранване като изключите съответния
оторизирания сервиз.
бушон или извадите щепсела от
• За продукти с фризерно отделение; Не
контакта.
яжте сладолед или кубчета лед веднага
• Не дърпайте за кабела когато искате да
след като ги извадите от фризерното
извадите щепсела от контакта.
отделение! (Това може да доведе до
• Високоградусови спиртни напитки
измръзване в устата ви.)
трябва да се поставят в хладилника
• За продукти с фризерно отделение;
само вертикално и плътно затворени.
Не поставяйте бутилирани или
• Никога не съхранявайте спрейове
консервирани течности във фризерното
съдържащи възпламеними или
отделение. В противен случай те може
експлозивни вещества в хладилника.
да се пръснат.
• Не използвайте механични устройства
или други средства, за да ускорите
5
BG

процеса на размразяване, освен
Огъванет на кабела може да дведе
посочените от производителя.
до пожар. Никога не поставяйте тежки
• Този уред не е предназначен за
предмети върху захранващия кабел. Не
употреба от лица с физически, сензорни
пипайте щепсела с мокри ръце когато
или умствени разстройства или лица
включвате уреда в контакта.
без опит и познания (включително
деца), освен ако те не са наблюдавани
или инструктирани относно употребата
на уреда от отговорно за безопасността
им лице.
• Не използвайте хладилника ако е
повреден. Ако имате някакви съмнения,
се обърнете към сервизния агент.
• Електрическата безопасност на
хладилника е гарантирана само ако
заземяването на ел. инсталация в дома
• Не включвайте хладилника в
ви отговаря на съответните стандарти.
разхлабени контакти.
• Излагането на продукта на дъжд, сняг,
• По причини на безопаснотта по
слънце и вятър представлява опасност
външността или вътрешността на уреда
от електрическа гледна точка.
не бива да се пръска директно вода.
• Свържете се с оторизирания сервиз
• Не пръскайте субстанции, съдържащи
при повреда в захранващия кабел за да
възпламеними газове от рода на пропан
избегнете всякакъв риск.
газ в близост до хладилника за да
• Никога не включвайте хладилника в
избегнете риска от пожар и експлозия.
контакта по време на инсталация. В
• Никга не поставяйте съдове, пълни с
противен случай съществува риск за
вода върху хладилника, тъй като това
живота или от сериозно нараняване.
може да доведе до токов удар или
• Тзи хладилник е предназначен само за
пожар.
съхранение на хранителни продукти.
• Не препълвайте хладилника с
Той не бива да се ползва за никакви
прекомерно количество храна. Ако е
други цели.
препълнен, хранителните продукти
• Етикетът с технически спецификации
може да паднат и да ви наранят или да
е разположен въхру лявата вътрешна
повредят хладилника при отваряне на
стена на хладилника.
вратата. Никога не поставяйте предмети
• Никога не свързвайте хладилника с
върху хладилника; в противен случай
енергоспестяващи системи; те могат да
те може да изпаднат при отварянето и
повредят хладилника.
затварянет на вратата на хладилника.
• Ако на хладилника има синя светлина,
• Тъй като се нуждаят от точно
не разглеждайте синята светлина с
определена температура на съхранение
оптически устройства.
(ваксини, температурно-зависими
• За ръчно контролирани хладилници,
лекарства, научни материали, и др.) не
изчакайте поне 5 минути за да
бива да се държат в хладилника.
рестартирате хладилника след
• Ако не бъде използван дълго време,
прекъсване в захранването.
хладилникът трябва да бъде изключен
• Това упътване за употреба трябва да
от контакта. Възможно е неизправност
се предаде на новия собственик ако
в захранващия кабел да доведе до
уредът бъде продаден на други лица.
пожар.
• Внимавайте да не повредите
• Накрайникът на щепсела трябва да
захранващия кабел при
бъде редовно почистван за да се
транспортирането на хладилника.
избегне риска от пожар.
• Накрайникът на щепсела трябва да
бъде редовно почистван със сух парцал
6
BG

за да се избегне риска от пожар.
HCA предупреждение
• Хладилникът може да мърда ако
Ак охлаждащата система на уреда ви
регулируемите крачета не са стабилно
съдържа R600a:
закрепени на пода. Стабилното
Този газ е запалим. Затова внимавайте
закрепване на регулируемите крачета
да не повредите охладителната система
на пода може да предпази хладилника
и тръбите при употреба и транспорт. В
от мърдане.
случай на повреда, дръжте продукта
• При преместването на хладилника, не
далеч от потенциални източници на огън,
го хващайте за дръжката на вратата. В
което може да доведе до подпалването
противен случай тя може да се откъсне.
на уреда и проветрявайте стаята, където
• Ако се налага да поставите уреда
се намира той.
до друг хладилник или фризер,
Не взимайте предвид това
разстоянието между двата уреда трябва
предупреждение ако охладителната ви
да е поне 8см. В противен случай
система съдържа R134a.
прилежащите странични стени може да
Типът газ, използван в продукта, е
се навлажнят.
обозначен на страничната табелка с
данни върху вътрешната лява страна на
За продукт с воден
хладилника.
разпределител;
Никога не изхвърляйте уреда в огън.
Налягането на водата трябва да е поне
1 бар. Налягането на водата трябва да е
под 8 бара.
• Използвайте само питейна вода.
Защита от деца
• Ако на вратата е поставена ключалка,
ключът трябва да се държи далеч от
достъпа на деца.
• Децата трябва да бъдат надзиравани за
да се избегне играене с уреда.
7
BG

Неща, които да направите с
Препоръки за отделението
цел пестене на енергия
за съхранение на пресни
• Не оставяйте вратите на хладилника
храни
отворени за дълго.
• Не прибирайте горещи храни и напитки
* Незадължително
в хладилника.
• Не препълвайте хладилника за да не
• Не оставяйте хранителните продукти
се затруднява въздушната циркулация
да влизат в допир с топлинния сензор в
вътре в него.
отделението за пресни храни. За да може
• Не инсталирайте хладилника под пряка
да поддържа идеална температура на
слънчева светлина или в близост до
съхранение в отделението, сензорът не
уреди, излъчващи топлина, като фурни,
бива да бъде блокиран от хранителни
съдомиялни машини или радиатори.
продукти.
• Дръжте храната в затворени
• Не слагайте гореща храна в
контейнери.
хладилника.
• За уреди с фризерно отделение;
Можете да съхранявате максимално
количество хранителни продукти
ако свалите рафта или чекмеджето
на хладилника. Стойността на
енергийната консумация, посочена
върху хладилника, е измерена при
свален рафт или чекмедже на фризера
и при максимално зареждане. Няма
никаква опасност да използвате рафт
или чекмедже в зависимост от формата
и размера на хранителните продукти
които замразявате.
• Разлеждането на замразена храна в
хладилника ще осигури както пестене
на енергия, така и ще запази качеството
на хранителните продукти.
8
BG
MILK
temperature
juice
food
sensor
temperature
etc.
sensor
MILK
temperature
juice
sensor
food
temperature
etc.
sensor

3 Монтаж
C Помнете, че производителят не
носи отговорност, в случай, че
предоставената в ръководството за
употреба информация не се спазва.
На какво да обърнете
внимание при повторно
транспортиране на
хладилника
1. Хладилникът трябва да се изпразни и
почисти преди всяко транспортиране.
2. Рафтовете, аксесоарите, контейнера
за запазване свежестта и др. в
хладилника трябва да се залепят
добре с изолирбанд срещу друсането
при пренасяне.
3. Опаковката трябва да се обиколи
с дебело тиксо и здрави въжета
3. Почистете вътрешността на
и правилата за транспортиране,
хладилника, както е препоръчано в
напечатани върху опаковката, да се
раздел "Поддръжка и почистване".
спазват.
4. Включете хладилника в контакта.
C Винаги помнете...
При отваряне на вратата вътрешната
Всеки рециклиран продукт е от ползва
лампичка светва.
за природата и националните ресурси.
5. Ще чуете шум, когато компресорът
Ако искате да допринесете за
започне да работи. Нормално е
рециклирането на опаковъчните
течността и газовете в охладителната
материали, може да получите
система да издават шум, дори
информация за това от местните власти
компресорът да не работи.
и органи за опазване на околната среда.
6. Предните ъгли на хладилника
може да са топли на пипане. Това е
Преди да започнете работа
нормално. Тези части са проектирани
с хладилника
да бъдат топли с цел избягване на
Преди да започнете употреба на
кондензацията.
хладилника, моля поверете следното:
Електрическо свързване
1. Вътрешността на хладилника суха ли
Свържете хладилника към заземен
е и може ли въздухът да циркулира
контакт, който се предпазва от бушон с
свободно в задната му част?
подходящ капацитет.
2. Поставете 2-те пластмасови
Важно:
клинчета на задната вентилация, по
начина, показан на илюстрацията.
B Свързването трябва да бъде
Пластмасовите клинове осигуряват
направено в съответствие с наредбите
нужната дистанция между хладилника
в страната.
и стената, така че да се осигури
B Щепселът трябва да е лесно достъпен
циркулация на въздух.
след монтажа.
B Мощността и допустимата защита
на бушона са указани в раздел
“Технически спецификации”.
9
BG

B Посочената мощност трябва да
A Ако вратата на стаята, където
отговаря на мощността на вашето
ще инсталирате хладилника, не е
захранване.
достатъчно широка за да мине през нея
хладилника, се обадете в оторизирания
B При свързването не бива да се ползват
сервиз за да свалят вратите на
удължители и разклонители.
хладилника и го вкарайте странично
B Ако кабелът е повреден, той трябва да
през вратата.
се подмени от квалифициран техник.
1. Инсталирайте хладилника на място,
B Уредът не бива да се ползва преди
където може лесно да се ползва.
той да бъде поправен! Съществува
2. Дръжте хладилника далеч от
опасност от токов удар!
топлинни източници, задушни места и
Изхвърляне на
пряка слънчева светлина.
опаковъчните материали
3. Трябва да осигурите добра
вентилация около хладилника за да
A Опаковъчните материали може
може той да работи ефективно. Ако ще
да представляват опасност за децата.
монтирате хладилника в ниша в стената,
Дръжте опаковъчните материали далеч
трябва да има поне 5 см разстояние от
от достъпа на деца или ги изхвърлете
тавана и стената.
разделно, в съответствие с указанията
Ако подът е покрит с килим, уредът
за изхвърляне на отпадъци. Не ги
трябва да се повдигне на 2.5 см от пода.
изхвърляйте заедно с другите битови
4. Поставете хладилника върху равна
отпадъци.
подова повърхност за да се избегне
Опаковката на вашия хладилник е
клатене на уреда.
изработена от рециклируеми материали.
5. Не дръжте хладилника при външна
Изхвърляне на стария ви
температура под 10°C.
хладилник.
Нивелиране върху пода
Изхвърлете стария си уред така, че да
Ако хладилникът ви не е балансиран;
не навредите на околната среда.
Може да балансирате хладилника като
A Може да се консултирате с
завъртите предните крачета както е
оторизирания търговец или центъра
показано на илюстрацията. (Виж Фиг.
за събиране на отпадъци във вашата
А) Ъгълът, където е крака се понижава
община относно изхвърлянето на
при завъртане по посока на черната
хладилника ви.
стрелка и се увеличава при завъртане в
обратната посока. Процесът се улеснява
A Преди да изхвърлите хладилника
ако някой ви помогне като повдигне леко
ви, отрежете кабела и, ако вратата
хладилника.
е със заключалки, ги направете
неизползваеми, така, че да предпазите
Настройка височината на вратите
децата от всякакви евентуални
В случай, че има проблем с
рискове.
уравяняването на вратите една с
друга, може да ги подравните чрез
Поставяне ни монтиране
вертикално повдигане в посоченият по-
B Внимание: Никога не включвайте
долу ред. Рафтовете на вратата трябва
хладилника в контакта по време
да се изпразнят преди да настроите
на инсталация. В противен случай
височината на вратата.
съществува риск за живота или от
сериозно нараняване.
10
BG

