Blomberg KWD 9330 X A+: (C)
(C): Blomberg KWD 9330 X A+

рисунке ниже. (Полностью не снимать.)
Регулировка положения на
(См. рис. C.)
полу
Если холодильник расположен
неустойчиво:
Вы можете отрегулировать устойчивое
положение холодильника вращением
передних ножек, как показано на
рисунке. (См. рис. А.) Угол холодильника,
2
под которым находится ножка, будет
опускаться, если поворачивать ее
в направлении черной стрелки, или
подниматься, если поворачивать ее в
противоположном направлении. Если
слегка приподнять холодильник, это
облегчит процесс.
(C)
Регулировка дверей по высоте
При возникновении проблемы
с подгонкой установки дверей
относительно друг друга, их можно
подровнять по вертикали в порядке,
указанном ниже. При регулировке
(A)
высоты дверей убедитесь в том, что в
них нет продуктов.
1. Снимите нижнюю вентиляционную
крышку, открутив винты, как показано
на рисунке ниже. (См. рис. Б.)
2. С помощью отвертки ослабьте три
винта в петлях нижней двери, которую
требуется поднять, как показано на
2
4
1 2 3
(B)
12
RU

• Если дверь морозильной камеры ниже,
морозильной камеры, как это показано
чем дверь холодильной, выровнять их
на рис. Г.
можно, регулируя с помощью торцового
После того, как двери были
ключа M6 поворот винта регулировки
отрегулированы по высоте с помощью
высоты, который находится со стороны
винтов регулировки высоты, они должны
морозильной камеры, как это показано
закрываться правильно. Если двери
на рис. Г.
не закрываются должным образом,
• Если дверь морозильной камеры выше,
это может повлиять на эффективность
чем дверь холодильной, выровнять их
работы холодильника.
можно, регулируя с помощью торцового
ключа M6 поворот винта регулировки
высоты, который находится со стороны
(D)
13
RU

Регулировка зазора между
C Отрегулируйте дверь по своему
верхними дверцами
усмотрению, немного ослабляя винты.
C
Вы можете отрегулировать зазор
между дверцами холодильной камеры,
как указано на рисунке.
Во время регулировки дверей по высоте
двери холодильника должны быть
пустыми.
Центровой
винт
C Зафиксируйте отрегулированную
дверь, затянув винты, не изменяя
положения двери.
C Используя отвертку, выньте винт
из крышки верхней петли той двери,
которую нужно отрегулировать.
C Установите на место крышку петли и
зафиксируйте винтом.
14
RU

Установка водяного
фильтра
(в некоторых моделях)
Требования по установке
Для подачи воды к холодильнику можно
подсоединить два разных источника
воды: линию подачи холодной воды и
воду из бака.
Во втором случае следует использовать
насос.
поставки.
3. 5-метровая водопроводная труба
(диаметром 1/4 дюйма).
4. Клапан в водопроводной линии с
сетчатым фильтром (переходная
втулка).
5. Водяной фильтр следует прикрепить к
скобе внутри холодильной камеры.
Проверьте, входят ли указанные
ниже запчасти в комплект поставки
холодильника.
4
1. Гайка для подключения водопроводной
2
трубы к задней стороне прибора.
2. 3 скобы водосточной трубы (если они
требуются для крепления водосточной
трубы).
3
C Примечание. В случае использования
воды из бака эти запчасти не требуются,
поэтому могут не входить в комплект
1
15
RU

a
a
b
c
16
RU
2
1
Подключение
водопроводной трубы к
холодильнику.
Подключение воды к холодильнику
Пожалуйста, соблюдайте указанные
1. После установки гайки на
ниже инструкции.
водопроводную трубу вставьте трубу во
впускной клапан холодильника, сильно
нажав его вниз.
2. Закрепите гайку, как показано на
рисунке, надавив рукой на впускной
клапан холодильника.
(a – водопроводная труба, b – гайка, c –
клапан)
C Примечание 1. Чтобы узел был
водонепроницаемым, не нужно
закручивать гайку каким-либо
инструментом. В случае утечки
закрутите гайку гаечным ключом или
плоскогубцами.

Для установки водяного фильтра
3. Снимите крышку обводной линии
соблюдайте приведенные ниже
водяного фильтра, вращая ее вниз.
инструкции и следуйте приведенным
(Рис. 3-4)
рисункам.
A Внимание! Перед снятием крышки
1. Нажмите кнопку остановки
убедитесь в отключении режима
образования льда на дисплее. (Рис. 1)
образования льда.
Примечание. Падение нескольких капель
воды после снятия крышки является
нормальным явлением.
4. Снимите крышку на водяном фильтре,
чтобы установить ее, как показано
на рисунке, и поверните вверх для
фиксации. (Рис. 5)
5. Снова нажмите на кнопку остановки
образования льда на дисплее для
выхода из данного режима.
Водяной фильтр требуется менять
каждые шесть месяцев. Если водяной
фильтр подлежит замене или больше
не используется, его следует снять,
как показано на рисунке, и прикрепить
2. Снимите крышку воздушного фильтра
крышку обводной линии. Перед снятием
в холодильном отделении, потянув ее
крышки убедитесь в отключении режима
на себя. (Рис. 2)
образования льда.
3
4
5
2
1
17
RU

A Внимание! Водяной фильтр
3. По завершении монтажа подсоедините
предназначен для удаления из воды
насос к сети питания и включите его.
инородных частиц. Он не очищает воду
Эффективная работа насоса начнется
от микроорганизмов.
через 2-3 минуты после его включения.
A Внимание! При замене водяного
C Примечание. Выполняя подключение
фильтра или установке крышки обводной
воды, обращайтесь к руководству
линии всегда необходимо нажать на
пользователя насоса.
кнопку «Ice Оff».
1a
1b
Подсоединение шланга
подачи воды к баку
(в некоторых моделях)
Для подачи в холодильник воды из
бака необходим насос. Выполните
изложенные ниже инструкции
после подсоединения одного конца
водопроводной трубы, выходящей из
насоса, к холодильнику, как описано на
предыдущей странице.
1. Завершите соединение, вставив
другой конец водопроводной трубы в
2
соответствующее входное отверстие
насоса, как показано на рисунке.
2. Вставьте и закрепите шланг насоса в
бак, как показано на рисунке.
18
RU

Подключение
водопроводной трубы к
A Внимание! Убедитесь в наличии
водопроводной линии
стандартного патрубка с клапаном 1/2" в
линии подачи холодной воды и в том, что
(в некоторых моделях)
он полностью отключен.
Примечание -1. В случае использования
Подсоединение холодильника к линии
бака нет необходимости в работе
подачи холодной воды в вашем доме
водяного фильтра.
осуществляется через стандартный
Примечание -2. В случае использования
патрубок с клапаном 1/2". Если такой
бака необходим насос.
клапан отсутствует или вы не уверены
в своих действиях, обратитесь к
квалифицированному водопроводчику.
1. Отсоедините гайку от переходной
втулки. (Рис. А)
2. Установите переходную втулку в
патрубок с клапаном 1/2", как показано
на рисунке. (Рис. B)
3. После надевания гайки на
водопроводную трубу установите ее на
переходную втулку и вставьте втулку,
как показано на рисунке. (Рис. C)
4. Закрутите гайку вручную. В случае
утечки закрутите гайку гаечным
ключом или плоскогубцами.
A Внимание! С помощью скоб
закрепите водопроводную трубу в
соответствующих местах для того, чтобы
избежать повреждений, смещения или
случайного отсоединения.
A Внимание! После поворота водяного
клапана проверьте, чтобы в обеих точках
соединения водяной трубы не было
утечки. При наличии утечки немедленно
отключите клапан и снова затяните все
соединения, воспользовавшись гаечным
ключом или плоскогубцами.
19
RU

пределах 1-8 бар. Для этого проверьте,
Прежде чем использовать
можно ли наполнить стакан воды (100
распределитель льда/воды
куб. см) за 10 секунд.
C Давление в водопроводной линии не
C Первые 10 стаканов воды потреблять
должно быть ниже 1 бара.
нельзя.
C Давление в водопроводной линии не
C Для первого получения льда из
должно быть выше 8 Бар.
распределителя должно пройти
ориентировочно 12 часов. Если в
C Если давление воды в магистральной
распределителе недостаточно льда, его
линии упало ниже 1 бара, и в случае
нельзя получить из распределителя.
подачи воды из бака необходимо
использовать насосы.
C Около 30 первых кубиков льда,
полученных из распределителя,
C Водяная система холодильника
использовать нельзя.
должна быть подключена к линии
холодной воды. Ее нельзя подключать к
C Если бак не используется,
линии горячей воды.
применяйте водяной фильтр.
C При первоначальном включении
холодильника воду получить нельзя. Это
вызвано наличием воздуха в системе.
Для выпуска воздуха из системы
нажимайте на защелку распределителя с
интервалом 1 минуту до тех пор, пока из
него не покажется вода. В начале поток
воды может быть неравномерным. Он
нормализуется после выпуска воздуха из
системы.
C При первоначальном включении
холодильника до получения холодной
воды должно пройти ориентировочно 12
часов.
C Для бесперебойной работы
распределителя льда/воды давление
в водопроводной линии должно быть в
20
RU

4 Подготовка
C Ваш холодильник следует установить,
по крайней мере, в 30 см от источников
тепла, таких как газовые конфорки,
плиты, батареи центрального
отопления и печи, и, по крайней мере,
в 5 см от электрических плит, в месте,
куда не попадает прямой солнечный
свет.
C Температура воздуха в помещении, где
устанавливается холодильник, должна
быть не менее 10°С. Использовать
холодильник при более низкой
температуре не рекомендуется в связи
с его низкой эффективностью в таких
условиях.
C Содержите внутреннее пространство
холодильника в чистоте.
C Если два холодильника
устанавливаются рядом, то между
ними должно быть расстояние не менее
2 см.
C При первом включении холодильника
просим соблюдать следующие
инструкции во время первых шести
часов работы.
- Не открывайте часто дверцу.
- Холодильник должен быть пустым,
без продуктов внутри.
- Не отключайте холодильник от
сети. Если произошло отключение
электроэнергии не по вашей вине, см.
указания в разделе «Рекомендации по
устранению неполадок».
C Оригинальную упаковку и пленку
следует сохранить для последующей
транспортировки или перевозки
изделия.
21
RU

5 Эксплуатация холодильника
17. Индикатор высокой температуры/
1 Кнопка настройки холодильного
предупреждения об ошибке
отделения
18. Индикатор открытия двери
2. Кнопка режима временного
холодильника
отключения
19. Индикатор блокировки
3. Кнопка быстрого охлаждения
20. Индикатор режима временного
4. Кнопка блокировки клавиш
отключения
5. Кнопка отключения льда
21. Индикатор воды
6. Индикаторы распределителя воды
22. Индикатор отсутствия льда
7. Кнопка выбора льда/воды
23. Индикатор разрушения льда
8. Кнопка подсветки распределителя
24. Индикатор кубиков льда
воды
25. Индикатор «Auto Eco»
9. Кнопка замены фильтра
26. Индикатор замены фильтра
10. Кнопка «Auto Eco»
27. Индикатор открытия двери
11. Кнопка быстрого замораживания
морозильника
12. Кнопка настройки морозильника
28. Индикатор настройки температуры
13. Индикатор экономичного режима
морозильного отделения
14. Индикатор высокой влажности
29. Индикатор быстрой заморозки
15. Индикатор быстрого охлаждения
30. Индикатор ионизатора
16. Индикатор настройки температуры
ДОПОЛНИТЕЛЬНО
холодильника
22
RU

Регулировка
Регулировка
Пояснения
морозильного
холодильного
отделения
отделения
-15°C 4°C Это рекомендуемые стандартные
настройки.
-18, -21 или -24°C 4°C Рекомендуется использовать при
температуре окружающей среды выше
30°C.
Камера для
4°C Используйте эту функцию, когда
замораживания
необходимо быстро заморозить продукты
свежих продуктов
или за короткое время получить лед.
По завершении процесса холодильник
переключится в предыдущий режим.
-15°C или ниже 2°C Рекомендуется для ситуаций, когда
возможной причиной недостаточно низкой
температуры в холодильной камере
является жаркая погода или частое
открывание двери.
-15°C или ниже Quick Cool Рекомендуется использовать в тех случаях,
когда холодильная камера перегружена или
же нужно быстро охладить продукты.
морозильного отделения для изменения
Регулировка температуры
настройки. Температура уменьшится
холодильного отделения
на 2°С. При каждом нажатии кнопки
Можно установить одно из следующих
температура будет снижаться, и затем
значений температуры холодильного
вернется к высшему значению. По
отделения:
достижении нужной температуры
8, 6, 4 и 2°C
отпустите кнопку, и новая настройка
температуры будет сохранена.
Нажмите на кнопку настройки
холодильного отделения для изменения
Функция замораживания
настройки. Температура уменьшится
свежих продуктов
на 2°С. При каждом нажатии кнопки
При нажатии кнопки «Fresh Freeze»
температура будет снижаться, и затем
компрессор будет работать около
вернется к высшему значению. По
14 часов. Будет гореть индикатор
достижении нужной температуры
быстрого замораживания. Для отмены
отпустите кнопку, и новая настройка
данной функции снова нажмите на
температуры будет сохранена.
кнопку «Fresh Freeze». Индикатор
Если вы считаете, что продукты
быстрого замораживания выключится,
охладились сильнее, чем нужно, вы
а температура вернется к своему
можете отрегулировать температуру в
нормальному значению. Функция
холодильном отделении до значений 6
замораживания свежих продуктов
или 8.
отключится автоматически через 12
часов, если вы не отмените ее.
Регулировка температуры
Если вы хотите заморозить большое
морозильного отделения
количество свежих продуктов, нажмите
Можно установить одно из следующих
кнопку замораживания свежих
значений температуры морозильного
продуктов за 14 часов до того, как
отделения: -15 / -18 / -21 / -24 и -24°C
поместите продукты в морозильное
Нажмите на кнопку настройки
отделение.
23
RU

Функция быстрого
Ионизатор
охлаждения
Ионизатор помогает очищать воздух в
При нажатии на кнопку быстрого
холодильном отделении. Он работает
охлаждения температура в камере
автоматически.
станет меньше заданных значений.
Кнопка блокировки
Этот режим используется в тех случаях,
клавиш
когда нужно быстро охладить продукты,
Блокировка активируется при нажатии
помещенные в холодильное отделение.
на эту кнопку в течение 3 секунд.
После нажатия на кнопку быстрого
При этом все кнопки и защелка
охлаждения загорится соответствующий
распределителя работать не будут. Для
индикатор. Для отмены данной функции
деактивации блокировки опять нажмите
снова нажмите на кнопку быстрого
на эту же кнопку в течение 3 секунд.
охлаждения. Индикатор быстрого
Подсветка распределителя
охлаждения выключится, а температура
воды
вернется к своему нормальному
При нажатии на кнопку «Light» загорится
значению. Функция быстрого
лампочка распределителя воды, которая
охлаждения отключится автоматически
погаснет при повторном нажатии кнопки.
в случае, если ее не отменить.
Кроме того, подсветка включается при
Кнопка режима
нажатии на защелку распределителя
временного отключения
воды и гаснет через некоторое время
В случае, если холодильное отделение
после того, как отпустить защелку.
не будет использоваться в течение
Выбор воды/льда
длительного времени, его использование
С помощью кнопки «Выбор
можно отменить путем нажатия на
распределителя» выбирают режим
кнопку Vacation (временное отключение).
«вода», «кубики льда» или «колотый
При этом холодильник может работать
лед».
более экономично. Для включения
Распределитель льда/воды
функции нажмите на кнопку «Vacation»
Благодаря трем режимам работы
и удерживайте ее в течение 3 секунд.
распределитель эффективно
При включенном режиме временного
удовлетворит ваши потребности в
отключения дверь холодильного
воде, кубиках льда и колотом льде без
отделения должна оставаться закрытой,
открытия дверей холодильника. Он
и в нем не должно оставаться никаких
является непрерывным источником
продуктов.
холодной воды и льда без добавления
Кнопка «Auto Eco»
воды. Понятная для пользователя
(функция особо
панель позволяет выбирать следующие
экономичного режима)
функции распределения.
При нажатии кнопки «Auto Eco»
Примечание.
активизируется автоматическая
• Воду или лед можно распределять
экономичная функция. Если при выборе
максимум 90 секунд при каждом
данной функции не открывать дверцу
использовании.
холодильного отделения в течение
• При открытой двери морозильного
длительного времени, то холодильное
отделения распределитель не работает.
отделение автоматически переключится
на более экономичный режим работы
в целях экономии электроэнергии. При
повторном нажатии на кнопку «Auto Eco»
функция отключается.
24
RU

Кубики льда Колотый лед
A Никогда не пользуйтесь острыми
Холодная вода
предметами для разрезания льда в
контейнере. Это может привести к
Использование
повреждению контейнера.
распределителя льда
A Никогда не следует помещать продукты
в накопитель для льда с целью их
C Имейте в виду, что первые кубики
быстрого охлаждения.
льда будут готовы только через 12 часов
после включения прибора.
A Если по какой-то причине контейнер
Если вам не нужен лед, например,
для льда следует извлечь, то перед
зимой или во время отпуска, выключите
этим необходимо нажать на кнопку
функцию генерирования льда.
активизации функции отключения
льда.
C Устройство для образования
Функция отключения льда
льда производит приблизительно 110
кубиков за 24 часа; это количество
C Чтобы остановить образование льда,
может меняться в зависимости
нажмите на кнопку «Ice Off». При выборе
от частоты открытия дверей,
функции отключения льда вода не будет
настроек холодильника и нарушения
попадать в ледогенератор. Однако уже
энергоснабжения. Образовавшийся лед
образовавшийся лед можно получить
можно получать из распределителя в
из распределителя. Чтобы снова начать
виде кубиков или в виде колотого льда.
образование льда, необходимо снова
Получение колотого льда занимает
нажать на кнопку «Ice Off».
больше времени, чем получение кубиков;
Предупреждение. Если вы не
нормальным также считается выпадение
пользуетесь распределителем льда,
некоторого количества колотого льда
не забудьте установить крышку на
перед кубиками в случае выбора опции
канал подачи льда в кольце внутри
колотого льда до выбора функции
двери морозильника. (См. раздел
кубиков льда.
«Холодильник».)
C Если распределитель льда не
Кнопка замены фильтра
использовался продолжительное время
либо после перебоя в электропитании,
и лед сбился в комки или же изменился
Водяной фильтр требуется менять
вкус и запах льда, то лед необходимо
каждые шесть месяцев. Индикатор
выбросить, а контейнер для льда
замены фильтра загорается, если
тщательно вымыть.
необходимо заменить водяной фильтр.
Предостережения
Чтобы снять предупреждение о
необходимости замены фильтра,
C В отсек распределителя льда
нажмите кнопку замены фильтра и
нельзя добавлять лед. Это может
удерживайте ее 3 секунды.
отрицательно повлиять на подачу льда
или его дробление.
A Нормальным явлением является
слипание нескольких кубиков льда в
накопителе.
A Во избежание травм не дотрагивайтесь
до движущихся частей, таких как
лезвия в корпусе на выпуске льда из
распределителя.
25
RU

Пользование краном
Лоток для яиц
подачи воды
Вы можете установить держатель для
яиц на полочку двери или обычную
полку, как вам удобнее.
Никогда не помещайте держатель для
яиц в камеру морозильника.
Выдвижные полки
Чтобы выдвинуть выдвижную полку,
слегка приподнимите ее спереди, после
чего ее можно сдвинуть назад и вперед.
Полку можно выдвинуть вперед до
упора, чтобы достать продукты в конце
полки. Чтобы вынуть полку, сдвиньте ее
Предостережения
до второго упора, слегка приподнимите и
Первые несколько стаканов воды,
потяните на себя.
вышедшей из распределителя, могут
Крепко придерживайте полку
быть теплыми. Это вполне нормально.
снизу, чтобы она не перевернулась.
Если распределитель воды используется
Полки холодильного отделения
нечасто, то для получения свежей воды
устанавливаются на направляющие,
необходимо слить некоторое количество
расположенные на боковых стенках, и их
воды из распределителя.
можно переставлять выше или ниже.
Лоток для разлитых
Чтобы установить полку на место,
продуктов
сдвиньте ее назад до конца.
Капли воды, падающие во время работы,
накапливаются в лотке для разлитых
продуктов. Вы можете достать лоток,
потянув его на себя или нажав на край
(в зависимости от модели). Воду можно
удалить с помощью губки или мягкой
1
ткани.
2
3
4
26
RU

Синий свет
Регуляторы влажности в
В продуктах, хранящихся в контейнерах
контейнерах для фруктов
для фруктов и овощей с синей
и овощей
подсветкой, продолжается процесс
Контейнер для фруктов и овощей
фотосинтеза, благодаря длине волн
предназначен специально для их
синего света и, таким образом, они
сохранения в свежем виде, чтобы они
сохраняют свою свежесть, а содержание
не теряли влагу. Холодный воздух
витаминов в них увеличивается.
циркулирует, в основном, вокруг
контейнера для фруктов и овощей,
а количество холодного воздуха,
поступающего в контейнер, регулируется
ползунковыми регуляторами на передней
панели крышки контейнера.
Вы можете регулировать положение
ползунковых регуляторов влажности
в зависимости от условий влажности
и степени охлаждения продуктов в
отделении для фруктов и овощей.
Ионизация:
Если вы хотите, чтобы продукты в
Воздух ионизируется с помощью
контейнере для фруктов и овощей
системы ионизации в воздухопроводе
охлаждались сильнее, откройте
холодильного отделения. Благодаря
отверстия ползунковых регуляторов,
этой системе переносимые по воздуху
а если хотите, чтобы они охлаждались
бактерии и частицы, образующие запахи,
меньше и дольше сохраняли свою
удаляются.
влажность, закройте отверстия.
Лоток для яиц
Вы можете установить держатель для
яиц на полочку двери или обычную
полку, как вам удобнее.
Никогда не помещайте держатель для
яиц в камеру морозильника.
Отделение замораживания
свежих продуктов
В этом отделении продукты быстро
замораживаются и сохраняют свой вкус
Рекомендации по хранению
и питательную ценность.
замороженных продуктов
• Упакованные продукты,
предварительно замороженные в
промышленных условиях, следует
хранить в соответствии с инструкциями
их производителей для
(4-звездочного) отделения хранения
замороженных продуктов.
• Чтобы обеспечить сохранение
наилучшего качества замороженных
производителем и продавцом продуктов,
следует помнить следующее:
27
RU

1. Поместите пакеты в морозильник как
5. Сразу же осторожно утилизируйте
можно быстрее после их приобретения.
перегоревшую лампочку.
2. Проверьте, чтобы содержимое было
Запасную электролампу можно свободно
маркировано и датировано.
приобрести в магазине электротоваров
3. Не используйте продукты после
или хозтоваров.
Отделение охладителя
завершения срока их реализации.
Если вы собираетесь использовать
В случае прекращения подачи
электроэнергии не открывайте дверцу
контейнер для хранения под полкой
морозильного отделения. Даже если
в качестве отделения охладителя,
отсутствие электроэнергии превышает
то контейнер для хранения под
время, указанное в табличке с
полкой следует разместить так, как
описанием технических характеристик
показано на рисунке.
изделия слева на внутренней стенке
Отделение охладителя
холодильника, это не повлияет на
замороженные продукты. Если оно
подготавливает продукты к
длится дольше, то продукты необходимо
заморозке. Кроме того, эти
проверить и, при необходимости,
отделения можно использовать
немедленно употребить в пищу или
для хранения продуктов при
заморозить после приготовления.
температуре, на несколько градусов
Размораживание
ниже температуры холодильной
Холодильная и морозильная камера
камеры.
размораживаются автоматически.
Вы можете освободить место
Замена лампочки
внутри холодильника, вынув любой
внутреннего освещения
из охладителей. Для этого потяните
Если лампочка вышла из строя, следуйте
лоток на себя, пока он не упрется в
приведенным ниже инструкциям.
1. Выключите выключатель на розетке и
ограничитель. Затем приподнимите
выньте из розетки шнур питания.
лоток приблизительно на 1 см и
Для облегчения доступа вытащите все
снова потяните на себя.
полки и ящики.
2. Крышки лампочек подсветки в
морозильном и холодильном отделениях
можно открыть, нажав на них вручную;
освободите сначала одну сторону, потом
вторую, как показано на рисунках.
3. Сначала убедитесь, что неработающая
лампа плотно закручена. Вставьте вилку
в розетку и включите прибор. Если
лампа заработала, установите на место
крышку рассеивателя, вставив сначала
задний выступ, а затем нажмите ее
вверх, чтобы установить на место два
передних выступа.
4. Если лампа все же не работает,
выключите прибор, вытянув вилку
электропитания из настенной розетки.
Замените лампу новой (с максимальной
мощностью 15Вт), с соответствующим
цоколем E14 (SES).
28
RU

29
RU

6 Обслуживание и чистка
A Ни в коем случае не используйте
Защита пластмассовых
бензин, бензол или подобные вещества
поверхностей
для чистки.
C Не храните жидкое масло или
B Перед чисткой рекомендуем
продукты, приготовленные с
отсоединить изделие от электросети.
добавлением масла, в морозильной
C Не используйте для чистки острые
камере в открытых контейнерах,
абразивные инструменты, мыло,
так как они могут повредить
бытовые чистящие средства, моющие
пластмассовые поверхности. Если
средства и восковую политуру.
же масло протекло или попало на
C Корпус изделия промойте теплой водой
пластмассовую поверхность, сразу же
и затем вытрите насухо.
очистите и промойте это место теплой
C Протрите внутреннюю поверхность
водой.
изделия хорошо отжатой тканью,
смоченной в растворе питьевой соды
(1 чайная ложка на пол-литра воды), и
вытрите насухо.
B Не допускайте попадания воды
в корпус лампочки и в другие
электрические компоненты.
B Если холодильник не будет
использоваться в течение длительного
времени, отключите сетевой шнур,
извлеките все продукты, выполните
чистку и оставьте дверцу приоткрытой.
C Регулярно проверяйте, не испачкан ли
уплотнитель дверцы частицами пищи.
C Для снятия полок в дверце полностью
разгрузите их, а затем просто
приподнимите вверх.
30
RU

Контейнер для льда и
распределитель воды
C
Перед очисткой контейнера для
льда следуйте приведенным ниже
инструкциям:
A Вытащите контейнер для льда,
приподняв его и потянув на себя, как
показано на схеме.
A Удалите лед из контейнера, если он
имеется. Чтобы извлечь прилипший
лед, пользуйтесь неострыми
предметами, чтобы не повредить
контейнер.
A Прежде, чем устанавливать контейнер
обратно в корпус, проследите, чтобы
внутри он не был мокрым/влажным.
A Если вы хотите извлечь лед из
распределителя после установки
контейнера обратно в корпусе и
закрытия двери морозильника,
выйдите из режима отключения льда,
снова нажав на кнопку «Ice Off».
A Не дотрагивайтесь до движущихся
частей, таких как ножи в контейнере
для льда.
C Водяной бак должен быть пустым
в случае его неиспользования в
течение длительного времени.
31
RU

Мини-бар
Функция «Мини-бар» обеспечивает
дополнительное удобство использования
холодильника. Чтобы получить доступ
к дверной полке, нет необходимости
открывать дверцу холодильника;
благодаря этой функции вы можете
доставать из холодильника еду и
напитки частого употребления. Таким
образом вы будете реже открывать
дверцу холодильника и снизите его
энергопотребление.
Чтобы открыть дверцу мини-бара,
надавите на нее рукой и потяните на
себя.
Если дверца мини-бара открыта,
используйте ее внутреннюю поверхность
в качестве столика, на который можно
ненадолго ставить бутылки и стаканы,
как показано на рисунке.
A Внимание! Запрещено оказывать
на столик мини-бара давление (сидеть,
висеть или использовать в качестве
ступени) и ставить на него тяжелые
предметы. Это может привести к
повреждению холодильника или
травмам.
A Внимание! На дверце мини-бара
запрещено резать продукты; избегайте
повреждения дверцы острыми
предметами.
32
RU

7 Рекомендации по устранению неисправностей
Прежде чем обращаться в сервисный центр, просмотрите этот перечень.
Это может помочь вам сэкономить время и деньги. Ниже перечислены часто
возникающие проблемы, причиной которых не являются дефекты производства
или материалов. Некоторые из функций, описанных здесь, могут отсутствовать
в вашем изделии.
Холодильник не работает.
• Правильно ли включен холодильник в сеть? Вставьте вилку в
розетку электросети.
• Не перегорел ли предохранитель розетки, в которую включена
морозильная камера, и главный предохранитель? Проверьте
предохранитель.
Конденсация на боковой стенке холодильного отделения (MULTI ZONE, COOL CONTROL
и FLEXI ZONE).
• Очень низкая температура окружающей среды. Частое открывание
и закрывание дверцы. Изделие работает в условиях повышенной
влажности. Хранение продуктов, содержащих жидкость, в
открытых контейнерах. Неплотно закрыта дверца. Переключите
термостат на более низкую температуру.
• Уменьшите время открывания дверцы или открывайте ее реже.
• Накройте продукты, хранящиеся в открытых контейнерах,
соответствующим материалом.
• Вытрите конденсат сухой тканью и проверьте, не образуется ли он
снова.
Не работает компрессор
• Термозащита компрессора может сработать при неожиданных
отключениях энергоснабжения либо при выключениях-включениях
прибора, поскольку давление хладагента в системе охлаждения
не успевает стабилизироваться. Холодильник начнет работать
ориентировочно через 6 минут. Если по истечении этого времени
холодильник не заработал, обратитесь в сервисный центр.
• Холодильник находится в режиме размораживания. Это нормально
для полностью автоматически размораживающегося холодильника.
Цикл размораживания выполняется периодически.
• Холодильник не включен в розетку электросети. Убедитесь, что
вилка должным образом включается в розетку.
• Правильно ли отрегулирована температура?
• Возможно, отключена подача электроэнергии.
Холодильник включается слишком часто или работает слишком долго.
33
RU

• Ваш новый холодильник может быть больше, чем предыдущий. Это
вполне нормально. Большие холодильники работают в течение
более длительного времени.
• Возможно, температура в помещении повышена. Это вполне
нормально.
• Возможно, холодильник был недавно включен или загружен
продуктами. Полное охлаждение холодильника может
продолжаться на пару часов дольше.
• Возможно, в холодильник недавно поместили большое количество
горячих продуктов. Горячие продукты в холодильнике заставляют
его работать дольше, пока не будет достигнута нужная температура
хранения.
• Возможно, дверцы часто открываются либо были приоткрыты
в течение длительного времени. Теплый воздух, попадающий в
холодильник, заставляет его работать дольше. Открывайте дверцы
реже.
• Неплотно закрыта дверца морозильного или холодильного
отделения. Проверьте, плотно ли закрыты дверцы.
• Холодильник отрегулирован на очень низкую температуру.
Отрегулируйте температуру холодильника до более высокого
значения и подождите, пока установленная температура не будет
достигнута.
• Уплотнитель двери холодильного или морозильного отделения,
возможно, загрязнен, изношен, разорван или неправильно
установлен. Почистите или замените уплотнитель. Поврежденный/
разорванный уплотнитель заставляет холодильник работать
дольше для того, чтобы поддерживать текущую температуру.
Температура в морозильном отделении слишком низкая, в то время как температура в
холодильном отделении достаточная.
• Температура морозильного отделения установлена на очень низкое
значение. Отрегулируйте температуру морозильного отделения на
более высокое значение и проверьте работу.
Температура холодильного отделения очень низкая, в то время как температура в
морозильном отделении достаточная.
• Возможно, температура холодильного отделения отрегулирована
на очень низкое значение. Отрегулируйте температуру
холодильного отделения до более высокого значения и проверьте
работу.
Замерзают продукты в выдвижных контейнерах холодильного отделения.
• Возможно, температура холодильного отделения отрегулирована
на очень низкое значение. Отрегулируйте температуру
холодильного отделения до более высокого значения и проверьте
работу.
34
RU

Температура в холодильном и морозильном отделении слишком высокая.
• Возможно, температура холодильного отделения отрегулирована
на очень высокое значение. Настройка холодильного отделения
влияет на температуру морозильного отделения. Измените
температуру холодильного или морозильного отделения, пока не
будет достигнут нужный уровень температуры.
• Возможно, дверцы часто открываются либо были приоткрыты в
течение длительного времени; открывайте их реже.
• Возможно, дверца холодильника приоткрыта; закройте ее
полностью.
• Возможно, в холодильник недавно поместили большое количество
горячих продуктов. Подождите, пока холодильное или морозильное
отделение достигнет нужной температуры.
• Возможно, морозильник был недавно включен в сеть. На полное
охлаждение холодильника потребуется время.
Уровень рабочего шума повышается во время работы холодильника.
• Рабочие характеристики изделия могут изменяться в зависимости
от изменений температуры окружающей среды. Это нормально и
не является неисправностью.
Вибрация или шум.
• Пол неровный или нетвердый. При медленном перемещении
морозильник дрожит. Убедитесь в том, что пол ровный и достаточно
прочный, чтобы выдержать вес холодильника.
• Шум могут вызывать предметы, поставленные на холодильник.
Посторонние предметы следует убрать с холодильника.
Из холодильника доносится шум льющейся или распыляющейся жидкости.
• Расход жидкости и газа изменяется в соответствии с принципами
работы изделия. Это нормально и не является неисправностью.
Слышен шум, похожий на шум ветра.
• Для охлаждения холодильника используются вентиляторы. Это
нормально и не является неисправностью.
Конденсация влаги на внутренних стенках холодильника.
• Жаркая и влажная погода способствует образованию льда и
конденсации влаги. Это нормально и не является неисправностью.
• Возможно, дверцы холодильника приоткрыты; убедитесь, что они
полностью закрыты.
• Возможно, дверцы часто открываются либо были приоткрыты в
течение длительного времени; открывайте их реже.
Появление влаги снаружи холодильника или между дверцами.
• Воздух может быть влажным; это вполне нормально при влажной
погоде. Когда влажность уменьшится, конденсация исчезнет.
35
RU

Неприятный запах внутри холодильника.
• Следует выполнить чистку внутри холодильника. Протрите
внутреннюю часть с помощью губки, теплой или газированной
воды.
• Некоторые контейнеры или упаковочные материалы также могут
быть источником запаха. Используйте другой контейнер или
упаковочный материал другой марки.
Дверца не закрыта, как следует.
• Упаковки продуктов могут препятствовать закрыванию дверцы.
Переместите упакованные продукты, препятствующие закрытию
дверцы.
• Холодильник стоит не совсем вертикально, это может вызвать
дрожание даже при незначительном перемещении. Отрегулируйте
регулировочные винты.
• Пол неровный или нетвердый. Убедитесь в том, что пол ровный и
может выдержать вес холодильника.
Контейнеры для фруктов и овощей прилипли.
• Возможно, продукты касаются верхней части контейнера.
Переместите продукты в контейнере.
36
RU

Lue tämä käyttöopas ensin!
Hyvä asiakas,
toivomme, että nykyaikaisissa tuotantolaitoksissa valmistamamme ja erittäin
huolellisella laadunvalvonnalla tarkastettu tuote toimii käytössäsi mahdollisimman
tehokkaasti.
Tämän varmistamisiseksi toivomme, että luet huolellisesti koko käyttöoppaan ennen
jääkaapin käyttöön ottoa, ja säilytät sitä helposti saatavilla tulevaa käyttöä varten.
Tämä käyttöopas
• Auttaa käyttämään laitetta nopeasti ja turvallisesti.
• Lue käyttöopas ennen laitteen asennusta ja käyttöä.
• Noudata ohjeita, erityisesti turvallisuutta koskevia.
• Säilytä käyttöopas helposti saatavilla olevassa paikassa, sillä voit tarvita sitä
myöhemmin.
• Lue myös muut tuotteen mukana tulleet asiakirjat.
Huomaa, että tämä käyttöopas voi soveltua myös muihin malleihin.
Symbolit ja niiden kuvaus
Tässä käyttöoppaassa käytetään seuraavia symboleja:
C Tärkeitä tietoja tai hyödyllisiä käyttövihjeitä.
A Varoitus hengelle ja omaisuudelle vaarallisista olosuhteista.
B Varoitus sähköjännitteestä.
Tässä tuotteessa on sähköisten ja elektronisten laitteiden jätteiden (WEEE)
valikoivan lajittelun symbolimerkintä.
Tämä tarkoittaa, että tätä tuotetta pitää käsitellä Euroopan parlamentin ja
neuvoston direktiivin 2002/96/EY:n mukaisesti, jotta sitä voidaan kierrättää ja
purkaa minimoiden ympäristövaikutukset. Saat lisätietoja paikallisilta tai alueellisilta
viranomaisilta.
Elektroniset laitteet, jotka eivät ole mukana valikoivassa lajittelussa ovat potentiaalisesti
vaarallisia ympäristölle ja ihmisen terveydelle, koska ne sisältävät vaarallisia aineita.

SISÄLTÖ
1 Jääkaappi 3
Vesiautomaatin valaistus .................... 23
Veden/jäätyypin valinta ....................... 23
1 Jääkaappi 4
Jää/vesiautomaatti ............................. 23
Jääautomaatin käyttö ......................... 23
2 Tärkeitä
Ice Off (Jää pois) ................................ 24
turvallisuusvaroituksia 5
Vesilähteen käyttö .............................. 25
Käyttötarkoitus ..................................... 5
Vuotoallas .......................................... 25
Laitteet, joissa on vesiautomaatti .......... 7
Kananmunalokero .............................. 25
Lasten turvallisuus ............................... 7
Liukuvat hyllyt .................................... 25
HCA-varoitus ....................................... 7
Sininen valo ....................................... 26
Energian säästötoimet .......................... 7
Kananmunalokero .............................. 26
Suositukset tuoreruokaosastolle ........... 8
Turetavaran pakastuslokero ................ 26
3 Asennus 9
Vihanneslokeron kosteudensäädön
Jääkaapin kuljetuksessa huomioitavat
liukusäätimet ...................................... 26
asiat .................................................... 9
Ion: ................................................... 26
Ennen jääkaapin käyttöä ...................... 9
Pakastetun ruoan säilytyssuositukset . 27
Sähköliitännät ...................................... 9
Sulatus .............................................. 27
Pakkauksen hävittäminen ................... 10
Sisälampun vaihtaminen ..................... 27
Vanhan jääkaapin hävittäminen ........... 10
Jäähdytyslokero ................................. 28
Sijoittaminen ja asennus ..................... 10
6 Ylläpito ja puhdistus 30
Lattiatasapainon säätö ....................... 10
Muoviosien suojelu ............................ 30
Yläoven raon säätäminen ................... 13
Jäälokero ja vesiautomaatti ................ 31
Vesisuodattimen asennus .................. 14
Minibaari ............................................ 32
Vesiletkun liittäminen jääkaappiin. ....... 15
Vesiletkun ja säiliön liitäntä ................. 17
7 Suositellut
Vesiletkun liittäminen kylmävesijohtoon. 18
ongelmanratkaisut 33
(joissakin malleissa) ............................ 18
Ennen jään/veden annostelijan
ensimmäistä käyttöä .......................... 19
4 Valmistelu 20
5 Jääkaapin käyttäminen 21
Jääkaappiosaston lämpötilan
asettaminen ....................................... 22
Pakastinosaston lämpötilan asettaminen 22
Tuoretuotteiden pakastustoiminto ....... 22
Pikajäähdytystoiminto ........................ 22
Lomapainike ...................................... 23
Auto Eco -painike (erikois-
energiansäästötoiminto) ..................... 23
Ionisoija ............................................ 23
Avainlukituspainike ............................. 23
2
FI

1 Jääkaappi
1. Pakastelokero
15. Sininen valo
2. Jääkaappilokero
3. Jääkaappilokeron sisävalo
16. Vesisäiliö
4. Maitotuotekotelon kansi
17. Tuuletusaukon kansi
5. Tuuletin
18. Pakasteosaston vetolaatikot
6. Ionisoija
19. Pakasteosaston lasihyllyt
7. Jääkaappilokeron lasihyllyt
20. Jääkanavan kansi
8. Kananmunalokero
21. Pakastelokeron sisävalo
9. Jääkaappilokeron ovitelineet
22. Viileäkaappiosasto
10. Viinikellari
23. Jääpala-automaatti
11. Pullohyllyt
24. Minibaari
12. Vihanneslokerot
25. Jäähdytyslokero
13. Vihanneslokeron kansi
*VALINNAINEN
14. Säädettävät etujalat
3
FI
21
3
4
24
6*
5
23
7
22
21
25
8
*10
9
20
*12
11
*19
13
14
14
18
*17 *2616
5
C Tämän ohjekirjan kuvitus on kaavakuviin perustuvaa eikä se ehkä vastaa täysin
todellista tuotetta Jos jokin osa puuttuu ostamastasi tuotteesta, kuvaus koskee muita
malleja.

1 Jääkaappi
1. Pakastelokero
2. Jääkaappilokero
3. Jääkaappilokeron sisävalo
4. Maitotuotekotelon kansi
5. Tuuletin
6. Ionisoija
7. Jääkaappilokeron lasihyllyt
8. Kananmunalokero
9. Jääkaappilokeron ovitelineet
10. Viinikellari
11. Pullohyllyt
12. Vihanneslokerot
13. Vihanneslokeron kansi
4
FI
21
3
*4
24
6
5
23
7
22
21
8
*10
9
20
*12
11
*19
13
14
14
18
*16 2617
5
14. Säädettävät etujalat
15. Sininen valo
16. Vesisäiliö
17. Tuuletusaukon kansi
18. Pakasteosaston vetolaatikot
19. Pakasteosaston lasihyllyt
20. Jääkanavan kansi
21. Pakastelokeron sisävalo
22. Viileäkaappiosasto
23. Jääpala-automaatti
24. Minibaari
25. Jäähdytyslokero
*VALINNAINEN
C Tämän ohjekirjan kuvitus on kaavakuviin perustuvaa eikä se ehkä vastaa täysin
todellista tuotetta Jos jokin osa puuttuu ostamastasi tuotteesta, kuvaus koskee muita
malleja.

2 Tärkeitä turvallisuusvaroituksia
Tutustu seuraaviin ohjeisiin. Näiden
• Älä kosketa käsin pakastettua ruokaa,
ohjeiden noudattamatta jättäminen
se voi tarttua käteesi.
saattaa aiheuttaa loukkaantumisen
• Irrota jääkaappi verkkovirrasta ennen
tai aineellisia vahinkoja. Muuten kaikki
puhdistamista tai sulattamista.
takuu- ja käyttövarmuusvastuut
• Höyryä ja höyrystyviä puhdistusaineita
mitätöityvät.
ei saa koskaan käyttää jääkaapin
Ostamasi laitteen käyttöikä on 10 vuotta.
puhdistuksessa ja sulatuksessa.
Tämä on myös aika, jonka kuluessa
Höyry voi tässä tapauksessa päästä
laitteen toimintaan kuvatulla tavalla
kosketuksiin sähköosien kanssa ja
tarvittavia varaosia on saatavana.
aiheuttaa oikosulun tai sähköiskun.
• Älä koskaan käytä jääkaapin osia, kuten
Käyttötarkoitus
ovea, tukena tai askelmana.
Tämä tuote on suunniteltu
• Älä käytä sähkölaitteita jääkaapin sisällä.
– sisätiloihin ja suljettuihin tiloihin kuten
• Älä vahingoita poraamalla tai
koteihin,
leikkaamalla osia, joissa jäähdytysaine
kiertää. Jäähdytysainetta voi suihkuta
– suljettuihin työskentely-ympäristöihin,
ulos, kun haihduttimen kaasukanava,
kuten myymälöihin ja toimistoihin,
johdon jatke tai pinnoite puhkaistaan,
– suljettuihin majoitustiloihin
ja se voi aiheuttaa ihon ärsytystä ja
kuten maatiloille, hotelleihin ja
silmävahinkoja.
pensionaatteihin.
• Älä peitä tai tuki millään materiaalilla
• Tuotetta ei saa käyttää ulkona.
jääkaapin tuuletusaukkoja.
• Vain valtuutetut henkilöt saavat korjata
Yleinen turvallisuus
sähkölaitteita. Epäpätevän henkilön
• Kun haluat hävittää/romuttaa laitteen,
tekemät korjaukset voivat aiheuttaa
suosittelemme ottamaan yhteyttä
vaaran käyttäjälle.
valtuutettuun huoltoon vaadittavien
• Vian ilmetessä tai jääkaappia
tietojen ja valtuutettujen tahojen selville
huollettaessa tai korjattaessa sammuta
saamiseksi.
virta joko kääntämällä sulake pois
• Ota yhteys valtuutettuun huoltoon
päältä tai irrottamalla virtajohto.
kaikissa jääkaappiin liittyvissä
• Älä vedä johdosta irrottaessasi
kysymyksissä ja ongelmissa. Älä puutu
pistokkeen.
tai anna kenenkään muun puuttua
• Säilytä väkevät alkoholijuomat tiukasti
jääkaapin huoltoon ilmoittamatta
suljettuna pystyasennossa.
valtuutettuun huoltoon.
• Älä säilytä jääkaapissa suihkepulloja,
• Tuotteet joissa on pakastusosasto: Älä
jotka sisältävät syttyviä ja räjähtäviä
laita jäätelöä tai jääkuutioita suuhusi heti
aineita.
otettuasi ne pakastinosastosta! (Se voi
aiheuttaa suuhun paleltuman.)
• Älä käytä sulatusprosessin
nopeuttamiseen mekaanisia tai muita
• Tuotteet joissa on pakastusosasto:
keinoja, joita valmistaja ei suosittele.
Älä laita pullotettuja tai tölkitettyjä
nesteitä pakastinosastoon. Ne voivat
• Tätä laitetta ei ole tarkoitettu sellaisten
pakastettaessa särkyä.
henkilöiden (lapset mukaan lukien)
5
FI

käytettäväksi, joilla on heikentyneet
Älä kosketa pistoketta märin käsin, kun
fyysiset, aistimelliset tai henkiset kyvyt
liität tuotteen.
tai joilta puuttuu kokemusta ja tietoa,
jollei heidän turvallisuudestaan vastaava
henkilö valvo heitä ja opasta heitä
laitteen käytössä.
• Älä käytä rikkoutunutta jääkaappia.
Jos epäilet vikaa, ota yhteys
huoltoedustajaan.
• Jääkaapin sähköturvallisuus taataan
vain, jos kodin maadoitusjärjestelmä on
standardien mukainen.
• Älä kytke jääkaappia pistorasiaan, jos
• Laitteen altistaminen sateelle, lumelle,
sähköliitäntä on löysä.
auringolle ja tuulelle on vaarallista
• Vettä ei saa turvallisuuden vuoksi
sähköturvallisuuden kannalta.
koskaan suihkuttaa suoraan tuotteen
• Ota yhteys valtuutettuun huoltoon, jos
sisä- tai ulko-osiin.
sähköjohto on vahingoittunut, jotta
• Älä suihkuta lähellä jääkaappia syttyviä
vältetään vaarat.
aineita, kuten propaanikaasua, sillä se
• Älä koskaan liitä jääkaappia pistorasiaan
aiheuttaa tulipalo- ja räjähdysvaaran.
asennuksen aikana. Se voi aiheuttaa
• Älä aseta vettä sisältäviä astioita
vaaran, joka voi johtaa kuolemaan tai
jääkaapin päälle, sillä sellainen voi
vakavaan vammaan.
aiheuttaa sähköiskun tai tulipalon.
• Tämä jääkaappi on tarkoitettu
• Älä täytä jääkaappia liian suurella
pelkästään elintarvikkeiden säilytykseen.
elintarvikemäärällä. Jos jääkaappi on
Sitä ei saa käyttää mihinkään muihin
ylikuormitettu, se saattaa kaatua ja
tarkoituksiin.
vahingoittaa sinua, ja rikkoa jääkaapin
• Tekniset tiedot sisältävä tyyppikilpi
ovea avattaessa. Älä aseta esineitä
sijaitsee jääkaapin sisällä vasemmalla
jääkaapin päälle, sillä ne saattavat
seinällä.
pudota jääkaapin ovea avatessa tai
sulkiessa.
• Älä liitä jääkaappia
sähkönsäästöjärjestelmiin. Ne voivat
• Sellaisia tuotteita, jotka vaativat tarkan
vahingoittaa jääkaappia.
lämpötilan säädön (esim. rokotteet,
lämpöherkät lääkkeet, tieteellinen
• Jos jääkaapissa palaa sininen valo, älä
materiaali jne.), ei tule säilyttää
katso sitä optisilla laitteilla.
jääkaapissa.
• Odota käsinohjattavalla jääkaapilla
• Jos jääkaappia ei käytetä pidempään
vähintään 5 minuuttia ennen jääkaapin
aikaan, se on irrotettava verkkovirrasta.
käynnistämistä virtakatkon jälkeen.
Mahdollinen ongelma sähköjohdossa
• Tämä käyttöopas tulee luovuttaa
saattaa aiheuttaa tulipalon.
uudelle omistajalle tuotteen mukana, jos
tuote vaihtaa omistajaa.
• Vältä vahingoittamasta virtajohtoa, kun
siirrät jääkaappia. Johdon taivuttaminen
saattaa aiheuttaa tulipalon. Älä sijoita
painavia esineitä sähköjohdon päälle.
6
FI

• Sähköpistokkeen kärki on puhdistettava
Ohita tämä varoitus, jos laitteen
säännöllisesti. Se voi muuten aiheuttaa
kylmäjärjestelmä sisältää R134a-
tulipalon.
kylmäainetta.
• Sähköpistokkeen kärki on puhdistettava
Laitteessa käytetyn kaasun tyyppi
säännöllisesti kuivalla liinalla. Se voi
on ilmoitettu jääkaapin sisäpuolella
muuten aiheuttaa tulipalon.
vasemmalla seinällä olevassa
tyyppikilvessä.
• Jääkaappi saattaa siirtyä, jos
säädettäviä jalkoja ei ole kiinnitetty
Älä hävitä laitetta polttamalla.
oikein lattiaan. Säädettävien jalkojen
kiinnittäminen lattiaan oikein voi estää
Energian säästötoimet
jääkaappia siirtymästä.
• Älä jätä jääkaapin ovea auki pitkäksi
• Kun kannat jääkaappia, älä pidä kiinni
aikaa.
sen ovenkahvasta. Se saattaa silloin
• Älä laita lämpimiä ruokia tai juomia
särkyä.
jääkaappiin.
• Kun laite täytyy sijoittaa toisen jääkaapin
• Älä ylikuormita jääkaappia niin, että
tai pakastimen viereen, laitteiden välisen
ilman kierto kaapin sisällä estyy.
etäisyyden tulee olla vähintään 8 cm.
• Älä asenna jääkaappia suoraan
Muuten vastakkaiset seinät saattavat
auringonpaisteeseen tai lähelle
härmistyä.
lämmönlähteitä, kuten uunit,
astianpesukoneet tai lämpöpatterit.
Laitteet, joissa on
• Pidä huoli, että säilytät elintarvikkeita
vesiautomaatti
suljetuissa astioissa.
Vesijohdon paineen tulee olla vähintään
• Tuotteet joissa on pakastusosasto:
1 bar. Vesijohdon paineen tulee olla
voit säilyttää pakastimessa
enintään 8 bar.
mahdollisimman paljon elintarvikkeita,
• Käytä vain juomavettä.
kun irrotat pakastimen hyllyn tai
lokeron. Jääkaapissa ilmoitetut
energiankulutusarviot on määritetty
Lasten turvallisuus
maksimitäytöllä irrottamalla jääkaapin
• Jos ovessa on lukko, avain tulee pitää
hylly tai lokero. Vaaraa ei ole
lasten ulottumattomissa.
käytettäessä hyllyä tai vetolaatikkoa
• Lapsia tulee valvoa, jotta he eivät pääse
pakastettavien elintarvikkeiden mukaan.
leikkimään laitteella.
• Pakastetun ruoan sulattaminen
jääkaappiosastossa säästää sekä
HCA-varoitus
energiaa että säilyttää ruoan laadun.
Jos laite on varustettu
jäähdytysjärjestelmällä, joka sisältää
R600a-kylmäainetta:
Tämä kaasu on syttyvää. Varo siksi
vahingoittamasta jäähdytysjärjestelmää
ja putkistoa käytön ja kuljetuksen
aikana. Pidä laite erossa mahdollisista
tulenlähteistä, jotka saattavat sytyttää
sen tuleen. Tuuleta huone, johon laite on
sijoitettu.
7
FI

Suositukset
tuoreruokaosastolle
*VALINNAINEN
• Älä anna elintarvikkeiden joutua
kosketuksiin tuoreruokaosaston
lämpötila-anturin kanssa. Jotta
tuoreruokaosaston lämpötila pysyy
säilytykselle sopivana, anturia ei saa
tukkia elintarvikkeilla.
• Älä laita kuumaa ruokaa laitteeseen.
8
FI
MILK
temperature
juice
food
sensor
temperature
etc.
sensor
MILK
temperature
juice
sensor
food
temperature
etc.
sensor

3 Asennus
4. Liitä jääkaapin virtajohto
C Muista, että valmistaja ei ole vastuussa,
seinäpistorasiaan. Kun ovi avataan,
jos käyttöoppaassa annettuja tietoja ei
kyseisen osaston sisävalo syttyy.
noudateta.
5. Kuulet ääntä, kun kompressori
Jääkaapin kuljetuksessa
käynnistyy. Jäähdytysjärjestelmään
huomioitavat asiat
suljetut nesteet ja kaasut voivat myös
1. Jääkaappi on aina tyhjennettävä ja
aiheuttaa jonkin verran ääntä silloinkin,
puhdistettava ennen kuljetusta.
kun kompressori ei ole käynnissä. Se
2. Jääkaapin hyllyt, lisävarusteet,
on aivan normaalia.
vihanneslokerot jne. on kiinnitettävä
paikoilleen lujasti teipillä niiden
suojaamiseksi tärinältä ennen
uudelleenpakkausta.
3. Pakkaus on sidottava vahvoilla teipeillä
ja naruilla ja pakkaukseen painettuja
kuljetusohjeita on noudatettava.
C Muista aina...
Kaikki kierrätetyt materiaalit ovat
korvaamaton lähde luonnolle ja
kansallisille resursseille.
Jos haluat osallistua pakkausmateriaalien
kierrätykseen, saat lisätietoja
ympäristöosastoilta tai paikallisilta
viranomaisilta.
Ennen jääkaapin käyttöä
6. Jääkaapin etureunat voivat tuntua
Tarkista seuraava ennen kuin alat käyttää
lämpimiltä. Tämä on normaalia. Näiden
jääkaappia:
alueiden on suunniteltu olevan lämpimiä
1. Ovatko jääkaapin sisäpinnat kuivia
kondensaation estämiseksi.
ja kiertääkö ilma vapaasti jääkaapin
Sähköliitännät
takana?
2. Puhdista jääkaapin sisäpinnat, kuten
Liitä jääkaappi maadoitettuun pistorasiaan,
on suositeltu osassa "Ylläpito ja
joka on suojattu riittävän tehokkaalla
puhdistus".
sulakkeella.
3. Aseta kaksi muovikiilaa lauhduttimen
Tärkeää:
lankojen väliin kuten seuraavassa
B Liitännän on oltava kansallisten
kuvassa. Muovikiilat varmistavat
säädösten mukainen.
vaadittavan etäisyyden jääkaapin ja
B Virtakaapelin pistokkeen on oltava
seinän välillä ilman kierron takaamiseksi.
helposti saatavilla asennuksen jälkeen.
(Kuva on vain esimerkki eikä vastaa
B Jännite ja sallittu sulakesuojaus on
tuotetta täsmällisesti.)
määritettu osassa ”Tekniset tiedot”.
9
FI

B Määritetyn jännitteen on oltava sama
A Jos oviaukko jääkaapin
kuin sähköverkolla.
asennushuoneeseen ei ole tarpeeksi
B Liitäntään ei saa käyttää jatkokaapeleita
leveä, soita valtuutettuun huoltoon
tai haaroitusrasioita.
ja pyydä heitä irrottamaan jääkaapin
ovet, jolloin se saattaa mahtua ovesta
B Vahingoittunut virtakaapeli on jätettävä
sivuttain.
pätevän sähköteknikon vaihdettavaksi.
1. Asenna jääkaappi paikkaan, jossa sitä
B Tuotetta ei saa käyttää ennen kuin se
on helppo käyttää.
on korjattu! Se aiheuttaa sähköiskun
vaaran!
2. Pidä jääkaappi etäällä
lämmönlähteistä, kosteista paikoista ja
Pakkauksen hävittäminen
suoralta auringonpaisteelta.
A
Pakkausmateriaali voi olla lapsille
3. Jääkaapin ympärillä on oltavaa tilaa
vaarallista. Pidä pakkausmateriaali
kunnolliselle tuuletukselle, jotta se toimisi
lasten ulottumattomissa tai hävitä se
tehokkaasti. Jos jääkaappi asetetaan
lajittelemalla jätteidenhävitysohjeiden
seinän syvennykseen, väliä kattoon ja
mukaisesti. Älä hävitä
seiniin on jäätävä vähintään 5 cm.
pakkausmateriaalia kotitalousjätteen
Jos lattia on päällystetty matolla,
mukana.
jääkaapin on oltava koholla lattiasta
Jääkaapin pakkaus on valmistettu
vähintään 2,5 cm.
kierrätettävistä materiaaleista.
4. Aseta jääkaappi tasaisella lattiapinnalle
Vanhan jääkaapin
tärinän ehkäisemiseksi.
hävittäminen
5. Älä säilytä jääkaappia tilassa, jonka
Hävitä vanha jääkaappi aiheuttamatta
lämpötila on alle 10 °C.
vahinkoa ympäristölle.
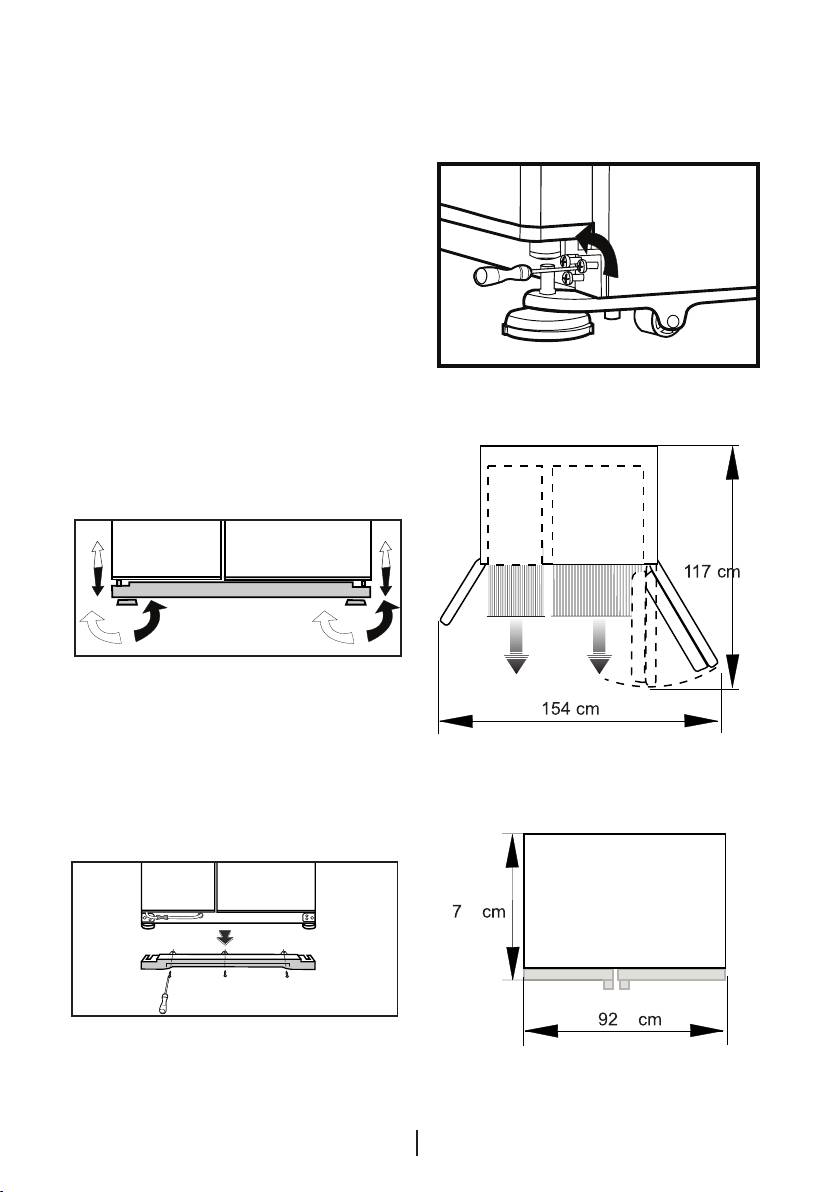
Lattiatasapainon säätö
A Voit ottaa yhteyden valtuutettuun
Jos jääkaappi on epätasapainossa
jälleenmyyjään tai kunnalliseen
Voit tasapainoittaa jääkaapin kiertämällä
jätehuoltokeskukseen saadaksesi
etujalkoja, kuten kuvassa. (Katso
ohjeet jääkaapin hävittämisestä.
Kuva A) Kulma, jossa jalka sijaitsee,
A Ennen kuin hävität jääkaapin, leikkaa
laskeutuu, kun jalkaa kierretään mustan
virtapistoke irti, ja jos ovessa on lukitus,
nuolen suuntaisesti ja nousee, kun sitä
tee siitä toimintakyvytön, jottei siitä
kierretään vastakkaiseen suuntaan.
koidu vaaraa lapsille.
Toimenpidettä helpottaa, jos joku toinen
Sijoittaminen ja asennus
autaa nostamalla hieman jääkaappia.
B
Varoitus: Älä koskaan liitä jääkaappia
pistorasiaan asennuksen aikana. Se
voi aiheuttaa vaaran, joka voi johtaa
kuolemaan tai vakavaan vammaan.
10
FI

