Xylem FC FCT (Single & Twin Version) – page 4
Manual for Xylem FC FCT (Single & Twin Version)

it-en-fr-de-es-pt-nl-sv-fi-da-pl-ru-ar-hu-no-tr
9. Tabelle e disegni - Tables and drawings - Tableaux et dessins - Tabellen und
Zeichnungen - Tablas y dibujos - Tabelas e desenhos - Tabellen en tekenin-
gen - Tabeller och ritningar - Taulukot ja kaaviot - Tabeller og tegninger -
Tabele i rysunki - алицы и чертежи - - Ábrák - Tabeller og
tegninger - Tablolar ve çizimler
* Parti di ricambio consigliate - Recommended spare parts - Pièces de rechange conseillées - Empfohlene
Ersatzteile - Piezas de repuesto aconsejadas - Peças de reposição aconselhadas - Geadviseerde reserve-
onderdelen - Rekommenderade reservdelar - Suositellut varaosat - Anbefalede reservedele - Zalecane
cz´Êci zamienne - екомендуемые запасные части - - Ajánlott cserealkatrészek -
Anbefalte reservedeler - Tavsiye edilen yedek parçalar
61

it-en-fr-de-es-pt-nl-sv-fi-da-pl-ru-ar-hu-no-tr
FCE Serie - Series - Série - Baureihe - Serie - Série - Serie- Serie - Sarja - Serie - Seria - epии - -
Sorozat - Serien - Serisi
FIG. 3
ABB.
KUVA
RYS.
.
ÁBRA
ŞEKİL
62

it-en-fr-de-es-pt-nl-sv-fi-da-pl-ru-ar-hu-no-tr
FCE
Nomenclatura delle parti di ricambio - Spare parts list - Nomenclature des pièces de rechange -
Ersatzteile-Bezeichnung - Lista de las piezas de repuesto - Lista das peças de reposição - Lijst van
de reserveonderdelen - Reservdelslista - Varaosaluettelo - Reservedelsliste - Lista cz´Êci zamiennych -
еречень запасных частей - - Cserealkatrészek jegyzéke - Navneliste reservedeler
- Yedek parçaların adlandırılması
N. Descrizione - Description - Description - Teilebeschreibung - Descripción - Descrição - Beschrijving
- Beskrivning - Kuvaus - Beskrivelse - Opis -
Описание - - Leírás - Beskrivelse - Tanım
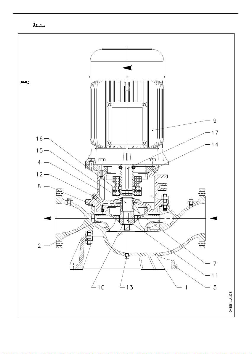
1 Corpo pompa con tappi e anello distanziatore (ove previsto) - Pump body with plugs and spacer ring (where
required) - Corps de pompe avec bouchons et anneau entretoise (quand il est prévu) - Pumpengehäuse mit
Stopfen und Distanzring (sofern vorgesehen) - Caja bomba con tapones y anillo distanciador (si previsto) - Corpo
da bomba com tampões e anel espaçador (onde previsto) - Pomplichaam met stoppen en afstandsring (indien
voorzien) - Pumphus med pluggar och avståndsbricka (om den finns) - Pumpun runko tulpilla ja välirenkaalla (jos
asennettu) - Pumpehus med propper og tykkelsesring (hvis monteret) - Korpus pompy z korkami i pierÊcieniem
dystansowym (tam gdzie przewidziane) - орпус насоса с заглушками и прокладочным кольцом (где
предусмотрено) - - Szivattyú ház dugókkal és távköztartó
gyırıvel (ahol szükséges) - Pumpehus med plugger og avstandsring (hvor dette finnes) - Tapa ve ara halkası ile
donatılmış pompa gövdesi (öngörüldüğü hallerde)
*2 Girante - Impeller - Roue - Laufrad - Rueda de álabes - Impulsor - Waaier - Pumphjul - Juoksupyörä - Pumpehjul
- Wirnik - рыльчатка - - Járókerék - Skovlhjul - Çark
3 Disco portatenuta con anello di rasamento - Seal housing with wear ring - Disque d’étanchéité avec anneau
d’usure - Dichtungsscheibe mit Ausgleichsring - Disco de alojamiento retén con anillo de desgaste - Disco porta-
vedante com anel compensador de desgaste - Dichtingssteunplaat met schraapring - Tätningshållarskiva med
mellanläggsbricka - Tiivisteen kannatuslevy kulumisrenkaalla - Pakningsskive med afstandsring - Os∏ona uszczel-
nienia z pierÊcieniem szczelinowym - орпус сальника с компенсационным кольцом -
- Tömítéstartó tárcsa kopógyırıvel - Tetningsholderplate med slitering -
Aşınma halkası ile sızdırmazlık elemanı diski
4 Lanterna - Adapter - Lanterne - Antriebslaterne - Adaptador - Adaptador - Motorsteun - Adapter - Sovitin -
Adapter - ¸àcznik - ереходная втулка - - Adapter - Tilslutningsstykke - Adaptör
*5 Anelli di rasamento - Wear rings - Anneaux d’usure - Ausgleichsring - Anillos de desgaste - Anéis compensado-
res de desgaste - Schraapringen - Mellanläggsbrickor - Kulumisrenkaat - Afstandsringe - PierÊcieƒ szczelinowy
- омпенсационное кольцо - - Kopógyırık - Sliteringer - Aşınma halkaları
*7 Tenuta meccanica e guarnizione OR - Mechanical seal and O-Ring - Garniture mécanique et joint torique -
Gleitringdichtung und O-Ring - Retén mecánico y aro tórico - Vedante mecânico e vedação OR - Mechanische
dichting en O-ring - Mekanisk tätning och O-ring - Mekaaninen tiiviste ja O-rengas - Mekanisk pakning og O-ring
- Uszczelnienie mechaniczne i “O” Ring - еханическое уплотнение и уплотнительное кольцо -
- Tengely tömítés és OR betét - Mekanisk tetning og O-ring - Mekanik salmastra ve O-Ring
9 Motore completo - Complete motor - Moteur complet - Kompletter Motor - Motor completo - Motor completo
- Complete motor - Komplett motor - Täydellinen moottori - Komplet motor - Kompletny Silnik - вигатель в
сборе - - Komplett motor - Hele motoren - Komple motor
11 Dado fissaggio girante, rosetta e linguetta - Impeller lock nut, washer and key - Écrou de fixation roue, rondelle
et clavette - Feststellmutter des Laufrads, Unterlegscheibe und Paßfeder - Tuerca de fijación rueda de álabes,
arandela y lengüeta - Porca de fixação do impulsor, anilha e lingueta - Bevestigingsmoer waaier, onderlegring en
spie - Låsmutter, låsbricka och kil för pumphjul - Juoksupyörän kiinnitysmutteri, välirengas ja kiila - Møtrik til
fastgørelse af pumpehjul, spændeskive og kile - Nakr´tka blokujàca wirnik, podk∏adka i klin - репежная
гайка крыльчатки, шайба и призматическая шпонка - - Járókerék rögzítŒ
csavaranya, alátét és ék - Festemutter skovlhjul, underlagsskive og splint - Çark tespit somunu, rondela ve çıkıntı
12 Valvola di sfiato e tappi - Air valve and plugs - Clapet de purge et bouchons - Entlüftungsventil und Stopfen -
Válvula de purga y tapones - Válvula de respiro e tampões - Ontluchtingsklep en stoppen - Avluftningsventil och
pluggar - Ilmausventtiili ja tulpat - Udluftningsventil og propper - Zawór odpowietrzajàcy i korki -
оздуховыпускной клапан и заглушки - - LégtelenítŒszelep és dugók - Lufteventil og propper
- Hava tahliye vanası ve tapalar
63

it-en-fr-de-es-pt-nl-sv-fi-da-pl-ru-ar-hu-no-tr
FCE4 Serie - Series - Série - Baureihe - Serie - Série - Serie- Serie - Sarja - Serie - Seria - epии - -
Sorozat - Serien - Serisi
FIG. 4
ABB.
KUVA
RYS.
.
ÁBRA
ŞEKİL
64

it-en-fr-de-es-pt-nl-sv-fi-da-pl-ru-ar-hu-no-tr
FCE4
Nomenclatura delle parti di ricambio - Spare parts list - Nomenclature des pièces de rechange -
Ersatzteile-Bezeichnung - Lista de las piezas de repuesto - Lista das peças de reposição - Lijst van
de reserveonderdelen - Reservdelslista - Varaosaluettelo - Reservedelsliste - Lista cz´Êci zamiennych -
еречень запасных частей - - Cserealkatrészek jegyzéke - Navneliste reservedeler
-
Yedek parçaların adlandırılması
N. Descrizione - Description - Description - Teilebeschreibung - Descripción - Descrição - Beschrijving
- Beskrivning - Kuvaus - Beskrivelse - Opis - Описание -
- Leírás - Beskrivelse - Yedek parça-
ların adlandırılması - Tanım
1 Corpo pompa con tappi e anello distanziatore (ove previsto) - Pump body with plugs and spacer ring (where
required) - Corps de pompe avec bouchons et anneau entretoise (quand il est prévu). - Pumpengehäuse mit
Stopfen und Distanzring (sofern vorgesehen) - Caja bomba con tapones y anillo distanciador (si previsto) - Corpo
da bomba com tampões e anel espaçador (onde previsto) - Pomplichaam met stoppen en afstandsring (indien
voorzien) - Pumphus med pluggar och avståndsbricka (om den finns) - Pumpun runko tulpilla ja välirenkaalla (jos
asennettu) - Pumpehus med propper og tykkelsesring (hvis monteret) - Korpus pompy z korkami i pierÊcieniem
dystansowym (tam gdzie przewidziane) - орпус насоса с заглушками и прокладочным кольцом (где
предусмотрено) - - Szivattyú ház dugókkal és távköztartó
gyırıvel (ahol szükséges) - Pumpehus med propper og avstandsring (hvor dette finnes) - Tapa ve ara halkası ile
donatılmış pompa gövdesi (öngörüldüğü hallerde)
*2 Girante - Impeller - Roue - Laufrad - Rueda de álabes - Impulsor - Waaier - Pumphjul - Juoksupyörä - Pumpehjul
- Wirnik - рыльчатка - - Járókerék - Skovlhjul - Çark
3 Disco portatenuta con anello di rasamento - Seal housing with wear ring - Disque d’étanchéité avec anneau
d’usure - Dichtungsscheibe mit Ausgleichsring - Disco de alojamiento retén con anillo de desgaste - Disco porta-
vedante com anel compensador de desgaste - Dichtingssteunplaat met schraapring - Tätningshållarskiva med
mellanläggsbricka - Tiivisteen kannatuslevy kulumisrenkaalla - Pakningsskive med afstandsring - Os∏ona uszczel-
nienia z pierÊcieniem szczelinowym - орпус сальника с компенсационным кольцом -
- Tömítéstartó tárcsa kopógyırıvel - Tetningsholderplate med slitering - Aşınma hal-
kası ile sızdırmazlık elemanı diski
4 Lanterna - Adapter - Lanterne - Antriebslaterne - Adaptador - Adaptador - Motorsteun - Adapter - Sovitin -
Adapter - ¸àcznik - ереходная втулка - - Adapter - Tilslutningsstykke - Adaptör
*5 Anelli di rasamento - Wear rings - Anneaux d’usure - Ausgleichsring - Anillos de desgaste - Anéis compensado-
res de desgaste - Schraapringen - Mellanläggsbrickor - Kulumisrenkaat - Afstandsringe - PierÊcieƒ szczelinowy
- омпенсационное кольцо - - Kopógyırık - Sliteringer - Aşınma halkaları
*7 Tenuta meccanica e guarnizione OR - Mechanical seal and O-Ring - Garniture mécanique et joint torique -
Gleitringdichtung und O-Ring - Retén mecánico y aro tórico - Vedante mecânico e vedação OR - Mechanische
dichting en O-ring - Mekanisk tätning och O-ring - Mekaaninen tiiviste ja O-rengas - Mekanisk pakning og O-ring
- Uszczelnienie mechaniczne i “O” Ring - еханическое уплотнение и уплотнительное кольцо -
- Tengely tömítés és OR betét - Mekanisk tetning og O-ring - Mekanik salmastra ve O-Ring
9 Motore completo - Complete motor - Moteur complet - Kompletter Motor - Motor completo - Motor completo
- Complete motor - Komplett motor - Täydellinen moottori - Komplet motor - Kompletny Silnik - вигатель в
сборе - - Komplett motor - Hele motoren - Komple motor
10 Giunto,dado fissaggio girante, rosetta e linguetta - Coupling, impeller lock nut, washer and key - Manchon, écrou de
fixation roue, rondelle et clavette - Kupplung, Feststellmutter des Laufrads, Unterlegscheibe und Passfeder - Junta,
tuerca de fijación rueda de álabes, arandela y lengüeta - Junta, porca de fixação do impulsor, anilha e lingueta -
Koppeling, bevestigingsmoer waaier, onderlegring en spie - Koppling, låsmutter, låsbricka och kil för pumphjul -
Liitos, juoksupyörän kiinnitysmutteri, välirengas ja kiila - Samling, møtrik til fastgørelse af pumpehjul, spændeskive og
kile - Sprz´g∏o, nakr´tka blokujàca wirnika, podk∏adka, klin - уфта, крепежная гайка крыльчатки, шайба и
призматическая шпонка - - Csatlakozódarab, járókerék rögzítŒ csavaranya,
alátét és ék - Kopling, festemutter skovlhjul, underlagsskive og splint - Manşon, çark tespit somunu, rondela ve çıkıntı
11 Dado fissaggio girante, rosetta e linguetta - Impeller lock nut, washer and key - Écrou de fixation roue, rondelle
et clavette - Feststellmutter des Laufrads, Unterlegscheibe und Paßfeder - Tuerca de fijación rueda de álabes,
arandela y lengüeta - Porca de fixação do impulsor, anilha e lingueta - Bevestigingsmoer waaier, onderlegring en
spie - Låsmutter, låsbricka och kil för pumphjul - Juoksupyörän kiinnitysmutteri, välirengas ja kiila - Møtrik til
fastgørelse af pumpehjul, spændeskive og kile - Nakr´tka blokujàca wirnik, podk∏adka i klin - репежная
гайка крыльчатки, шайба и призматическая шпонка - - Járókerék rögzítŒ
csavaranya, alátét és ék - Festemutter skovlhjul, underlagsskive og splint - Çark tespit somunu, rondela ve çıkıntı
12 Valvola di sfiato e tappi - Air valve and plugs - Clapet de purge et bouchons - Entlüftungsventil und Stopfen - Válvula de
purga y tapones - Válvula de respiro e tampões - Ontluchtingsklep en stoppen - Avluftningsventil och pluggar -
Ilmausventtiili ja tulpat - Udluftningsventil og propper - Zawór odpowietrzajàcy i korki - оздуховыпускной клапан и
заглушки - - LégtelenítŒszelep és dugók - Lufteventil og propper - Hava tahliye vanası ve tapalar
65

it-en-fr-de-es-pt-nl-sv-fi-da-pl-ru-ar-hu-no-tr
FCS - FCS4 (40,50,65,80,100) Serie - Series - Série - Baureihe - Serie - Série - Serie- Serie - Sarja -
Serie - Seria - epии - - Sorozat - Seriene - Serisi
FIG. 5
ABB.
KUVA
RYS.
.
ÁBRA
ŞEKİL
66

it-en-fr-de-es-pt-nl-sv-fi-da-pl-ru-ar-hu-no-tr
FCS - FCS4 (40,50,65,80,100)
Nomenclatura delle parti di ricambio - Spare parts list - Nomenclature des pièces de rechange -
Ersatzteile-Bezeichnung - Lista de las piezas de repuesto - Lista das peças de reposição - Lijst van
de reserveonderdelen - Reservdelslista - Varaosaluettelo - Reservedelsliste - Lista cz´Êci zamiennych -
еречень запасных частей - - Cserealkatrészek jegyzéke - Navneliste reservedeler
- Yedek parçaların adlandırılması
N. Descrizione - Description - Description - Teilebeschreibung - Descripción - Descrição - Beschrijving
- Beskrivning - Kuvaus - Beskrivelse - Opis - Описание -
- Leírás - Beskrivelse - Tanım
1 Corpo pompa con tappi e anello distanziatore (ove previsto) - Pump body with plugs and spacer ring (where
required) - Corps de pompe avec bouchons et anneau entretoise (quand il est prévu). - Pumpengehäuse mit
Stopfen und Distanzring (sofern vorgesehen) - Caja bomba con tapones y anillo distanciador (si previsto) - Corpo
da bomba com tampões e anel espaçador (onde previsto) - Pomplichaam met stoppen en afstandsring (indien
aanwezig) - Pumphus med pluggar och avståndsbricka (om den finns) - Pumpun runko tulpilla ja välirenkaalla (jos
asennettu) - Pumpehus med propper og tykkelsesring (hvis monteret) - Korpus pompy z korkami i pierÊcieniem
dystansowym (tam gdzie przewidziane) - орпус насоса с заглушками и прокладочным кольцом (где
предусмотрено) - - Szivattyú ház dugókkal és távköztartó
gyırıvel (ahol elŒirányozták) - Pumpehus med propper og avstandsring (hvor dette finnes) - Tapa ve ara hal-
kası ile donatılmış pompa gövdesi (öngörüldüğü hallerde)
*2 Girante - Impeller - Roue - Laufrad - Rueda de álabes - Impulsor - Waaier - Pumphjul - Juoksupyörä - Pumpehjul
- Wirnik - рыльчатка - - Járókerék - Skovlhjul - Çark
3
Disco portatenuta con anello di rasamento - Seal housing with wear ring - Disque d’étanchéité avec anneau d’usu-
re - Dichtungsscheibe mit Ausgleichsring - Disco de alojamiento retén con anillo de desgaste - Disco porta-vedante
com anel compensador de desgaste - Dichtingssteunplaat met schraapring - Tätningshållarskiva med mellanlägg-
sbricka - Tiivisteen kannatuslevy kulumisrenkaalla - Pakningsskive med afstandsring - Os∏ona uszczelnienia z
pierÊcieniem szczelinowym - орпус сальника с компенсационным кольцом -
-
Tömítéstartó tárcsa kopógyırıvel - Tetningsholderplate med slitering - Aşınma halkası ile sızdırmazlık elemanı diski
4
Lanterna - Adapter - Lanterne - Antriebslaterne - Adaptador - Adaptador - Motorsteun -Adapter - Sovitin - Adapter -
¸àcznik - ереходная втулка -
- Adapter - Tilslutningsstykke - Adaptör
*5 Anelli di rasamento - Wear rings - Anneaux d’usure - Ausgleichsring - Anillos de desgaste - Anéis compensado-
res de desgaste - Schraapringen - Mellanläggsbrickor - Kulumisrenkaat - Afstandsringe - PierÊcieƒ szczelinowy
- омпенсационные кольца - - Kopógyırık - Sliteringer - Aşınma halkaları
*7
Tenuta meccanica e guarnizione OR - Mechanical seal and O-Ring - Garniture mécanique et joint torique -
Gleitringdichtung und O-Ring - Retén mecánico y aro tórico - Vedante mecânico e vedação OR - Mechanische
dichting en O-ring - Mekanisk tätning och O-ring - Mekaaninen tiiviste ja O-rengas - Mekanisk pakning og O-ring -
Uszczelnienie mechaniczne i “O” Ring - еханическое уплотнение и уплотнительное кольцо -
- Tengely tömítés és OR betét - Mekanisk tetning og O-ring - Mekanik salmastra ve O-Ring
9 Motore - Motor - Moteur - Motor - Motor - Motor - Motor - Motor - Moottori - Motor - Silnik - вигатель -
- Motor - Motor - Motor
10 Giunto,dado fissaggio girante, rosetta e linguetta - Coupling, impeller lock nut, washer and key - Manchon, écrou de
fixation roue, rondelle et clavette - Kupplung, Feststellmutter des Laufrads, Unterlegscheibe und Passfeder - Junta,
tuerca de fijación rueda de álabes, arandela y lengüeta - Junta, porca de fixação do impulsor, anilha e lingueta -
Koppeling, bevestigingsmoer waaier, onderlegring en spie -Koppling, låsmutter, låsbricka och kil för pumphjul - Liitos,
juoksupyörän kiinnitysmutteri, välirengas ja kiila - Samling, møtrik til fastgørelse af pumpehjul, spændeskive og kile -
Sprz´g∏o, nakr´tka blokujàca wirnika, podk∏adka, klin - уфта, крепежная гайка крыльчатки, шайба и
призматическая шпонка - - Csatlakozódarab, járókerék rögzítŒ csavaranya,
alátét és ék - Kopling, festemutter skovlhjul, underlagsskive og splint - Manşon, çark tespit somunu, rondela ve çıkıntı
11 Dado fissaggio girante, rosetta e linguetta - Impeller lock nut, washer and key - Écrou de fixation roue, rondelle
et clavette - Feststellmutter des Laufrads, Unterlegscheibe und Passfeder - Tuerca de fijación rueda de álabes,
arandela y lengüeta - Porca de fixação do impulsor, anilha e lingueta - Bevestigingsmoer waaier, onderlegring en
spie - Låsmutter, låsbricka och kil för pumphjul - Juoksupyörän kiinnitysmutteri, välirengas ja kiila - Møtrik til
fastgørelse af pumpehjul, spændeskive og kile - Nakr´tka blokujàca wirnika, podk∏adka, klin - репежная
гайка крыльчатки, шайба и призматическая шпонка - - Járókerék rögzítŒ
csavaranya, alátét és ék - Festemutter skovlhjul, underlagsskive og splint - Çark tespit somunu, rondela ve çıkıntı
12 Valvola di sfiato e tappi - Air valve and plugs - Clapet de purge et bouchons - Entlüftungsventil und Stopfen - Válvula de
purga y tapones - Válvula de respiro e tampões - Ontluchtingsklep en stoppen - Avluftningsventil och pluggar -
Ilmausventtiili ja tulpat - Udluftningsventil og propper - Zawór odpowietrzajàcy i korki - оздуховыпускной клапан и
заглушки - - LégtelenítŒszelep és dugók - Lufteventil og propper - Hava tahliye vanası ve tapalar
14 Raccordo motore - Motor connector - Raccord de moteur - Steckwelle - Racor motor - Conexão motor -
Motorverbindingsstuk - Motorfäste - Moottoriliitos - Motorkobling - ¸àcznik silnika - оединительная муфта
двигателя - - Motor csatlakozóidom - Forbindelsesstykke motor - Motor bağlantısı
67

it-en-fr-de-es-pt-nl-sv-fi-da-pl-ru-ar-hu-no-tr
FCS4 (125, 150) Serie - Series - Série - Baureihe - Serie - Série - Serie- Serie - Sarja - Serie - Seria -
epии - - Sorozat - Serien - Serisi
FIG. 6
ABB.
KUVA
RYS.
.
ÁBRA
ŞEKİL
68

it-en-fr-de-es-pt-nl-sv-fi-da-pl-ru-ar-hu-no-tr
FCS4 (125, 150)
Nomenclatura delle parti di ricambio - Spare parts list - Nomenclature des pièces de rechange -
Ersatzteile-Bezeichnung - Lista de las piezas de repuesto - Lista das peças de reposição - Lijst van
de reserveonderdelen - Reservdelslista - Varaosaluettelo - Reservedelsliste - Lista cz´Êci zamiennych -
еречень запасных частей - - Cserealkatrészek jegyzéke - Navneliste reservedeler
- Yedek parçaların adlandırılması
N. Descrizione - Description - Description - Teilebeschreibung - Descripción - Descrição - Beschrijving
- Beskrivning - Kuvaus - Beskrivelse - Opis - Описание -
- Leírás - Beskrivelse - Tanım
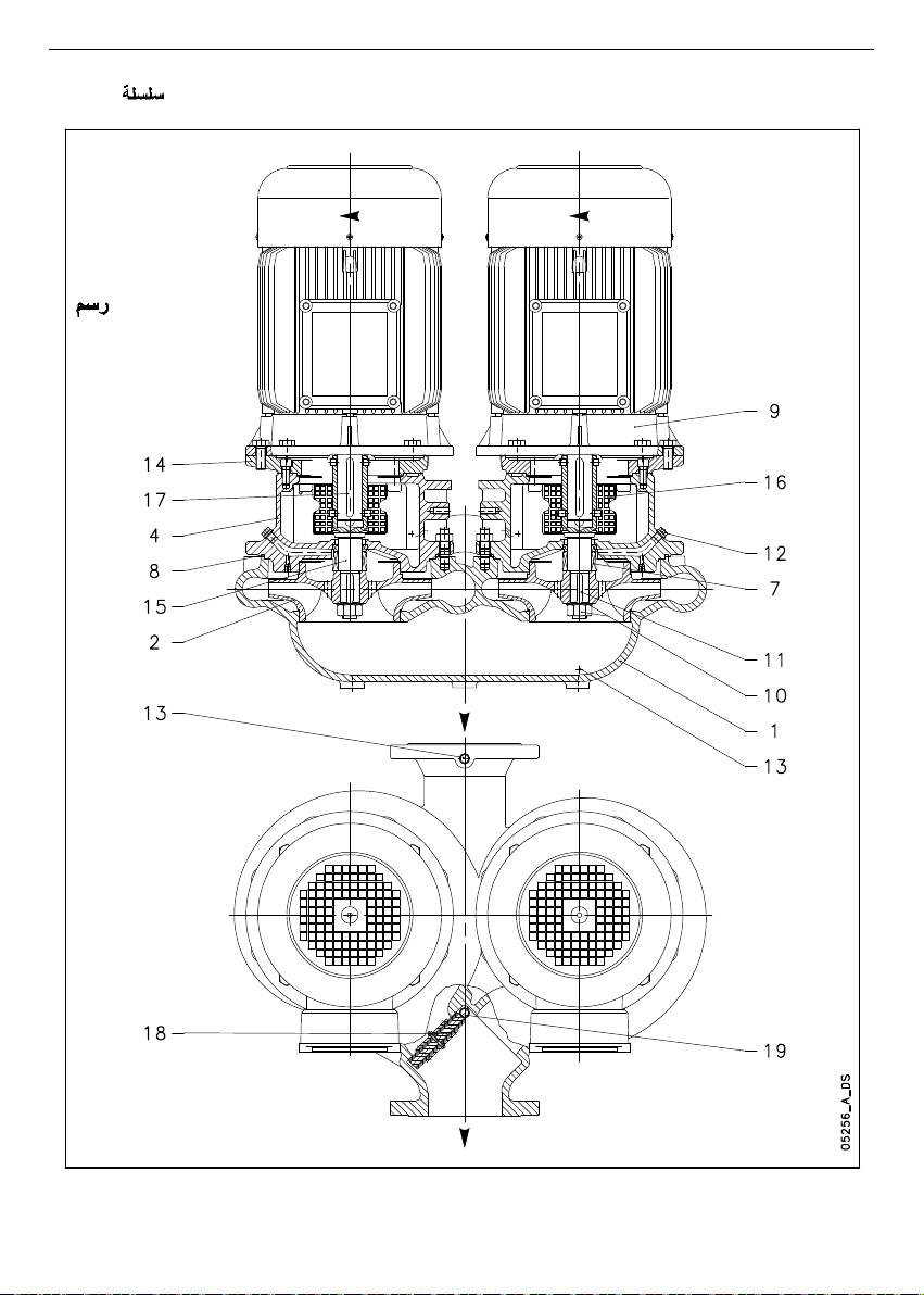
1 Corpo pompa - Pump body - Corps de pompe - Pumpengehäuse - Caja bomba - Corpo da bomba -
Pomplichaam - Pumphus - Pumpun runko - Pumpehus - Korpus pompy - орпус насоса - -
Szivattyú ház - Pumpehus - Pompa gövdesi
*2 Girante - Impeller - Roue - Laufrad - Rueda de álabes - Impulsor - Waaier - Pumphjul - Juoksupyörä - Pumpehjul
- Wirnik - рыльчатка - - Járókerék - Skovlhjul - Çark
4 Lanterna - Adapter - Lanterne - Laterne - Adaptador - Adaptador - Motorsteun - Adapter - Sovitin - Adapter -
¸àcznik - ереходная втулка - - Adapter - Tilslutningsstykke - Adaptör
*7 Tenuta meccanica - Mechanical seal - Garniture mécanique - Gleitringdichtung - Retén mecánico - Vedante mecâ-
nico - Mechanische dichting - Mekanisk tätning - Mekaaninen tiiviste - Mekanisk pakning - Uszczelnienie mecha-
niczne - еханическое уплотнение - - Tengely tömítés - Mekanisk tetning - Mekanik salmastra
*8 Guarnizione OR - O-Ring - Joint torique - O-Ring - Aro tórico - Vedação OR - O-ring - O-ring - O-rengas - O-
ring - “O” Ring - Уплотнительное кольцо - - OR tömítés - O-ring - O-Ring
*9 Motore - Motor - Moteur - Motor - Motor - Motor - Motor - Motor - Moottori - Motor - Silnik - вигатель -
- Motor - Motor - Motor
10 Dado fissaggio girante e rosetta - Impeller lock nut and washer - Écrou de fixation roue et rondelle -
Feststellmutter des Laufrads und Unterlegscheibe - Tuerca de fijación rueda de álabes y arandela - Porca de fixa-
ção do impulsor e anilha - Bevestigingsmoer waaier en onderlegring - Låsmutter och låsbricka för pumphjul -
Juoksupyörän kiinnitysmutteri ja välirengas - Møtrik til fastgørelse af pumpehjul og spændeskive - Nakr´tka blo-
kujàca wirnik i podk∏adka - уфта, крепежная гайка крыльчатки и шайба - -
Járókerék rögzítŒ csavaranya és alátét - Festemutter skovlhjul og underlagsskive - Çark tespit somunu ve rondela
11 Linguetta - Key - Clavette - Passfeder - Lengüeta - Lingueta - Spie - Kil - Kiila - Kile - Klin - понка - - Ék
- Splint - Çıkıntı
12 Tappo di sfiato - Air bleed plug - Bouchon de purge – Ablassstopfen - Tapón de purga - Tampão de respiro -
Ontluchtingsstop - Avluftningsplugg - Ilmaustulppa - Udluftningsprop - Zawór odpowietrzajàcy -
оздуховыпускная пробка - - LégtelenítŒ dugó - Lufteplugg - Hava boşaltma tapası
13 Tappo di scarico - Drain plug - Bouchon de vidange - Ablassstopfen - Tapón de descarga - Tampão de descar-
ga - Afvoerstop - Avtappningsplugg - Tyhjennystulppa - Dræningsprop - Korek spustowy - ливная пробка -
- LeeresztŒ dugó - Tappeplugg - Boşaltma tapası
14 Raccordo motore - Motor connector - Raccord de moteur - Steckwelle - Racor motor - Conexão motor -
Motorverbindingsstuk - Motorfäste - Moottoriliitos - Motorkobling - ¸àcznik silnika - оединительная муфта
двигателя - - Motor csatlakozóidom - Forbindelsesstykke motor - Motor bağlantısı
15 Giunto - Coupling - Manchon - Kupplung - Junta - Junta - Koppeling - Koppling - Liitos - Samling - Sprz´g∏o -
уфта - - Csatlakozódarab - Kopling - Manşon
16 Protezione giunto - Coupling guard - Protection manchon - Kupplungsschutz - Protección junta - Protecção da
junta - Koppelingsbescherming - Kopplingsskydd - Liitoksen suojus - Beskyttelse til samling - Os∏ona sprz´g∏a
- Ограничитель муфты - - Csatlakozódarab védŒegység - Koplingsbeskyttelse - Manşon koru-
ması
17 Linguetta - Key - Clavette - Passfeder - Lengüeta - Lingueta - Spie - Kil - Kiila - Kile - Klin - понка - - Ék
- Splint - Çıkıntı
69

it-en-fr-de-es-pt-nl-sv-fi-da-pl-ru-ar-hu-no-tr
FCTE Serie - Series - Série - Baureihe - Serie - Série - Serie- Serie - Sarja - Serie - Seria - epии - -
Sorozat - Serien - Serisi
FIG. 7
ABB.
KUVA
RYS.
.
ÁBRA
ŞEKL
70

it-en-fr-de-es-pt-nl-sv-fi-da-pl-ru-ar-hu-no-tr
FCTE
Nomenclatura delle parti di ricambio - Spare parts list - Nomenclature des pièces de rechange -
Ersatzteile-Bezeichnung - Lista de las piezas de repuesto - Lista das peças de reposição - Lijst van
de reserveonderdelen - Reservdelslista - Varaosaluettelo - Reservedelsliste - Lista cz´Êci zamiennych -
еречень запасных частей - - Cserealkatrészek jegyzéke - Navneliste reservedeler
- Yedek parçaların adlandırılması
N. Descrizione - Description - Description - Teilebeschreibung - Descripción - Descrição - Beschrijving
- Beskrivning - Kuvaus - Beskrivelse - Opis - Описание - - Leírás - Beskrivelse - Tanım
1 Corpo pompa con tappi e anello distanziatore (ove previsto) - Pump body with plugs and spacer ring (where
required) - Corps de pompe avec bouchons et anneau entretoise (quand il est prévu). - Pumpengehäuse mit
Stopfen und Distanzring (sofern vorgesehen) - Caja bomba con tapones y anillo distanciador (si previsto) - Corpo
da bomba com tampões e anel espaçador (onde previsto) - Pomplichaam met stoppen en afstandsring (indien
voorzien) - Pumphus med pluggar och avståndsbricka (om den finns)- Pumpun runko tulpilla ja välirenkaalla (jos
asennettu) - Pumpehus med propper og tykkelsesring (hvis monteret) - Korpus pompy z korkami i pierÊcieniem
dystansowym (tam gdzie przewidziane) - орпус насоса с заглушками и прокладочным кольцом (где
предусмотрено) - - Szivattyú ház dugókkal és távköztartó
gyırıvel (ahol szükséges) - Pumpehus med propper og avstandsring (hvor dette finnes) - Tapa ve ara halkası ile
donatılmış pompa gövdesi (öngörüldüğü hallerde)
*2 Girante - Impeller - Roue - Laufrad - Rueda de álabes - Impulsor - Waaier - Pumphjul - Juoksupyörä - Pumpehjul
- Wirnik - рыльчатка - - Járókerék - Skovlhjul - Çark
3 Disco portatenuta con anello di rasamento - Seal housing with wear ring - Disque d’étanchéité avec anneau
d’usure - Dichtungsscheibe mit Ausgleichsring - Disco de alojamiento retén con anillo de desgaste - Disco porta-
vedante com anel compensador de desgaste - Dichtingssteunplaat met schraapring - Tätningshållarskiva med
mellanläggsbricka - Tiivisteen kannatuslevy kulumisrenkaalla - Pakningsskive med afstandsring - Os∏ona uszczel-
nienia z pierÊcieniem szczelinowym - орпус сальника с компенсационным кольцом -
- Tömítéstartó tárcsa kopógyırıvel - Tetningsholderplate med slitering - Aşınma hal-
kası ile sızdırmazlık elemanı diski
4 Lanterna - Adapter - Lanterne - Antriebslaterne - Adaptador - Adaptador - Motorsteun - Adapter - Sovitin -
Adapter - ¸àcznik - ереходная втулка - - Adapter - Tilslutningsstykke - Adaptör
*5 Anelli di rasamento - Wear rings - Anneaux d’usure - Ausgleichsring - Anillos de desgaste - Anéis compensado-
res de desgaste - Schraapringen - Mellanläggsbrickor - Kulumisrenkaat - Afstandsringe - PierÊcieƒ szczelinowy
- омпенсационные кольца - - Kopógyırık - Sliteringer - Aşınma halkaları
*7 Tenuta meccanica e guarnizione OR - Mechanical seal and O-Ring - Garniture mécanique et joint torique -
Gleitringdichtung und O-Ring - Retén mecánico y aro tórico - Vedante mecânico e vedação OR - Mechanische
dichting en O-ring - Mekanisk tätning och O-ring - Mekaaninen tiiviste ja O-rengas - Mekanisk pakning og O-
ring - Uszczelnienie mechaniczne i “O” Ring - еханическое уплотнение и уплотнительное кольцо -
- Tengely tömítés és OR betét - Mekanisk tetning og O-ring - Mekanik salmastra ve O-Ring
9 Motore completo - Complete motor - Moteur complet - Kompletter Motor - Motor completo - Motor completo -
Complete motor - Komplett motor - Täydellinen moottori - Komplet motor - Kompletny Silnik - вигатель в
сборе - - Komplett motor - Hele motoren - Komple motor
11 Dado fissaggio girante, rosetta e linguetta - Impeller lock nut, washer and key - Écrou de fixation roue, rondelle
et clavette - Feststellmutter des Laufrads, Unterlegscheibe und Passfeder - Tuerca de fijación rueda de álabes,
arandela y lengüeta - Porca de fixação do impulsor, anilha e lingueta - Bevestigingsmoer waaier, onderlegring en
spie - Låsmutter, låsbricka och kil för pumphjul - Juoksupyörän kiinnitysmutteri, välirengas ja kiila - Møtrik til
fastgørelse af pumpehjul, spændeskive og kile - Nakr´tka mocujàca wirnika, podk∏adka, klin - репежная
гайка крыльчатки, шайба и призматическая шпонка - - Járókerék rögzítŒ
csavaranya, alátét és ék - Festemutter skovlhjul, underlagsskive og splint - Çark tespit somunu, rondela ve çıkıntı
12 Valvola di sfiato e tappi - Air valve and plugs - Clapet de purge et bouchons - Entlüftungsventil und Stopfen -
Válvula de purga y tapones - Válvula de respiro e tampões - Ontluchtingsklep en stoppen - Avluftningsventil och
pluggar- Ilmausventtiili ja tulpat - Udluftningsventil og propper - Zawór odpowietrzajàcy i korki -
оздуховыпускной клапан и заглушки - - LégtelenítŒszelep és dugók - Lufteventil og propper
- Hava tahliye vanası ve tapalar
15 Valvola a cerniera - Flap valve - Clapet à charnière - Klappenventil - Válvula de charnela - Válvula de chapeleta
- Scharnierklep - Klaffventil - Läppäventtiili - Klapventil - Zawór klapowy - арнирный клапан - -
Visszacsapó szelep - Klappventil - Kanatlı vana
16 Flangia cieca - Blind flange - Bride borgne - Blindflansch - Brida ciega - Flange cega - Blinde flens - Blindfläns -
Umpilaippa - Blindflange - Ko∏nierz zaÊlepiajàcy - лухой фланец - - Vakkarima - Blindflens - Kör flanş
71

it-en-fr-de-es-pt-nl-sv-fi-da-pl-ru-ar-hu-no-tr
FCTE4 Serie - Series - Série - Baureihe - Serie - Série - Serie- Serie - Sarja - Serie - Seria - epии -
- Sorozat - Serien - Serisi
FIG. 8
ABB.
KUVA
RYS.
.
ÁBRA
ŞEKİL
72

it-en-fr-de-es-pt-nl-sv-fi-da-pl-ru-ar-hu-no-tr
FCTE4
Nomenclatura delle parti di ricambio - Spare parts list - Nomenclature des pièces de rechange -
Ersatzteile-Bezeichnung - Lista de las piezas de repuesto - Lista das peças de reposição - Lijst van
de reserveonderdelen - Reservdelslista - Varaosaluettelo - Reservedelsliste - Lista cz´Êci zamiennych -
еречень запасных частей - - Cserealkatrészek jegyzéke - Navneliste
reservedeler - Yedek parçaların adlandırılması
N. Descrizione - Description - Description - Teilebeschreibung - Descripción - Descrição - Beschrijving
- Beskrivning - Kuvaus - Beskrivelse - Opis - Описание -
- Leírás - Beskrivelse - Tanım
1
Corpo pompa con tappi e anello distanziatore (ove previsto) - Pump body with plugs and spacer ring (where required) - Corps
de pompe avec bouchons et anneau entretoise (quand il est prévu). - Pumpengehäuse mit Stopfen und Distanzring (sofern
vorgesehen) - Caja bomba con tapones y anillo distanciador (si previsto) - Corpo da bomba com tampões e anel espaçador
(onde previsto) - Pomplichaam met stoppen en afstandsring (indien voorzien) - Pumphus med pluggar och avståndsbricka (om
den finns)- Pumpun runko tulpilla ja välirenkaalla (jos asennettu) - Pumpehus med propper og tykkelsesring (hvis monteret) -
Korpus pompy z korkami i pierÊcieniem dystansowym (tam gdzie przewidziane) - орпус насоса с заглушками и
прокладочным кольцом (где предусмотрено) - -Szivattyú ház dugók-
kal és távköztartó gyırıvel (ahol szükséges) - Pumpehus med propper og avstandsring (hvor dette finnes) - Tapa ve ara hal-
kası ile donatılmış pompa gövdesi (öngörüldüğü hallerde)
*2
Girante - Impeller - Roue - Laufrad - Rueda de álabes - Impulsor - Waaier -Pumphjul - Juoksupyörä - Pumpehjul -
Wirnik - рыльчатка -
- Járókerék - Skovlhjul - Çark
3
Disco portatenuta con anello di rasamento - Seal housing with wear ring - Disque d’étanchéité avec anneau d’usu-
re - Dichtungsscheibe mit Ausgleichsring - Disco de alojamiento retén con anillo de desgaste - Disco porta-vedan-
te com anel compensador de desgaste - Dichtingssteunplaat met schraapring - Tätningshållarskiva med mellan-
läggsbricka - Tiivisteen kannatuslevy kulumisrenkaalla - Pakningsskive med afstandsring - Os∏ona uszczelnienia z
pierÊcieniem szczelinowym - орпус сальника с компенсационным кольцом -
- Tömítéstartó tárcsa koógyırıvel - Tetningsholderplate med slitering - Aşınma halkası ile sızdırmazlık elemanı diski
4
Lanterna - Adapter - Lanterne - Antriebslaterne - Adaptador - Adaptador - Motorsteun - Adapter - Sovitin - Adapter
- ¸àcznik - ереходная втулка -
- Adapter - Tilslutningsstykke
- Adaptör
*5
Anelli di rasamento - Wear rings - Anneaux d’usure - Ausgleichsring - Anillos de desgaste - Anéis compensadores de
desgaste - Schraapringen - Mellanläggsbrickor - Kulumisrenkaat - Afstandsringe - PierÊcieƒ szczelinowy -
омпенсационные кольца - - Kopógyırık - Sliteringer - Aşınma halkaları - Aşınma halkaları
*7
Tenuta meccanica e guarnizione OR - Mechanical seal and O-Ring - Garniture mécanique et joint torique -
Gleitringdichtung und O-Ring - Retén mecánico y aro tórico - Vedante mecânico e vedação OR - Mechanische
dichting en O-ring - Mekanisk tätning och O-ring - Mekaaninen tiiviste ja O-rengas - Mekanisk pakning og O-ring
- Uszczelnienie mechaniczne i “O” Ring - еханическое уплотнение и уплотнительное кольцо -
- Tengely tömítés és OR betét - Mekanisk tetning og O-ring - Mekanik salmastra ve O-Ring
9 Motore completo - Complete motor - Moteur complet - Kompletter Motor - Motor completo - Motor completo -
Complete motor - Komplett motor - Täydellinen moottori - Komplet motor - Kompletny Silnik - вигатель в
сборе - - Komplett motor - Hele motoren - Komple motor
10 Giunto,dado fissaggio girante, rosetta e linguetta - Coupling, impeller lock nut, washer and key - Manchon, écrou de
fixation roue, rondelle et clavette - Kupplung, Feststellmutter des Laufrads, Unterlegscheibe und Passfeder - Junta, tuer-
ca de fijación rueda de álabes, arandela y lengüeta - Junta, porca de fixação do impulsor, anilha e lingueta - Koppeling,
bevestigingsmoer waaier, onderlegring en spie - Koppling, låsmutter, låsbricka och kil för pumphjul - Liitos, juoksupyö-
rän kiinnitysmutteri, välirengas ja kiila - Samling, møtrik til fastgørelse af pumpehjul, spændeskive og kile - Sprz´g∏o,
nakr´tka mocujàca wirnika, podk∏adka, klin - уфта, крепежная гайка крыльчатки, шайба и призматическая
шпонка - - Csatlakozódarab, járókerék rögzítŒ csavaranya, alátét és ék - Kopling,
festemutter skovlhjul, underlagsskive og splint - Manşon, çark tespit somunu, rondela ve çıkıntı
11 Dado fissaggio girante, rosetta e linguetta - Impeller lock nut, washer and key - Écrou de fixation roue, rondelle
et clavette - Feststellmutter des Laufrads, Unterlegscheibe und Passfeder - Tuerca de fijación rueda de álabes,
arandela y lengüeta - Porca de fixação do impulsor, anilha e lingueta - Bevestigingsmoer waaier, onderlegring en
spie - Låsmutter, låsbricka och kil för pumphjul - Juoksupyörän kiinnitysmutteri, välirengas ja kiila - Møtrik til
fastgørelse af pumpehjul, spændeskive og kile - Nakr´tka mocujàca wirnika, podk∏adka, klin - репежная
гайка крыльчатки, шайба и призматическая шпонка - - Járókerék rögzítŒ
csavaranya, alátét és ék - Festemutter skovlhjul, underlagsskive og splint - Çark tespit somunu, rondela ve çıkıntı
12 Valvola di sfiato e tappi - Air valve and plugs - Clapet de purge et bouchons - Entlüftungsventil und Stopfen - Válvula de
purga y tapones - Válvula de respiro e tampões - Ontluchtingsklep en stoppen - Avluftningsventil och pluggar -
Ilmausventtiili ja tulpat - Udluftningsventil og propper - Zawór odpowietrzajàcy i korki - оздуховыпускной клапан и
заглушки - - LégtelenítŒszelep és dugók - Lufteventil og propper - Hava tahliye vanası ve tapalar
16
Valvola a cerniera - Flap valve - Clapet à charnière - Klappenventil - Válvula de charnela - Válvula de chapeleta - Scharnierklep -
Klaffventil - Läppäventtiili - Klapventil - Zawór klapowy - арнирный клапан - - Visszacsapó szelep - Kanatlı vana
17 Flangia cieca - Blind flange - Bride borgne - Blindflansch - Brida ciega - Flange cega - Blinde flens - Blindfläns -
Umpilaippa - Blindflange - Ko∏nierz zaÊlepiajàcy - лухой фланец - - Vakkarima - Blindflens - Kör flanş
73

it-en-fr-de-es-pt-nl-sv-fi-da-pl-ru-ar-hu-no-tr
FCTS - FCTS4 (40,50,65,80,100) Serie - Series - Série - Baureihe - Serie - Série - Serie- Serie - Sarja -
Serie - Seria - epии - - Sorozat - Seriene - Serisi
FIG. 9
ABB.
KUVA
RYS.
.
ÁBRA
ŞEKİL
74

it-en-fr-de-es-pt-nl-sv-fi-da-pl-ru-ar-hu-no-tr
FCTS - FCTS4 (40,50,65,80,100)
Nomenclatura delle parti di ricambio - Spare parts list - Nomenclature des pièces de rechange -
Ersatzteile-Bezeichnung - Lista de las piezas de repuesto - Lista das peças de reposição - Lijst van
de reserveonderdelen - Reservdelslista - Varaosaluettelo - Reservedelsliste - Lista cz´Êci zamiennych -
еречень запасных частей - - Cserealkatrészek jegyzéke - Navneliste reservedeler
- Yedek parçaların adlandırılması
N. Descrizione - Description - Description - Teilebeschreibung - Descripción - Descrição - Beschrijving -
Beskrivning - Kuvaus - Beskrivelse - Opis - Описание - - Leírás -
Beskrivelse - Tanım
1 Corpo pompa con tappi e anello distanziatore (ove previsto) - Pump body with plugs and spacer ring (where required) -
Corps de pompe avec bouchons et anneau entretoise (quand il est prévu). - Pumpengehäuse mit Stopfen und
Distanzring (sofern vorgesehen) - Caja bomba con tapones y anillo distanciador (si previsto) - Corpo da bomba com
tampões e anel espaçador (onde previsto) - Pomplichaam met stoppen en afstandsring (indien voorzien) - Pumphus
med pluggar och avståndsbricka (om den finns) - Pumpun runko tulpilla ja välirenkaalla (jos asennettu) - Pumpehus med
propper og tykkelsesring (hvis monteret) - Korpus pompy z korkami i pierÊcieniem dystansowym (tam gdzie przewidzia-
ne) - орпус насоса с заглушками и прокладочным кольцом (где предусмотрено) -
- Szivattyú ház dugókkal és távköztartó gyırıvel (ahol szükséges) -
Pumpehus med propper og avstandsring (hvor dette finnes) - Tapa ve ara halkası ile donatılmış pompa gövdesi (öngö-
rüldüğü hallerde)
*2 Girante - Impeller - Roue - Laufrad - Rueda de álabes - Impulsor - Waaier - Pumphjul - Juoksupyörä - Pumpehjul - Wirnik
- рыльчатка - - járókerék - Skovlhjul - Çark
3 Disco portatenuta con anello di rasamento - Seal housing with wear ring - Disque d’étanchéité avec anneau d’usure -
Dichtungsscheibe mit Ausgleichsring - Disco de alojamiento retén con anillo de desgaste - Disco porta-vedante com
anel compensador de desgaste - Dichtingssteunplaat met schraapring - Tätningshållarskiva med mellanläggsbricka -
Tiivisteen kannatuslevy kulumisrenkaalla - Pakningsskive med afstandsring - Os∏ona uszczelnienia i pierÊcieƒ szczelino-
wy - орпус сальника с компенсационным кольцом - - Tömítéstartó tárcsa kopó-
gyırıvel - Tetningsholderplate med slitering - Aşınma halkası ile sızdırmazlık elemanı diski
4 Lanterna - Adapter - Lanterne - Antriebslaterne - Adaptador - Adaptador - Motorsteun - Adapter - Sovitin - Adapter -
¸àcznik - ереходная втулка - - Adapter - Tilslutningsstykke - Adaptör
*5 Anelli di rasamento - Wear rings - Anneaux d’usure - Ausgleichsring - Anillos de desgaste - Anéis compensadores de
desgaste - Schraapringen - Mellanläggsbrickor - Kulumisrenkaat - Afstandsringe - PierÊcieƒ szczelinowy -
омпенсационные кольца - - Kopógyırık - Sliteringer - Aşınma halkaları
*7 Tenuta meccanica e guarnizione OR - Mechanical seal and O-Ring - Garniture mécanique et joint torique -
Gleitringdichtung und O-Ring - Retén mecánico y aro tórico - Vedante mecânico e vedação OR - Mechanische dichting
en O-ring - Mekanisk tätning och O-ring - Mekaaninen tiiviste ja O-rengas - Mekanisk pakning og O-ring - Uszczelnienie
mechaniczne i “O” Ring - еханическое уплотнение и уплотнительное кольцо - -
Tengely tömítés és OR betét - Mekanisk tetning og O-ring - Mekanik salmastra ve O-Ring
9 Motore - Motor - Moteur - Motor - Motor - Motor - Motor - Motor - Moottori - Motor - Silnik - вигатель - -
Motor - Motor - Motor
10 Giunto,dado fissaggio girante, rosetta e linguetta - Coupling, impeller lock nut, washer and key - Manchon, écrou fixa-
tion roue, rondelle et clavette - Kupplung, Feststellmutter des Laufrads, Unterlegscheibe und Passfeder - Junta, tuerca
de fijación rueda de álabes, arandela y lengüeta - Junta, porca de fixação do impulsor, anilha e lingueta - Koppeling,
bevestigingsmoer waaier, onderlegring en spie - Koppling, låsmutter, låsbricka och kil för pumphjul - Liitos, juoksupyö-
rän kiinnitysmutteri, välirengas ja kiila - Samling, møtrik til fastgørelse af pumpehjul, spændeskive og kile - Sprz´g∏o,
nakr´tka mocujàca wirnika, podk∏adka i klin - уфта, крепежная гайка крыльчатки, шайба и призматическая
шпонка - - Csatlakozódarab, járókerék rögzítŒ csavaranya, alátét és ék - Kopling,
festemutter skovlhjul, underlagsskive og splint - Manşon, çark tespit somunu, rondela ve çıkıntı
11 Dado fissaggio girante, rosetta e linguetta - Impeller lock nut, washer and key - Écrou de fixation roue, rondelle et cla-
vette - Feststellmutter des Laufrads, Unterlegscheibe und Passfeder - Tuerca de fijación rueda de álabes, arandela y len-
güeta - Porca de fixação do impulsor, anilha e lingueta - Bevestigingsmoer waaier, onderlegring en spie - Låsmutter,
låsbricka och kil för pumphjul - Juoksupyörän kiinnitysmutteri, välirengas ja kiila - Møtrik til fastgørelse af pumpehjul,
spændeskive og kile - Nakr´tka mocujàca wirnika, podk∏adka i klin - репежная гайка крыльчатки, шайба и
призматическая шпонка - - Járókerék rögzítŒ csavaranya, alátét és ék - Festemutter
skovlhjul, underlagsskive og splint - Çark tespit somunu, rondela ve çıkıntı
12 Valvola di sfiato e tappi - Air valve and plugs - Clapet de purge et bouchons - Entlüftungsventil und Stopfen - Válvula de
purga y tapones - Válvula de respiro e tampões - Ontluchtingsklep en stoppen - Avluftningsventil och pluggar-
Ilmausventtiili ja tulpat - Udluftningsventil og propper - Zawór odpowietrzajàcy i korki - оздуховыпускной клапан и
заглушки - - LégtelenítŒszelep és dugók - Lufteventil og propper - Hava tahliye vanası ve tapalar
14 Raccordo motore - Motor connector - Raccord de moteur - Steckwelle - Racor motor - Conexão motor -
Motorverbindingsstuk -Motorfäste - Moottoriliitos - Motorkobling - ¸àcznik silnika - оединительная муфта
двигателя - - Motor csatlakozóidom - Forbindelsesstykke motor - Motor bağlantısı
16 Valvola a cerniera - Flap valve - Clapet à charnière - Klappenventil - Válvula de charnela - Válvula de chapeleta -
Scharnierventiel - Klaffventil - Läppäventtiili - Klapventil - Zawór klapowy - арнирный клапан - -
Visszacsapó szelep - Klappventil - Kanatlı vana
17 Flangia cieca - Blind flange - Bride borgne - Blindflansch - Brida ciega - Flange cega - Blinde flens - Blindfläns -
Umpilaippa - Blindflange - Ko∏nierz zaÊlepiajàcy - лухой фланец - - Vakkarima - Blindflens - Kör flanş
75

it-en-fr-de-es-pt-nl-sv-fi-da-pl-ru-ar-hu-no-tr
FCTS4 (125, 150) Serie - Series - Série - Baureihe - Serie - Série - Serie- Serie - Sarja - Serie - Seria -
epии - - Sorozat - Serien - Serisi
FIG. 10
ABB.
KUVA
RYS.
.
ÁBRA
ŞEKİL
76

it-en-fr-de-es-pt-nl-sv-fi-da-pl-ru-ar-hu-no-tr
FCTS4 (125, 150)
Nomenclatura delle parti di ricambio - Spare parts list - Nomenclature des pièces de rechange -
Ersatzteile-Bezeichnung - Lista de las piezas de repuesto - Lista das peças de reposição - Lijst van
de reserveonderdelen - Reservdelslista - Varaosaluettelo - Reservedelsliste - Lista cz´Êci zamiennych -
еречень запасных частей - - Cserealkatrészek jegyzéke - Navneliste reservedeler
- Yedek parçaların adlandırılması
N. Descrizione - Description - Description - Teilebeschreibung - Descripción - Descrição - Beschrijving
- Beskrivning - Kuvaus - Beskrivelse - Opis - Описание -
- Leírás -
Beskrivelse - Tanım
1 Corpo pompa - Pump body - Corps de pompe - Pumpengehäuse - Caja bomba - Corpo da bomba -
Pomplichaam - Pumphus - Pumpun runko - Pumpehus - Korpus pompy - орпус насоса - -
Szivattyú ház - Pumpehus - Pompa gövdesi
*2 Girante - Impeller - Roue - Laufrad - Rueda de álabes - Impulsor - Waaier - Pumphjul - Juoksupyörä - Pumpehjul
- Wirnik - рыльчатка - - Járókerék - Skovlhjul - Çark
4 Lanterna - Adapter - Lanterne - Laterne - Adaptador - Adaptador - Motorsteun - Adapter - Sovitin - Adapter -
¸àcznik - ереходная втулка - - Adapter - Tilslutningsstykke - Adaptör
*7 Tenuta meccanica - Mechanical seal - Garniture mécanique - Gleitringdichtung - Retén mecánico - Vedante mecânico
- Mechanische dichting - Mekanisk tätning - Mekaaninen tiiviste - Mekanisk pakning - Uszczelnienie mechaniczne -
еханическое уплотнение - - Tengely tömítés - Mekanisk tetning - Mekanik salmastra
*8 Guarnizione OR - O-Ring - Joint torique - O-Ring - Aro tórico - Vedação OR - O-ring - O-ring - O-rengas - O-
ring - “O” Ring - Уплотнительное кольцо - - OR tömítés - O-ring - O-Ring
*9 Motore - Motor - Moteur - Motor - Motor - Motor - Motor - Motor - Moottori - Motor - Silnik - вигатель -
- Motor - Motor - Motor
10 Dado fissaggio girante e rosetta - Impeller lock nut and washer - Écrou de fixation roue et rondelle -
Feststellmutter des Laufrads und Unterlegscheibe - Tuerca de fijación rueda de álabes y arandela - Porca de fixa-
ção do impulsor e anilha - Bevestigingsmoer waaier en onderlegring - Låsmutter och låsbricka för pumphjul -
Juoksupyörän kiinnitysmutteri ja välirengas - Møtrik til fastgørelse af pumpehjul og spændeskive - Nakr´tka
mocujàca wirnik i podk∏adka - репежная гайка крыльчатки, шайба и призматическая шпонка -
- Járókerék rögzítŒ csavaranya és alátét - Festemutter skovlhjul og underlagsskive - Çark
tespit somunu, rondela ve çıkıntı
11
Linguetta - Key - Clavette - Passfeder - Lengüeta - Lingueta - Spie - Kil - Kiila - Kile - Klin - понка - - Ék - Splint - Çıkıntı
12 Tappo di sfiato - Air bleed plug - Bouchon de purge - Entlüftungsventil - Tapón de purga - Tampão de respiro -
Ontluchtingsstop - Avluftningsplugg - Ilmaustulppa - Udluftningsprop - Korek odpowietrzajàcy -
оздуховыпускная пробка - - LégtelenítŒ dugó - Lufteplugg - Hava tahliye tapası
13 Tappo di scarico - Drain plug - Bouchon de vidange - Ablassstopfen - Tapón de descarga - Tampão de descar-
ga - Afvoerstop - Avtappningsplugg - Tyhjennystulppa - Dræningsprop - Korek spustowy - ливная пробка -
- LeeresztŒ dugó - Tappeplugg - Boşaltma tapası
14 Raccordo motore - Motor connector - Raccord de moteur - Steckwelle - Racor motor - Conexão motor -
Motorverbindingsstuk -Motorfäste - Moottoriliitos - Motorkobling - ¸àcznik silnika - оединительная муфта
двигателя - - Motor csatlakozóidom - Forbindelsesstykke motor - Motor bağlantısı
15 Giunto - Coupling - Manchon - Kupplung - Junta - Junta - Koppeling - Koppling - Liitos - Samling - Sprz´g∏o -
уфта - - Csatlakozódarab - Kopling - Manşon
16 Protezione giunto - Coupling guard - Protection manchon - Kupplungsschutz - Protección junta - Protecção da
junta .-Koppelingsbescherming - Kopplingsskydd- Liitoksen suojus - Beskyttelse til samling - Os∏ona sprz´g∏a -
Ограничитель муфты - - Csatlakozódarab védŒegység - Koplingsbeskyttelse - Manşon koruması
17
Linguetta - Key - Clavette - Passfeder - Lengüeta - Lingueta - Spie - Kil - Kiila - Kile - Klin - понка - - Ék - Splint - Çıkıntı
18 Valvola a cerniera - Flap valve - Clapet à charnière - Klappenventil - Válvula de charnela - Válvula de chapeleta
- Scharnierklep - Klaffventil - Läppäventtiili - Klapventil - Zawór klapowy - арнирный клапан - -
Visszacsapó szelep - Klappventil - Kanatlı vana
19
Flangia cieca - Blind flange - Bride borgne - Blindflansch - Brida ciega - Flange cega - Blinde flens - Blindfläns - Umpilaippa
- Blindflange - Zawias zaworu klapowego - лухой фланец - - Vakkarima - Blindflens - Kör flanş
77

78

79

it Lowara si riserva il diritto di apportare modifiche senza obbligo di preavviso.
en Lowara reserves the right to make modifications without prior notice.
fr Lowara se réserve le droit d’apporter des modifications sans obligation de préavis.
de Änderungen, auch ohne vorherige Ankündigung, sind LOWARA jederzeit vorbehalten.
es Lowara se reserva el derecho de realizar modificaciones sin necesidad de aviso previo.
pt A Lowara reserva-se o direito de proceder a alterações sem aviso prévio.
nl Lowara behoudt zich het recht voor om zonder voorafgaand bericht wijzigingen aan te brengen.
da Lowara forbeholder sig retten til at ændre specifikationerne uden meddelelse herom.
no Lowara forbeholder seg retten til å utføre endringer uten forvarsel.
sv Lowara förbehåller sig rätten att utföra ändringar utan förhandsmeddelande.
fi Lowara pidättää itselleen oikeuden tehdä muutoksia ilman ennakkoilmoitusta.
is Lowara áskilur sér rétt til að gera breytingar án fyrirvara.
et Lowara jätab endale õiguse teha muudatusi eelnevalt ette teatamata
lv Lowara patur tiesības veikt izmaiņas bez iepriekšēja brīdinājuma.
lt „Lowara“ pasilieka teisę atlikti pakeitimus be išankstinio įspėjimo.
pl Lowara zastrzega sobie prawo do wprowadzenia zmian bez obowiązku wcześniejszego powiadomienia.
cs Společnost Lowara si vyhrazuje právo na provedení změn bez předcházejícího upozornění.
sk Spoločnosť Lowara si vyhradzuje právo na vykonanie zmien bez predchádzajúceho upozornenia.
hu A Lowara fenntartja magának a jogot előzetes értesítés nélküli módosítások eszközlésére.
ro Lowara îşi rezervă dreptul de a face modificări fără o înştiinţare prealabilă.
bg Фирмата Ловара си запазва правото да нанася промени без предупреждение
sl Lowara si pridržuje pravico do vnašanja sprememb brez vsakršnega predhodnega obvestila.
hr Lowara zadržava pravo promjene bez obveze prethodne najave.
sr Lowara zadržava pravo promene bez obaveze prethodne najave.
el Η Lowara διατηρεί το δικαίωμα να επιφέρει τροποποιήσεις χωρίς υποχρέωση προειδοποίησης
tr Lowara şirketi önceden haber vermeksizin değişiklikler yapma hakkn sakl tutmaktadr
ru Lowara оставляет за собой право вносить изменения без предварительного уведомления.
uk Компанія Lowara залишає за собою право вносити зміни без попередження.
ar
ﻖﺒﺴُﻤﻟا ﻪﻴﺒﻨﺘﻟﺎﺑ ماﺰﺘﻟﻻا نوﺪﺑ تﻼﻳﺪﻌﺗ ءاﺮﺟإ ﻖﺤﺑ .
Lowara
اراﻮﻟ ﺔآﺮﺷ ﻆﻔﺘﺤﺗ
Headquarters
LOWARA S.R.L. UNIPERSONALE
Via Vittorio Lombardi 14
36075 Montecchio Maggiore VI
Italia
Tel. (+39) 0444 707111 - Fax (+39) 0444 492166
e-mail: lowara.mkt@xyleminc.com
web: www.lowara.com
© 2011 Xylem, Inc

