Leitz VariPlan Plus – page 4
Manual for Leitz VariPlan Plus

Deutsch
English
Italiano
Français
1.4.4
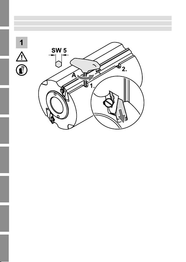
安装在机器上
按照机器制造商的说明安装,锁紧和使用刀具。
Español
在更换刀具时不允许启动机器(见机器的操作手册)。
Português
带安全手套!当心受伤!
切切削削刃刃锋锋利利,,当当心心受受伤伤!!
Русский
使用刀具前,检查切削件,夹紧螺丝及紧固件是固定在正确的位置上。
零零件件飞飞出出的的受受伤伤的的危危险险。。
中文
必须遵守机器制造商规定的刀具重量,直径和悬臂长度。
6104/2012 ID.524660 V1.0
日日本本語語

检查机器的参数设定,特别是转速和旋转方向
Deutsch
刀刀具具松松动动的的危危险险
不不可可强强制制性性的的制制动动刀刀具具,,如如测测边边加加压压。。
English
在安装刀具是注意, 所有的刀具及附件必须正确安装夹紧。
切削部件不能碰及夹紧元件和机器部件。
使用叠加的刀具时是应检查,刀刃是否相互干涉。
所有夹紧面必须清洁, 无油脂和水等杂物。
Italiano
用合适的安装工具或建议的扭矩锁紧装夹螺钉和压盖。
不不允允许许延延长长使使用用夹夹紧紧扳扳手手或或锤锤子子类类工工具具的的期期限限。。
1.4.5
警惕
Français
带安全手套!当心受伤!
切切削削刃刃锋锋利利,,当当心心受受伤伤!!
EspañolPortuguês
佩戴耳塞保护!
听听力力减减退退的的风风险险!!
定期检查切削刃,夹紧元件,螺丝及刀体有无损伤 -
特别是党刀具与机器部件碰撞后,如工作台,工件、夹紧元件,吸尘罩等。
损坏的或磨损的刀具部件、夹紧件或螺丝应立即用原配件更换。
损坏的刀具须由专业人员检查。
Русский
零零件件飞飞出出的的受受伤伤的的危危险险。。
刀体断裂或刀具变形应立即报废,且不允许修复。
中文
刀刀具具折折断断的的危危险险。。
62
04/2012 ID.524660 V1.0
日日本本語語

不不可可以以再再使使用用已已变变形形的的刀刀具具。。
Deutsch
1.5
清洁和保养
English
Italiano
1 排屑区域
2 后刀面
出于劳动安全的原因,刀头/刀刃(进行保养(参见“改型、重磨服务章节)最迟应在
-在刀刃磨损宽度VB大于0.2mm时 - 特别注意观察主磨损面。
Français
-可见切削刃崩缺。
-机器的电流值明显增大。
带安全手套!当心受伤!
Español
切切削削刃刃锋锋利利,,当当心心受受伤伤!!
经常清洁刀刃上的树脂和胶状物可延长使用寿命和操作安全性。
Português
清洁时要保护手和眼睛。
清清洁洁剂剂会会造造成成皮皮肤肤,,眼眼睛睛的的损损伤伤并并损损坏坏刀刀具具和和夹夹具具。。
只能采用不腐蚀刀具材料的清洁剂,,如SUR-Tec 194用于钢材,Sur-Tec 143或 Avilub
METACLEAN 788用于铝和钢。
Русский
清洁剂和防锈油可从刀具制造商处购买。
注意清洁剂制造商的说明。
木材加工刀具和夹具应防潮,以避免锈蚀。适用的防锈剂应为:通用防锈油,如WD40或B
allistol防锈油
中文
6304/2012 ID.524660 V1.0
日日本本語語

1.6
服务、改型与修磨
Deutsch
1.6.1
总说明
只能由制造厂商或由制造厂商授权的专业修理部进行服务和修磨。
刀刀具具折折断断的的危危险险。。
English
只允许使用符合刀具制造商规定的配件。
公差必须保证,以确保精确夹紧。
Italiano
只能由有经验的专业人员参照制造商的说明才能对刀具进行修磨、修理和和修正。
专业人员必须具有专业的技术水平和经验:
-当前的木工刀具设计和安装方面的工程标准。
-相关的国家标准和规定
-相关的安全标准和规定
Français
-必须具有必要的从事此项工作的能力
刀具维护和修磨后,应仍符合欧洲标准EN 847-1,特别在:
EspañolPortuguês
Русский
中文
64
04/2012 ID.524660 V1.0
日日本本語語

Deutsch
English
Italiano
Français
-平衡量
-刀片厚度 a
-刀片伸出量cr, ca, t
Español
-限位器宽度 e
Português
割刀的突出量
若刀具的更改或更新影响到刀具的标识,要相应更新标识,并注明更改公司的名称和公司
Русский
标志。
1.6.2
重磨
从刀具制造商处索取修磨说明。
中文
6504/2012 ID.524660 V1.0
日日本本語語

1
一般事項
Deutsch
こちらの刃物は欧州規格EN 847-
1に対応しています。ご使用前に必ず取扱説明書をお読みください。
1.1
表示
English
1. 製造メーカー
2. 仕様
3. 商品番号
4. ID-No.(商品番号)
5. 最大寸法(最大外径x最大刃幅x孔径)
6. 機械送りまたは手送り
Italiano
7. 最高回転数(n max.)
8. 他表示
一つのアーバーに複数のカッターが搭載される
場合、最高回転数は最も少ない値のものを限界と
します。
Français
1.2
刃質と発注詳細事項
EspañolPortuguês
1.2.1
刃質
SP = SP鋼HL = HL鋼
HS = ハイス鋼ST = ステライト鋼
HW = 超硬(コーティング無)HC = 超硬(コーティング付)
DP = ポリクリスタルダイヤモンドDM = モノクリスタルダイヤモンド
MC = マラソン コーティ ング
1.2.2
発注明細事項
商品名
寸法
送りタイプ
ID-No.(商品番号)
刃数
回転数
1.3
使用目的
Русский
1.3.1
回転数/最高回転数
各刃物に表示されている回転数の範囲 “”n”“及び最高回転数”“n
max”“を厳守してください。
1.3.2
使用分類と加工方法
中文
刃物の適合性に関しては機械メーカーの仕様にご留意ください。
刃物上に表示された送りタイプ(機械送りまたは手送り)を厳守してください。
66
04/2012 ID.524660 V1.0
日日本本語語

Deutsch
““MMEECC”” 機機械械送送りり用用刃刃物物
”MEC”と表示されている刃物は機械送り専用です。
English
Italiano
““MMAANN““ 手手送送りり用用刃刃物物
“MAN“と表示されている刃物は機械送りにも使用可能です。
ダダウウンンカカッットト::
手手送送りりのの場場合合、、材材がが飛飛ばばさされれ事事故故がが起起ききるるリリススククががあありりまますすののでで絶絶対対ににおお止止めめくくだだささいい
。。
Français
1.3.3
加工方法
Español
1.3.4
加工材
木材、木質材料及び同等の切削特性の材(カタログ参照)特殊な材料への適用はメーカ
ーによる認可が必要です。
Português
1.4
安全な取り扱い
1.4.1
アプリケーション
刃物は”使用目的”の記述を厳守してご使用ください。
Русский
事故防止及び作業の安全衛生のための法律・規定( 特に欧州規格EN847-1)
を順守してください。
1.4.2
運送
“安全手袋を着用してください!
中文
鋭鋭利利なな刃刃先先でで怪怪我我ををすするる恐恐れれががあありりまますす!!
6704/2012 ID.524660 V1.0
日日本本語語

“適切な梱包で運送してください。
Deutsch
梱包及び開梱の際には十分注意してください。
破破損損のの恐恐れれががあありりまますす!!””
English
1.4.3
ツールの組み立て
“安全手袋を着用してください!
鋭鋭利利なな刃刃先先でで怪怪我我ををすするる恐恐れれががあありりまますす!!
Italiano
必ず全部のパーツを取り付けてください。適正な動的バランスを維持するためそれぞれ
同じ重量のパーツを使用してください。
切削部分、据え付け部分及びクランピング工具の木やに、グリース、油、水などの汚れ
は取り除いてください。
Français
工具で確実に固定できますよう、ネジの頭などの汚れを除去してください。
パパーーツツががははずずれれてて怪怪我我ををすするる恐恐れれががあありりまますす。。
適切な工具(レンチ/スパナ)にて適正トルク値でネジ/ナットを締めてください。
EspañolPortuguês
刃刃物物固固定定のの際際ににはは、、延延長長物物ををつつけけたたススパパナナややハハンンママーーななどどをを使使わわなないいでで下下ささいい。。
特に断りのない限り、次の推奨されたトルク値でナットをクランプしてください:
Русский
中文
68
04/2012 ID.524660 V1.0
日日本本語語

Deutsch
English
Italiano
Français
1.4.4
機械への取り付け
刃物は、機械メーカーの指示に従った取り付け、固定、操作をしてください。
Español
刃物交換中には絶対に機械を稼働させないでください。(機械の取扱説明書を参照して
ください)
Português
“安全手袋を着用してください!
鋭鋭利利なな刃刃先先でで怪怪我我ををすするる恐恐れれががあありりまますす!!
Русский
刃物のご使用前に切削部分、ネジ、クランピング工具類が正しくしっかりと取り付けら
れているかを確認してください。
パパーーツツががははずずれれてて怪怪我我ををすするる恐恐れれががあありりまますす。。
中文
機械メーカーの推奨する刃物重量制限、外径及び突出部分の長さを順守してください。
6904/2012 ID.524660 V1.0
日日本本語語

機械の設定をご確認ください。 特に回転数と回転方向にはご注意ください。
Deutsch
刃刃物物ががははずずれれるる恐恐れれががあありりまますす。。
不不適適切切なな刃刃物物のの固固定定((基基準準面面にに斜斜めめなな固固定定ななどど))ははししなないいででくくだだささいい。。
English
取り付け時、すべての刃物及びスペアパーツは正しいクランピング装置に取り付けるよ
う注意してください。
切削部分はクランピング部分や機械に触れないようにしてください。
組み合わせ刃物を使用する際、切削部分が互いに接触しないようにしてください。
クランピング面の、グリース、油、水などの汚れは取り除いてください。
Italiano
適切な工具(レンチ/スパナ)にて適正トルク値でネジ/ナットを締めてください。
刃刃物物固固定定のの際際ににはは、、延延長長物物ををつつけけたたススパパナナややハハンンママーーななどどをを使使わわなないいでで下下ささいい。。
1.4.5
予防措置
Français
“安全手袋を着用してください!
鋭鋭利利なな刃刃先先でで怪怪我我ををすするる恐恐れれががあありりまますす!!
EspañolPortuguês
耳栓をつけてください!
難難聴聴ににななるる恐恐れれががあありりまますす!!
破損防止のため、刃先部分、クランピング部分、ネジ、本体の定期的な点検を行ってく
ださい。特に刃物の機械(定盤、材のクランピング、ダストカバーなど)との接触後は
ただちに点検してください。
破損又は磨耗した替刃、クランピングパーツ及びネジは直ちに純正部品に交換してくだ
さい。
破損した刃物には専門家の点検が必要です。
Русский
パパーーツツががははずずれれてて怪怪我我ををすするる恐恐れれががあありりまますす。。
亀裂の入った本体や切削部分の取付け部が変形した刃物は使用を中止し、修理は行わな
いでください。
中文
刃刃物物破破損損のの恐恐れれががあありりまますす。。
70
04/2012 ID.524660 V1.0
日日本本語語

変変形形ししたた刃刃物物はは使使用用ししなないいででくくだだささいい。。
Deutsch
1.5
クリーニングとメンテナンス
English
Italiano
スクイ(掬い)面
逃げ面
安全な作業のため、ロウ付刃先部分及び替刃(サービス、修正、研磨欄参照)を以下の
状態になったら研磨をしてください
Français
-刃先の磨耗の(VB)が0.2mmを超えた場合(一番磨耗している部分)
-刃先に破損が見えた場合
-抵抗が増え機械の消費電力が増えた場合
“安全手袋を着用してください!
Español
鋭鋭利利なな刃刃先先でで怪怪我我ををすするる恐恐れれががあありりまますす!!
刃先にヤニや樹脂がたまらないようは定期的に洗浄してください。刃寿命が延び、安全
な使用ができます。
Português
洗浄中は手袋やアイマスクを使用して保護してください。
洗洗浄浄剤剤はは肌肌やや目目にに刺刺激激、、ままたたははククラランンピピンンググ工工具具をを損損傷傷ささせせるる恐恐れれががあありりまますす。。
工具材質を腐食しない洗浄剤のみ使用してください。(例:スチールのみならSur-Tec
Русский
194 、アルミとスチールならAvilub METACLEAN788)
洗浄に適した洗浄剤は刃物メーカーから購入可能です。
洗浄剤メーカーの取扱説明書を順守してください。
サビ防止のため、木工用刃物及びクランピングツールは高い湿度の所では保管しないで
ください。 オイル(WD40かバリストル)、油紙などでサビないように管理ください。
中文
7104/2012 ID.524660 V1.0
日日本本語語

1.6
サービス、追加加工、研磨
Deutsch
1.6.1
共通の注意事項
サービスと加工はメーカーと認可されたサービス工場でのみ行ってください。
刃刃物物破破損損のの恐恐れれががあありりまますす。。
English
刃物メーカーの純正スペアパーツで必要条件に適合したパーツのみを使用してください
。
正確なクランプするため公差を厳守してください。
Italiano
刃物の研磨、修理、追加加工はメーカーから認可された経験ある専門家によってのみ行
ってください。
経験を持った専門の人のみが修理してください。 下記の経験が必要です。
-最新の刃物技術と設計に精通している。
-公差や安全基準に精通している。
Français
-必要な機械の使用に熟練している。
-国の規則や規定を理解している。
研磨、追加加工、修理後の刃物は欧州規格 EN847-
1に適合しなければなりません。特に以下の点に適合する必要があります:
EspañolPortuguês
Русский
中文
72
04/2012 ID.524660 V1.0
日日本本語語

Deutsch
English
Italiano
Français
-動的バランス
-刃の厚さ a
-刃の突出 cr,ca,t
Español
-リミッターとの段差 e
Português
ケビキ刃の突出量
加工又は再ロウ付け後、刃物のマークを更新しておかなければなりません。加工または
Русский
再ロウ付けした会社の名/ロゴも追加で表示してください。
1.6.2
研磨
刃物メーカーに研磨方法を確認してください。
中文
7304/2012 ID.524660 V1.0
日日本本語語

2 VariPlan Plus / VariPlan Plus / VariPlan Plus / VariPlan Plus
Deutsch
/ VariPlan Plus / VariPlan Plus / VariPlan Plus / VariPlan
Plus / ヴァリプランプラス
2.1 Werkzeugaufbau / Tool design / I dettagli dell’utensile / Conception de l’outil
/ Composición de las herramientas / Composição da ferramenta /
English
Конструкция инструмента / 刀具设计 / ツールデザイン
Italiano
Français
EspañolPortuguês
Русский
1. Grundkörper
1. Tool body
2. Aufnahmeleiste
2. Seating rail
3. Spannkeil
3. Clamping wedge
4. Anschlagleiste
4. Chip breaker
5. Spannschraube
5. Clamping screw
6. Anschlagschraube axial
6. Axial stop screw
中文
7. Druckfeder
7. Pressure spring
8. Wendemesser
8. Turnblade knife (regrindable)
(nachschärfbar)
9. Wrench SW5
9. Sechskantschlüssel SW5
74
04/2012 ID.524660 V1.0
日日本本語語

1. Cuerpo básico
1. Corps de I’outil / Corps de
2. Regleta de alojamiento
base
Deutsch
3. Cuña de sujeción
2. Porte-couteaux
4. Regleta de tope
3. Coin de serrage
5. Tornillo de sujeción
4. Battement
6. Tornillo de sujeción axial
5. Vis de serrage
7. Muelle de presión
6. Vis de butée axiale
8. Cuchilla de inversión
7. Ressort de pression
(reafilable)
8. Planquettes réversibles
English
9. Llave hexagonal SW5
(réaffûtable)
9. Clé à six pans SW5
1. Corpo utensile
1. Корпус
2. Cuneo di bloccaggio
2. Планка приемная
3. Cuneo di bloccaggio
3. Клин прижимной
4. Guida laterale
4. Планка упорная
5. Vite di bloccaggio
5. Винт крепежный
6. Vite di positionamento assiale
6. Винт упорный, осевой
Italiano
7. Molla di spinta
7. Пружина прижимная
8. Coltello reversibile (riaffilabile)
8. Нож поворотный
9. Chiave a brugola esagonale
(перетачиваемый)
9. Ключ под внутренний
шестигранник SW5
1. 刀具刀体
1. ツールボディ / ブロック本体
2. 定位座
2. 固定バー
Français
3. 夹紧契块
3. ウェッジ
4. 断屑器
4. 裏座
5. 夹紧螺钉
5. 固定ネジ
6. 轴向定位螺钉
6. 横ストッパーネジ
7. 压力弹簧
7. プレッシャースプリング
8. 转位刀片(可重磨得)
8. 替刃ナイフ (研磨可能)
9. 扳手SW5
9. 六角レンチ 5 mm
Español
1. Corpo
2. Gravação
3. Cunha de fixação
4. Limitador
5. Parafuso de fixação
6. Parafuso limitador axial
Português
7. Mola de pressão
8. Faca intercambiável
(reafiável)
9. Chave sextavada SW5
Русский
中文
7504/2012 ID.524660 V1.0
日日本本語語

Deutsch
English
Italiano
Français
EspañolPortuguês
Русский
中文
76
04/2012 ID.524660 V1.0
日日本本語語

2.2
Einheiten / Units / Unità / unitées / Unidades / Unidades / Узлы / 单位 / 単位
Deutsch
English
Italiano
Français
Español
Português
Русский
中文
7704/2012 ID.524660 V1.0
日日本本語語

2.3 Demontage der Messer / Demounting the knives / Smontaggio del coltello /
Deutsch
démontage des couteaux / Desmontaje de la cuchilla / Desmontagem da
faca / Демонтаж ножей / 拆卸刀片 / 替刃ナイフの取り外し
English
Italiano
Français
EspañolPortuguês
Русский
中文
78
04/2012 ID.524660 V1.0
日日本本語語

Deutsch
English
Italiano
Français
Español
Português
Русский
中文
7904/2012 ID.524660 V1.0
日日本本語語

2.4 Montage der Messer / Mounting the knives / Montaggio dei coltelli reversibili
Deutsch
/ montage des couteaux / Montaje de la cuchilla / Montagem das facas /
Монтаж ножей / 安装刀片 / ナイフの取付け
English
Italiano
Français
EspañolPortuguês
Русский
中文
80
04/2012 ID.524660 V1.0
日日本本語語

