Videotec MAXIMUS MPXT – page 6
Manual for Videotec MAXIMUS MPXT

MAXIMUS PTZ ore una rotazione continua ad alta
4 Identificazione
velocità, precisione di posizionamento e qualità delle
immagini superiore abbinate alla massima solidità e a
4.1 Descrizione e designazione
una congurazione di sistema semplicata.
del prodotto
La velocità e la precisione sono le caratteristiche
principali del dispositivo, raggiungendo valori
Manuale di istruzioni - Italiano - IT
I dispositivi antideagranti della serie MAXIMUS,
di 100°/s per la rotazione orizzontale continua e
sono unità di posizionamento (PTZ) progettate per
un’escursione verticale compresa tra -90° e +90°.
consentire lo spostamento sul piano orizzontale e
verticale di una custodia contenente telecamera
MAXIMUS PTZ gestisce le funzioni di preset, autopan
operando in ambienti industriali in cui vi è la
e pattugliamento con un grado di accuratezza di
probabilità che si manifestino atmosfere esplosive
0,02°.
causate da gas, vapori, nebbie o miscele di aria o
L’unità esegue un controllo costante della propria
polvere.
posizione per vericare il corretto posizionamento
I dispositivi MAXIMUS PTZ, provvisti di telecamera
della telecamera in ogni momento. Questa funzione è
incorporata, sono costruiti in acciaio inox
particolarmente utile in caso di condizioni climatiche
elettrolucidato AISI 316L.
avverse, quali vento e vibrazioni forti.
Tale unità si compone essenzialmente di una base, di
La scelta delle telecamere integrate SONY può
un corpo centrale e di una custodia per la telecamera.
avvenire tra ottiche zoom da 36x o 28x, il che
consente di riprendere con precisione straordinaria
Sono disponibili versioni con una seconda custodia
oggetti ravvicinati e distanti, con funzione di
per telecamere termiche.
mascheratura dinamica delle aree.
La base è fornita di un vano connessioni che
Oltre alla congurazione OSD (visualizzazione sullo
permette un cablaggio semplicato del sistema,
schermo), l’impianto è dotato di un’interfaccia
all’interno della quale sono presenti gli alimentatori. È
RS485 per un controllo totale del sistema e per
presente un foro lettato da 3/4" NPT utilizzato per la
l’aggiornamento remoto all’ultima versione rmware.
connessione, da eettuare in conformità alla direttiva
IEC/EN60079-14.
L’interfaccia di congurazione software semplicata
permette di utilizzare i preset o di personalizzare
Il corpo principale contiene i motori per lo
interamente il sistema.
spostamento orizzontale e verticale, nonché la
scheda CPU e la scheda video.
La custodia della telecamera contiene un modulo
day/night con i relativi componenti elettronici, un
riscaldamento e un tergicristallo preinstallato.
Il dispositivo PTZ è dotato di un grado di protezione
IP66 e funziona a temperature comprese tra - 40°C e
60°C (-40°F / 140°F).
MAXIMUS PTZ presenta inoltre una telemetria
integrata ad alta prestazione per la movimentazione
orizzontale/verticale.
Fig. 2 MPX.
9

4.1.1 Versione per telecamere termiche
L’elevata sensibilità NEdT 50mK a f/1,0 garantisce
un’acquisizione ottimale di immagini termiche.
Il dispositivo può essere provvisto anche di una
Supporta zoom digitale 2x o 4x.
telecamera termica per l’acquisizione delle immagini,
installata in una seconda custodia, la cui nestra,
Viene proposta una scelta di diverse lunghezze focali
composta principalmente da germanio, garantisce
tra 35mm, 25mm e 9mm, a seconda delle distanze di
caratteristiche di robustezza e sicurezza identiche a
rilevamento necessarie.
quelle del vetro standard (Fig. 3 MPXT., pagina10).
La telecamera termica è un microbolometro all’ossido
di vanadio non rareddato (VOx) con banda
spettrale di 7,5-13,5m. Genera un video termico
320x256 (PAL) e 320x240 (NTSC), con una frequenza
d’immagine di 8,3fps o 25fps (PAL) e 7,5 o 30fps
(NTSC).
IT - Italiano - Manuale di istruzioni
Fig. 3 MPXT.
4.2 Marcatura del prodotto
04
01
02
10
03
05
11
06 07 08 09
Fig. 4
1. Simbolo CE
10. Certicazione ATEX:
2. Nome e indirizzo del costruttore
• Numero di certicato ATEX
3. Codice di identicazione del modello
• Classicazione del tipo di zona, metodo di
protezione, classe di temperatura per le quali è
4. Temperatura ambiente di utilizzo riferita al
ammesso l’impiego di questo prodotto secondo
codice di identicazione del modello
la direttiva ATEX
5. Numero di serie (il numero di serie è composto
11. Certicazione IECEx:
da 12 caratteri numerici, la seconda e la terza
cifra indicano le ultime due cifre dell'anno di
• Numero di certicato IECEx
produzione)
• Classicazione del tipo di zona, metodo di
6. Tensione di alimentazione (V)
protezione, classe di temperatura per le quali è
ammesso l’impiego di questo prodotto secondo
7. Corrente di assorbimento (A)
la direttiva IECEx
8. Frequenza (Hz)
9. Consumo custodia (W)
10

5 Preparazione del
L’apparecchio si considera disattivato
soltanto quando l’alimentazione è
prodotto per l'utilizzo
disinserita e i cavi di collegamento con altri
dispositivi sono stati rimossi.
Qualsiasi cambiamento non espressamente
approvato dal costruttore fa decadere la
Manuale di istruzioni - Italiano - IT
L’impianto deve essere dotato di
garanzia e la certicazione.
un dispositivo di scollegamento
immediatamente riconoscibile e utilizzabile
Prima dell’installazione, assicurarsi che
in caso di necessità.
le caratteristiche di alimentazione e
protezione corrispondano a quelle indicate
Prima di eettuare interventi tecnici
nell’ordine originario. L’uso di apparecchi
sull’apparecchio togliere la corrente
non idonei può provocare gravi pericoli e
elettrica.
pregiudicare la sicurezza del personale o
dell’impianto.
Eettuare i collegamenti e le prove in
laboratorio prima dell’installazione nel sito.
5.1 Precauzioni di sicurezza
Utilizzare degli utensili adeguati.
prima dell'utilizzo
Prima di eettuare qualsiasi operazione,
L’impianto elettrico al quale è collegata
assicurarsi che la tensione della linea sia
l’unità deve essere dotato di un circuito di
corretta.
protezione bipolare di potenza massima
di 15A (magnetotermico) provvisto
Non vi sono particolari istruzioni in materia
di interruttore automatico bipolare,
di movimentazione. Si consiglia pertanto
protezione dalla corrente di guasto a terra
al personale addetto di eseguire tale
(magnetotermico + dierenziale) e distanza
operazione nell’osservanza delle norme
minima di 3mm tra i contatti.
comuni di prevenzione degli incidenti.
Accertarsi che tutti gli apparecchi siano
omologati per l’utilizzo nell’ambiente nel
quale saranno installati.
11

Versione bra ottica Single Mode/Multi Mode:
5.2 Disimballaggio e contenuto
• 1 brandeggio antideagrante
5.2.1 Disimballaggio
• 1 tettuccio (2 nella versione con telecamera
Alla consegna del prodotto vericare che l'imballo
termica)
sia integro e non abbia segni evidenti di cadute o
• 1 documento Importanti istruzioni per la sicurezza
abrasioni.
• 3 guaine
In caso di evidenti segni di danno all'imballo
• 6 fascette
contattare immediatamente il fornitore.
• 2 grani di sicurezza
Conservare l'imballo nel caso sia necessario inviare il
prodotto in riparazione.
• 2 adattatori per bra ottica
• Manuale di istruzioni
5.2.2 Contenuto
Controllare che il contenuto sia corrispondente alla
5.3 Smaltimento in sicurezza dei
lista del materiale sotto indicata:
materiali di imballaggio
Versione analogica:
IT - Italiano - Manuale di istruzioni
I materiali d'imballo sono costituiti interamente da
• 1 brandeggio antideagrante
materiale riciclabile. Sarà cura del tecnico installatore
• 1 tettuccio (2 nella versione con telecamera
smaltirli secondo le modalità di raccolta dierenziata
termica)
o comunque secondo le norme vigenti nel Paese di
• 1 documento Importanti istruzioni per la sicurezza
utilizzo.
• 1 guaina
Si ricorda comunque che in caso di ritorno del
• 2 fascette
prodotto con malfunzionamenti è consigliato
l'imballaggio originale per il trasporto.
• 2 grani di sicurezza
• Manuale di istruzioni
Versione IP:
• 1 brandeggio antideagrante
• 1 tettuccio (2 nella versione con telecamera
termica)
• 1 documento Importanti istruzioni per la sicurezza
• 1 guaina
• 2 fascette
• 2 grani di sicurezza
• 1 CD
• Manuale di istruzioni
12

5.4 Lavoro preparatorio prima
5.4.1 Fissaggio a parapetto o a sotto
Collegare l’adattatore (01) al fondo dell’unità
dell’installazione
utilizzando 4 viti a testa svasata piana (02) con
esagono incassato M10x20mm in acciaio inox (A4
Eseguire l’installazione utilizzando utensili
classe 80).
adeguati. Il luogo in cui il dispositivo viene
Manuale di istruzioni - Italiano - IT
installato può tuttavia rendere necessario
Assicurarsi che le lettature siano prive di sporcizia e
l’utilizzo di utensili specici.
residui.
Applicare una buona quantità di frenaletti (Loctite
Scegliere una supercie di installazione
270) sui 4 fori lettati presenti sul fondo della base
sucientemente resistente e adatta a
dell’apparecchio.
sostenere il peso dell’apparecchio, tenendo
Serrare le viti no a 35Nm. Lasciare agire il frenaletti
conto di condizioni ambientali particolari
per un’ora prima di ultimare l’installazione.
come l’esposizione a venti forti.
02
Installare l’apparecchio in modo da evitare
incidenti causati dal contatto con parti
01
in movimento, facendo sì che queste
non urtino contro altri oggetti creando
situazioni pericolose.
Assicurarsi che l’apparecchio sia
saldamente ancorato.
Fig. 5
L’installazione e la manutenzione
dell’apparecchio devono essere eettuate
Fissare l’unità assemblata al muro o al palo
esclusivamente da personale specializzato.
servendosi dei fori esterni dell’adattatore. Utilizzare
viti che possono sostenere un peso almeno 4 volte
Per l’assistenza tecnica rivolgersi
superiore a quello dell’unità.
esclusivamente a personale tecnico
autorizzato.
Poiché la responsabilità della scelta della
Ø 200
supercie di ancoraggio dell’unità ricade
sull’utente, il produttore non fornisce in
35
dotazione i dispositivi di ssaggio per
35
l’ancoraggio dell’unità alla supercie.
L’installatore è pertanto responsabile della
scelta di dispositivi idonei alla supercie a
35
35
sua disposizione. In genere si raccomanda
l’utilizzo di metodi e materiali in grado
Ø 11
di sopportare un peso almeno 4 volte
superiore a quello dell’apparecchio.
8
L’unità può essere installata con dierenti stae e
supporti.
Ø 238
Si raccomanda di utilizzare esclusivamente stae e
Fig. 6
accessori approvati per l’installazione.
13

5.4.2 Fissaggio con staa
5.4.3 Fissaggio con imbracatura da palo
Il supporto può essere ssato direttamente ad un
o modulo adattatore angolare
muro verticale. Utilizzare viti e dispositivi di ssaggio
Per installare l'unità su imbracatura da palo o in
a muro che possono sostenere un peso almeno 4
corrispondenza di un angolo prima di tutto ssare
volte superiore a quello dell’unità.
l’unità di brandeggio al supporto a muro (5.4.2
Per ssare il dispositivo alla staa, utilizzare 4 rondelle
Fissaggio con staa, pagina14).
piane, 4 rondelle grower in acciaio inox e 4 viti a
5.4.3.1 Fissaggio con imbracatura da palo
testa esagonale in acciaio inox (A4 classe 80) da
Per ssare la staa di supporto a muro all’imbracatura
M10x20mm.
a palo, utilizzare 4 rondelle piane, 4 rondelle grower
Assicurarsi che le lettature siano prive di sporcizia e
in acciaio inox e 4 viti a testa esagonale in acciaio inox
residui.
(A4 classe 80) da M10x30mm.
Applicare una buona quantità di frenaletti (Loctite
Assicurarsi che le lettature siano prive di sporcizia e
270) sui 4 fori lettati presenti sul fondo della base
residui.
dell’apparecchio.
Applicare una buona quantità di frenaletti (Loctite
Serrare le viti no a 35Nm. Lasciare agire il frenaletti
270) sulla base dell'unità.
IT - Italiano - Manuale di istruzioni
per un’ora prima di ultimare l’installazione.
Serrare le viti no a 35Nm. Lasciare agire il frenaletti
per un’ora prima di ultimare l’installazione.
Fig. 7
Fig. 8
14

5.4.3.2 Fissaggio con modulo angolare
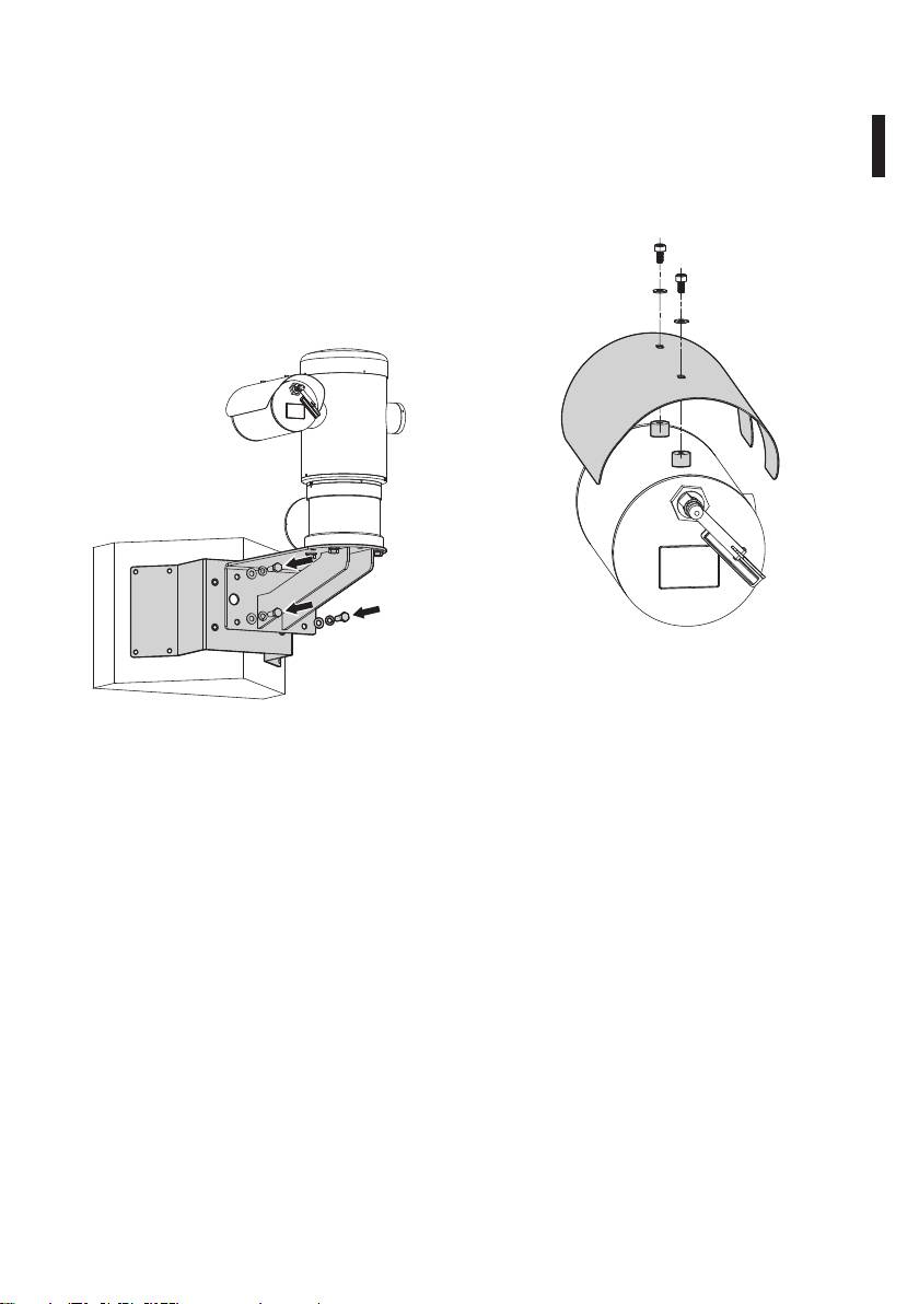
5.4.4 Fissaggio del tettuccio
Per ssare la staa di supporto a muro al modulo
Prima di eseguire il cablaggio ssare il tettuccio alla
adattatore angolare, utilizzare 4 rondelle piane,
custodia utilizzando le viti e rondelle.
4 rondelle grower in acciaio inox e 4 viti a testa
Applicare una buona quantità di frenaletti (Loctite
esagonale in acciaio inox (A4 classe 80) da
270) sui fori lettati.
M10x30mm.
Manuale di istruzioni - Italiano - IT
Lasciare agire il frenaletti per un’ora prima di
Assicurarsi che le lettature siano prive di sporcizia e
ultimare l’installazione.
residui.
Applicare una buona quantità di frenaletti (Loctite
270) sulla base dell'unità.
Serrare le viti no a 35Nm. Lasciare agire il frenaletti
per un’ora prima di ultimare l’installazione.
Fig. 10
Fig. 9
15

6 Assemblaggio e
6.1 Installazione
installazione
6.1.1 Campo di utilizzo
L’impiego dell’unità è denito per l’utilizzo in
Tutti gli interventi e i collegamenti di
postazione ssa per la sorveglianza di zone con
installazione devono essere eseguiti in
atmosfera potenzialmente esplosiva classicate 1-21
atmosfera non esplosiva.
o 2-22 mediante la telecamera incorporata.
La temperatura d’installazione è compresa tra -40°C e
Accertarsi che tutti gli apparecchi siano
60°C (-40°F/140°F).
omologati per l’utilizzo nell’ambiente nel
quale saranno installati.
Il dispositivo è operativo in una gamma di
temperatura compresa tra -40°C e 60°C (-40°F/140°F).
Togliere l’alimentazione elettrica per
L’unità è costruita e certicata in accordo con la
eseguire le procedure seguenti, salvo
direttiva 94/9/CE ATEX e agli standard internazionali
indicazione diversa.
IECEx che ne deniscono il campo di applicazione e i
requisiti minimi di sicurezza.
IT - Italiano - Manuale di istruzioni
L’installazione dell’apparecchio deve essere
L'apparecchio non è stato valutato come un
eseguita esclusivamente da personale
dispositivo di sicurezza correlata (denita dalla
specializzato.
direttiva 94/9/CE allegato II, punto 1.5).
All’avvio il sistema esegue una serie di
6.1.2 Metodi di installazione
movimenti di calibrazione automatici: non
L'unità può essere installata solamente in
sostare nei pressi dell’apparecchio quando
posizione standard o invertita (montaggio a
viene acceso.
sotto). Se installato in quest’ultima posizione, la
ricongurazione delle funzioni di orientamento
Assicurarsi che l’installazione sia conforme
e controllo della telecamera avviene mediante il
alle norme locali.
software di sistema.
VIDEOTEC raccomanda di testare la congurazione
Il funzionamento in posizione invertita non richiede
e le prestazioni dell’apparecchio in un’ocina o
alcuna modica dell’hardware.
laboratorio prima di collocarlo nel sito di installazione
denitivo (6.1.3 Collegamento dei cavi alla base,
pagina17).
Fig. 11
16

6.1.3 Collegamento dei cavi alla base
Il coperchio del vano connessioni può
Prima di eettuare interventi tecnici o di
essere aperto solo per eseguire il cablaggio
manutenzione sull’apparecchio, vericare
del dispositivo. Gli altri tappi devono essere
l’assenza di atmosfera potenzialmente
aperti solo dal produttore.
esplosiva. Per ridurre il rischio di ignizione
Sulla base dell’unità è presente un vano connessioni
Manuale di istruzioni - Italiano - IT
non aprire l’apparecchio in presenza di
con foro lettato da 3/4” NPT per l’ingresso dei cavi.
atmosfera potenzialmente esplosiva.
Svitando il tappo lettato si accede a una scheda
L’impianto elettrico al quale è collegata
di connettori dotata di connettori rimovibili
l’unità deve essere dotato di un circuito di
che facilitano il collegamento dei cavi durante
protezione bipolare di potenza massima
l’installazione.
di 15A (magnetotermico) provvisto
Il grano di arresto è utilizzato per impedire
di interruttore automatico bipolare,
lo svitamento del tappo lettato dal vano
protezione dalla corrente di guasto a terra
connessioni. Rimuoverlo prima di svitare il
(magnetotermico + dierenziale) e distanza
tappo.
minima di 3mm tra i contatti.
Fare riferimento alle immagini e alle informazioni
L’impianto elettrico deve essere dotato
seguenti per collegare i cavi e cablaggi necessari.
di un sezionatore di rete prontamente
Per collegare l’unità di posizionamento rimuovere il
riconoscibile e utilizzabile in caso di
grano di sicurezza, il tappo in plastica e il coperchio
necessità.
lettato.
Il tappo di plastica è disponibile solo per la
Prima di eettuare interventi tecnici
spedizione e non può essere utilizzato per il
sull’apparecchio togliere la corrente
funzionamento.
elettrica.
L’apparecchio si considera disattivato
soltanto quando l’alimentazione è
disinserita e i cavi di collegamento con altri
dispositivi sono stati rimossi.
Non utilizzare cavi di alimentazione con
segni di usura o invecchiamento.
In caso di temperatura superiore a 80°C,
utilizzare cavi idonei. Se l’installazione
avviene in un ambiente con temperatura
inferiore ai -10°C, utilizzare cavi adeguati
alla minima temperatura.
Fig. 12
17

All’interno del vano connessioni è presente una
Per eettuare i cablaggi, scollegare il connettore
scheda di congurazione delle linee seriali e
rimovibile dalla scheda, cablare tutti i cavi elettrici
una scheda dotata di connettori rimovibili che
e reinserire il connettore volante come illustrato in
semplicano la procedura di cablaggio.
seguito.
Cablaggio della telemetria.
F
U
S
E
J3
FUS2
ADDRESS & PROTOCOL
J8
VIDEO - 1
J2
RL2
J4
F
U
RL2
J9
S
E
J6
RL1
A
RL1
B
J8
J3
FUS2
VIDEO - 1
COM
J2
AL5
A
RS485
RL2
AL4
B
VIDEO - 2
RL2
J9
J6
AL3
RL1
A
GND
W
B
AL2
J7
RL1
AL1
GND
COM
AL5
A
RS485
FUS1
VAR1
AC
IN
J1
AL4
B
VIDEO - 2
AL3
GND
F
U
S
E
L
AL2
W
J7
N
AL1
GND
FUS1
VAR1
AC
IN
J1
VAR2
VAR3
100nMBW3
F
U
S
E
L
N
VAR2
VAR3
100nMBW3
IT - Italiano - Manuale di istruzioni
Fig. 13
Fig. 14
6.1.4 Entrata dei cavi
Estrarre il connettore rimovibile J9.
Solo la versione della serie MPXT ha 2 cavi
di uscita coassiali.
Per prevenire il passaggio di amme o esplosioni
dal dispositivo al sistema conduit o pressacavo, e
ADDRESS & PROTOCOL
J4
F
U
S
E
da quest’ultimi all’ambiente esterno, eseguire una
J8
J3
FUS2
J2
VIDEO - 1
RL2
connessione conforme alla norma IEC/EN60079-14.
RL2
J9
J6
RL1
RL1
B
A
COM
AL5
A
RS485
Tutti i pressacavi devono essere certicati "d" e/o
AL4
B
VIDEO - 2
AL3
GND
AL2
W
J7
AL1
GND
"tb", adatti per le condizioni di utilizzo e installati
FUS1
VAR1
AC
IN
J1
F
U
S
E
L
correttamente.
N
VAR2
VAR3
100nMBW3
Quando viene utilizzato il conduit, deve essere
utilizzato un adattatore a prova di esplosione, del tipo
"d" e/o "tb", adatto per le condizioni d'uso e installato
correttamente. Esso deve essere posto entro 25mm
(1in) dal dispositivo.
Fig. 15
18

Collegare i cavi al connettore.
6.1.5 Collegamento della linea di
alimentazione
Eseguire sempre le connessioni elettriche in
assenza di alimentazione e con dispositivo
ADDRESS & PROTOCOL
J4
F
U
S
E
di sezionamento aperto.
Manuale di istruzioni - Italiano - IT
J8
J3
FUS2
VIDEO - 1
J2
RL2
RL2
J9
RL1
A
J6
All’atto dell’installazione controllare che
RL1
B
COM
AL5
A
RS485
AL4
B
VIDEO - 2
le caratteristiche di alimentazione fornita
AL3
GND
AL2
W
J7
AL1
GND
dall’impianto corrispondano a quelle
FUS1
VAR1
AC
IN
J1
F
U
S
E
L
richieste dal dispositivo.
N
VAR2
VAR3
100nMBW3
Assicurarsi che le fonti di alimentazione
e i cavi di collegamento siano in grado di
sopportare il consumo del sistema.
Fig. 16
L’edicio deve avere installato un circuito di
Inserire il connettore nella scheda.
protezione (magnetotermico) bipolare da
15A massimo, che deve essere provvisto di
interruttore bipolare di tipo automatico che
preveda anche la protezione della corrente
di guasto verso terra (magnetotermico +
ADDRESS & PROTOCOL
dierenziale) con distanza minima tra i
J4
F
U
S
E
contatti di 3mm.
J8
J3
FUS2
VIDEO - 1
J2
RL2
RL2
J9
J6
RL1
A
RL1
B
Il dispositivo è disponibile in diverse versioni in base
COM
AL5
A
RS485
AL4
B
VIDEO - 2
AL3
GND
alla tensione di alimentazione: il valore della tensione
AL2
W
J7
AL1
GND
FUS1
VAR1
AC
IN
J1
è indicato sull’etichetta di identicazione.
F
U
S
E
L
N
Cavi di alimentazione da utilizzare: AWG16 (1,5mm²).
VAR2
VAR3
100nMBW3
• Cavo di massa tipo TEWN con sezione trasversale
uguale o maggiore a quella dei cavi di fase e
neutro.
• Cavi di fase e neutro tipo TFFN o MTW.
Fig. 17
Fare scorrere i cavi di alimentazione lungo il
dispositivo di entrata.
Estrarre dalla scheda connettori il connettore maschio
rimovibile J1. Collegare i cavi elettrici di potenza
seguendo l’etichettatura della polarità indicata (Fig.
18, pagina20).
19

Per eseguire collegamenti di messa a terra protettiva
Il cavo di alimentazione deve essere
utilizzare cavi di sezione adeguata (no a 2,5mm² o
coperto con la guaina siliconica (01)
AWG 14).
presente nella dotazione e ssata con
l’apposita fascetta (02). Inoltre tutti i cavi di
segnale devono essere raggruppati con una
fascetta (03).
J1
ADDRESS & PROTOCOL
J4
F
U
S
E
J8
J3
FUS2
VIDEO - 1
J2
RL2
RL2
J9
J6
RL1
A
RL1
B
COM
AL5
A
RS485
AL4
B
VIDEO - 2
AL3
GND
AL2
W
J7
AL1
GND
FUS1
VAR1
AC
IN
J1
IT - Italiano - Manuale di istruzioni
F
U
S
L
Fig. 18
E
N
VAR2
VAR3
100nMBW3
Il cavo di terra deve essere più lungo degli
altri due di circa 10mm per prevenirne
01
02
il distacco accidentale a causa dello
stiramento del cavo.
Fig. 20
COLLEGAMENTO LINEA ALIMENTAZIONE
Colore Morsetti
ADDRESS & PROTOCOL
Alimentazione 24Vac
J4
F
U
S
E
Denito dall'installatore (N) Neutro
J8
J3
FUS2
VIDEO - 1
J2
RL2
RL2
J9
J6
RL1
A
Denito dall'installatore (L) Fase
RL1
B
COM
AL5
A
RS485
AL4
B
VIDEO - 2
Giallo/Verde Terra
AL3
GND
AL2
W
J7
AL1
GND
Alimentazione 230Vac
FUS1
VAR1
AC
IN
J1
F
U
S
L
E
N
Blu (N) Neutro
VAR2
VAR3
100nMBW3
Marrone (L) Fase
Giallo/Verde Terra
Alimentazione 120Vac
Blu (N) Neutro
Fig. 19
Marrone (L) Fase
Giallo/Verde Terra
Tab. 1
20

6.1.6 Collegamento di uno o più cavi
6.1.7 Collegamento di una o più bre
video
ottiche
L'impianto è di tipo CDS (Cable Distribution
Utilizzare bre ottiche adeguate.
System), non collegare a circuiti SELV.
Manuale di istruzioni - Italiano - IT
La trasmissione del video e dati può avvenire tramite
Per ridurre il rischio di incendio usare
bra ottica. Nel caso di brandeggio a telecamera
solamente cavi aventi dimensioni maggiori
singola, nell’unica bra ottica a disposizione, viene
o uguali a 26AWG.
trasmesso sia il segnale video che la telemetria di
Si raccomanda di utilizzare i seguenti cavi coassiali:
controllo. In caso di doppia telecamera, la telemetria
di controllo è presente solamente nella bra ottica
• RG59
n.1 (relativa al video n.1, telecamera visibile) mentre
• RG174A/U UL1354
nella bra ottica n.2 è trasmesso il segnale video
Fare scorrere il cavo (o i cavi) coassiale(i) lungo il
relativo alla telecamera termica.
dispositivo di entrata.
Per trasmettitori su bra Multi Mode, usare bra
Collegare il cavo coassiale mediante un connettore
62.5/125µm con una lunghezza massima di 3km.
maschio BNC da 75 Ohm (non in dotazione) al
Utilizzare un ricevitore per bra Multi Mode modello:
connettore video BNC J6 (ed eventualmente J7).
FORXMM01
• Connettore J6: Uscita principale telecamera.
Per trasmettitori su bra Single Mode, usare bra
9/125µm e con una lunghezza massima di 69km.
• Connettore J7: Telecamera a infrarossi (se
Utilizzare un ricevitore per bra Single Mode modello:
presente).
FORXSM01
Per una corretta installazione:
• Identicare la bra ottica all’interno del vano
connessioni.
J8
J3
FUS2
VIDEO - 1
J2
RL2
RL2
J9
RL1
A
J6
RL1
B
COM
AL5
A
RS485
AL4
B
VIDEO - 2
AL3
GND
AL2
W
J7
AL1
GND
FUS1
VAR1
AC
IN
J1
Fig. 21
L
N
VAR2
VAR3
100nMBW3
Fig. 23
• Inserire la bra ottica nel foro lettato da 3/4” NPT
e intestarla con connettore tipo ST.
Fig. 22
21

• Inserire la guaina siliconica presente nella
La crimpatura va fatta diretta se si passa tramite hub
dotazione.
o switch mentre va eseguita di tipo incrociato se si
collega direttamente a PC per eventuali controlli.
• Unire le 2 bre ottiche mediante l’adattatore ST-ST
fornito in dotazione.
Fig. 24
• Coprire l’adattatore ST-ST con la guaina siliconica
ssandola con l’apposita fascetta.
Fig. 26 Cavo crimpato.
A
1
2
3
4
5
6
7
8
IT - Italiano - Manuale di istruzioni
J8
J3
FUS2
VIDEO - 1
J2
RL2
RL2
J9
RL1
A
J6
RL1
B
COM
AL5
A
RS485
AL4
B
VIDEO - 2
AL3
GND
AL2
W
J7
AL1
GND
1
2
3
4
5
6
7
8
FUS1
VAR1
AC
IN
J1
L
N
VAR2
VAR3
100nMBW3
Fig. 25
• Fare riferimento al manuale del ricevitore bra
ottica per il controllo del video e della telemetria
da remoto.
6.1.8 Collegamento del cavo di rete
ethernet
Collegamento valido solo su versione con
scheda IP.
La trasmissione della telemetria e del
segnale video passano attraverso cavo di
rete ethernet. Non collegare il cavo RS485 e
il cavo video.
Per il collegamento del cavo di rete è necessario
un cavo UTP, Categoria 5E o superiore, 4 coppie,
lunghezza massima 100m.
Eseguire una crimpatura con connettore RJ45 del
cavo ethernet.
22
B
Fig. 27 Cavo dritto.
A
1
2
3
4
5
6
7
8
1
2
3
4
5
6
7
8
B
Fig. 28 Cavo incrociato.
Collegare il cavo di rete crimpato al connettore RJ45
posto sulla base dell’unità.
F
U
S
E
J8
J3
FUS2
VIDEO - 1
J2
RL2
RL2
J9
J6
RL1
A
RL1
B
COM
AL5
A
RS485
AL4
B
VIDEO - 2
AL3
GND
AL2
W
J7
AL1
GND
FUS1
VAR1
AC
IN
J1
F
U
S
E
L
N
VAR2
VAR3
100nMBW3
Fig. 29

Una installazione tipica è quella riportata
• Far scorrere i cavi telemetrici lungo il dispositivo di
nell’esempio sottostante.
entrata.
• Estrarre il connettore femmina rimovibile J9 dalla
scheda di connessione e collegare la scheda ai cavi
telemetrici.
Manuale di istruzioni - Italiano - IT
UTP cat 5E
Hub / SwitchPersonal
J9
Computer
UTP cat 5E
F
U
S
E
J8
J3
FUS2
VIDEO - 1
J2
RL2
RL2
J9
A
J6
RL1
RL1
B
COM
AL5
A
RS485
AL4
B
VIDEO - 2
AL3
GND
AL2
W
J7
AL1
GND
FUS1
VAR1
AC
IN
J1
F
U
S
L
E
N
VAR2
VAR3
100nMBW3
Fig. 31
Fig. 30
• Inserire il connettore cablato nella presa J9.
6.1.9 Collegamento delle linee di
TABELLA COLLEGAMENTO LINEE TELEMETRIA
telemetria
Linea seriale Morsetto Descrizione
L'installazione è di tipo TNV-1, non
RS485-1 A (+) Linea RS485 (1)
collegare a circuiti SELV.
B (-) Linea RS485 (1)
SGND Riferimento linea
Per ridurre il rischio d’incendio, utilizzare
RS485-1
esclusivamente cavi di diametro pari o
RS485-2 A (+) Linea RS485 (2)
superiore a 26AWG (0,35mm²)
B (-) Linea RS485 (2)
Il connettore J9 dà accesso a due linee di
SGND Riferimento linea
comunicazione seriale RS485 (Tab. 2, pagina23).
RS485-2
Le linee sono congurabili in modalità diverse
Tab. 2
secondo l’impostazione del dip-switch
presente sulla scheda di congurazione (6.1.11
Gli ultimi 2 contatti del connettore J9 (W e GND) si
Impostazione dell’indirizzo di unità, del protocollo
riferiscono al monitoraggio del livello del liquido del
di comunicazione e della velocità di trasmissione,
serbatoio di lavaggio esterno (se presente).
pagina25).
Le linee telemetriche collegano l’apparecchio alle
unità di controllo e programmazione (tastiera o PC).
23

6.1.10 Collegamento ad allarmi e relè
6.1.10.1 Collegamento allarme con contatto
pulito (contatto secco)
I contatti degli allarmi sono presenti sul connettore
J3.
Nel caso di allarme a contatto pulito (allarmi AL1, AL2,
AL3, AL4 e AL5), eseguire il collegamento seguente:
J3
Contatto pulito
A1 G
IT - Italiano - Manuale di istruzioni
Fig. 32
Fig. 33
L’unità è dotata di 5 allarmi a contatto pulito e 2 relè
Il contatto pulito di allarme, può essere di tipo NO
di uscita a contatto pulito.
(normalmente aperto) oppure NC (normalmente
chiuso).
COLLEGAMENTO ALLARMI E RELÈ
Per ulteriori dettagli sulla congurazione e l’utilizzo
Terminale Descrizione
degli allarmi fare riferimento al relativo capitolo (
RL2 Relè 2 Terminale A
9.6.6.1 Menù Allarmi, pagina49).
RL2 Relè 2 Terminale B
6.1.10.2 Collegamento dei relè
RL1 Relè 1 Terminale A
RL1 Relè 1 Terminale B
I relè sono utilizzabili solamente per basse
tensioni di lavoro (no a 30Vac oppure
COM A1-A2-A3-A4-A5 allarmi
massa
60Vdc) e con una corrente massima di 1A.
Utilizzare cavi di sezione idonea al carico
AL5 Allarme 5 (contatto pulito)
da controllare e compresa tra un minimo di
AL4 Allarme 4 (contatto pulito)
0,25mm² (AWG 30) e un massimo di 1,5mm²
AL3 Allarme 3 (contatto pulito)
(AWG 16).
AL2 Allarme 2 (contatto pulito)
A causa dell’assenza di polarità, entrambi i terminali
AL1 Allarme 1 (contatto pulito)
di uno stesso relè possono essere utilizzati
Tab. 3
alternativamente con tensioni di corrente alternata o
continua.
Tutti gli allarmi hanno una portata di 200m che può
essere ottenuta mediante un cavo non schermato
Per maggiori informazioni sulla congurazione e
con sezione minima di 0,25mm² (AWG 30).
l’utilizzo dei relè, consultare il relativo capitolo (9.6.6.1
Menù Allarmi, pagina49).
• Far scorrere i cavi degli allarmi lungo il dispositivo
di entrata.
• Fare scorrere i cavi dei relè lungo il dispositivo di
entrata.
• Estrarre il connettore femmina rimovibile J3 dalla
scheda di connessione e collegare i cavi.
• Estrarre il connettore femmina rimovibile J3 dalla
scheda di connessione e collegare cavi del relè.
• Inserire quindi il connettore cablato nel connettore
J3.
• Inserire quindi il connettore cablato nel connettore
J3.
24

6.1.11 Impostazione dell’indirizzo di
6.1.12 Congurazione dei dip-switch
unità, del protocollo di comunicazione e
Collegamento valido solo su versione con
della velocità di trasmissione
scheda IP.
Prima di alimentare il dispositivo, è necessario
Esiste un modo unico per congurare l’unità.
congurarlo correttamente tramite i dip switch
Impostare i DIP esattamente come riportato in
Manuale di istruzioni - Italiano - IT
presenti nell’apposita scheda.
tabella.
Estrarre la scheda di congurazione dal suo
CONFIGURAZIONE SCHEDA IP
connettore J4 presente sulla scheda di connessione.
Indirizzo 1
Protocollo MACRO
J4
Baudrate 38400
Linee seriali RS485 monodirezionale
F
U
S
E
Terminazione linea seriale 1 ON
J8
J3
FUS2
VIDEO - 1
J2
RL2
RL2
J9
J6
RL1
A
Terminazione linea seriale 2 ON
RL1
B
COM
AL5
A
RS485
AL4
B
VIDEO - 2
AL3
GND
Tab. 4
AL2
W
J7
AL1
GND
FUS1
VAR1
AC
IN
J1
F
U
S
L
E
Una volta congurati i dip-switch, si puo richiudere
N
lo sportellino e procedere alla congurazione dei
VAR2
VAR3
100nMBW3
parametri IP del brandeggio.
6.1.13 Impostazione modo verica
settaggi
Fig. 34
Per impostare la modalità di funzionamento agire
Questa scheda è utilizzata per impostare i parametri
sul DIP 2.
di comunicazione delle linee seriali RS485-1 ed
SW 1=ON: Visualizza Congurazione. Da usare
RS485-2 : l’indirizzo del ricevitore, il protocollo di
solo come verica della congurazione alla ne dei
comunicazione e la velocità di trasmissione.
settaggi. Durante il normale utilizzo assicurarsi che la
levetta sia su OFF (SW 1=OFF).
8
O
N
7
6
2
1
3
1
4
3
4 5
5
2
2
DIP 2
0
6
0
A
1
3
9
8
7
4
5
P
I
U
3
D
3
4
1
2
U
2
5
0
N
7
8
6
U
1
O
6
1
9
8
7
1
2
3
4
3
4 5
4
5
2
0
0
A
1
2
I
P
3
6
9
D
8
7
4
2
3
5
4
1
P
I
U
3
5
2
3
4
0
D
2
6
1
5
U
9
8
7
0
6
3
U
1
9
P
8
7
I
4
D
I
P
D
2
3
4
1
5
0
6
9
8
7
3
P
Fig. 35 Scheda indirizzi e protocolli.
I
D
Fig. 36
25

6.1.14 Impostazione del baud rate
6.1.15 Linee di comunicazione seriali
Per impostare il baud rate agire sul DIP 2.
Per impostare le linee di comunicazioni seriali
agire sul DIP 2.
DIP 2
Il prodotto prevede due linee seriali di comunicazione
RS485, che possono essere congurate in vari
7
8
O
N
6
modi secondo la posizione dei dip-switch 5 e 6 del
2
3
4 5
1
1
4
5
2
3
2
0
6
0
A
1
3
selettore del DIP.
9
8
7
4
5
I
P
U
3
D
2
3
4
2
LINEE DI COMUNICAZIONE SERIALI DIP 2
1
5
U
0
6
U
1
9
8
7
4
I
P
D
2
3
4
1
5
0
6
9
7
3
8
P
I
D
Descrizione
SW 1-2-3-4
SW 5
SW 6
SW 7-8
Congurazione (vedi
relativi capitoli)
Fig. 37
IT - Italiano - Manuale di istruzioni
Linee seriali ON ON Linea RS485 TX/RX
I dip-switch 4, 3 e 2 sono utilizzati per impostare la
bidirezionale
velocità di comunicazione del dispositivo secondo la
OFF
ON Linea RS485-1 ricezione,
tabella sotto riportata.
linea RS485-2 ripetizione
IMPOSTAZIONE DEL BAUD RATE DIP 2
ON
OFF
Linea RS422 bidire-
zionale
OFF OFF
Linea RS485 monodire-
zionale
Tab. 6
Descrizione
SW 1
SW 2
SW 3
SW 4
SW 5-6-7-8
Congurazione
Selezione del
ON ON ON 38400 baud
baud rate
OFF
ON ON 19200 baud
ON
OFF
ON 9600 baud
OFF OFF
ON 4800 baud
ON ON
OFF
2400 baud
OFF
ON
OFF
1200 baud
ON
OFF OFF
600 baud
OFF
OFF
OFF
300 baud
Visualizzazione
ON Visualizzazione
congurazioni
abilitata
OFF
Visualizzazione
disabilitata
Tab. 5
26

6.1.15.1 Linea RS485 TX/RX bidirezionale
6.1.15.3 Linea RS422 bidirezionale
Questo tipo di impostazione permette di ottenere
Questa impostazione consente la comunicazione in
una comunicazione bidirezionale half-duplex sulla
full duplex secondo lo standard RS422.
linea RS485-1.
La linea RS485-1 è sempre in ricezione (RS422-RX).
La linea seriale RS485-2 non è utilizzata.
La linea RS485-2 è sempre in trasmissione (RS422-TX).
Manuale di istruzioni - Italiano - IT
Tastiera di
RS485-1
Tastiera di
RS485-1 RS485-2
controllo
controllo
TX/RX
Fig. 38
Fig. 40
6.1.15.2 Linea RS485-1 ricezione, linea
6.1.15.4 Linea RS485 monodirezionale
RS485-2 ripetizione
La prima linea (RS485-1) funzionerà secondo le
Questa impostazione permette di collegare più
impostazioni settate con i dip-switch Indirizzo,
dispositivi in cascata. Il segnale viene rigenerato da
Baudrate e Protocollo.
ogni unità permettendo di aumentare notevolmente
la distanza totale.
La linea RS485-2 non è utilizzata.
Questa impostazione è utilizzabile solo con
Questa impostazione è utilizzabile solo con
protocolli monodirezionali.
protocolli monodirezionali.
In questa congurazione non è possibile
In questa congurazione non è possibile
fare l’aggiornamento del rmware da
fare l’aggiornamento del rmware da
remoto.
remoto.
Tastiera di
Tastiera di
RS485-1RS485-1 RS485-2
RS485-1
controllo
controllo
Fig. 39
Fig. 41
27

6.1.16 Terminazione linee seriali e
I sistemi di posizionamento video del brandeggio
sono comandabili mediante vari protocolli.
collegamenti
IMPOSTAZIONE PROTOCOLLO DIP 1
Per impostare la terminazione delle linee seriali
agire sul DIP 2.
SW 1 SW 2 SW 3 SW 4 Protocollo
Sulla scheda sono presenti due dip-switch usati per
ON OFF ON OFF PANASONIC
congurare la terminazione (120 Ohm) della linea
OFF OFF ON OFF ERNITEC
seriale.
OFF ON OFF OFF SENSORMATIC
Ogni periferica che si trovi a ne linea deve essere
ON OFF OFF OFF PELCO D
terminata utilizzando l’apposito dip-switch in modo
OFF OFF OFF OFF MACRO (VIDEOTEC)
da evitare che si formino riessioni e deformazioni
del segnale.
Tab. 8
I dip-switch 7 e 8 terminano rispettivamente le linee
6.1.18 Impostazione indirizzo
seriali RS485-1 e RS485-2.
Per impostare l'indirizzo agire sui DIP 3, 4 e 5.
TERMINAZIONE LINEE SERIALI DIP 2 E
COLLEGAMENTI
IT - Italiano - Manuale di istruzioni
8
O
N
6
7
2
3
4 5
1
1
4
5
1
2
3
2
0
0
A
6
3
9
8
7
4
5
I
P
U
3
D
2
3
4
1
5
U
2
0
6
U
1
9
8
7
4
I
P
D
2
3
4
1
5
0
6
9
7
Descrizione
SW 1-2-3-4-5-6
SW 7
SW 8
Congurazione
3
8
P
I
D
Terminazione
ON Terminazione RS485-2
linee seriali
abilitata
OFF
Terminazione RS485-2
Fig. 43
disabilitata
Esempio d’impostazione degli indirizzi:
ON Terminazione RS485-1
abilitata
Numero unità 431, dip-switch 3 = 4, dip-switch 4 = 3,
OFF
Terminazione RS485-1
dip-switch 5 = 1.
disabilitata
Dip-switch 3 impostazione cent., Dip-switch 4
Tab. 7
impostazione dec., Dip-switch 5 impostazione unità.
Dopo aver impostato i parametri, ricollegare la
6.1.17 Impostazione protocollo
scheda al connettore J4 della scheda di connessione.
Per impostare il protocollo agire sul DIP 1.
DIP 1
N
7
8
O
6
2
3
1
1
4
3
4 5
5
1
2
0
2
A
0
6
3
9
8
7
4
5
I
P
U
3
D
2
3
4
1
U
2
5
0
6
U
1
9
8
7
4
I
P
D
2
3
4
1
5
0
6
9
8
7
3
P
I
D
Fig. 42
Fig. 44
28

