Videotec MAXIMUS MPXT – page 15
Manual for Videotec MAXIMUS MPXT

MAXIMUS PTZ bietet die Möglichkeit einer
4 Identifizierung
Dauerrotation bei hoher Geschwindigkeit,
Positionierungsgenauigkeit und erhöhte Bildqualität
4.1 Beschreibung und
zusammen mit maximaler Solidität und vereinfachter
Bezeichnung des Produktes
Systemkonguration.
Geschwindigkeit und Präzision sind die
Die explosionssicheren Vorrichtungen der Serie
Haupteigenschaften dieser Vorrichtung, wobei Werte
MAXIMUS sind Positionierungseinheiten (PTZ),
von 100°/s für die horizontale Dauerdrehung erreicht
dazu realisiert, um Verstellungen eines Gehäuses,
werden und eine vertikale Exkursion zwischen -90°
dass eine Videokamera enthält, auf horizontaler
und +90°.
und vertikaler Ebene zu ermöglichen, und zwar in
Industrieumgebungen, wo die Wahrscheinlichkeit
MAXIMUS PTZ steuert die Funktionen Preset,
Bedienungslanleitung - Deutsch - DE
von explosionsgefährdeten Bereichen, hervorgerufen
Autopan und Überwachung mit einem
durch Gas, Dämpfe, Nebel oder Mischungen aus Luft
Genauigkeitsgrad von 0,02°.
oder Staub besteht.
Die Einheit kontrolliert die eigene Position konstant,
Die Vorrichtungen MAXIMUS PTZ, mit eingebauter
um die korrekte Positionierung der Videokamera
Videokamera, sind aus elektropoliertem Edelstahl
in jedem Moment zu garantieren. Diese Funktion
Inox AISI 316L realisiert.
ist besonders nützlich im Falle von ungünstigen
klimatischen Bedingungen wie Wind und starken
Diese Einheit setzt sich hauptsächlich aus einem
Vibrationen.
Untergestell, einem zentralen Körper und einem
Gehäuse für die Fernkamera zusammen.
Die Wahl der integrierten Videokameras SONY kann
mit optischem Zoom 36x oder 28x erfolgen, dies
Es sind Versionen mit einem zweiten Gehäuse für
ermöglicht eine außergewöhnlich präzise Aufnahme
thermische Videokameras erhältlich.
naher oder ferner Gegenstände, mit Funktion
Das Untergestell besitzt ein Anschlussfach, das
"dynamische Maskierung" der Bereiche.
eine einfache Verkabelung des Systems ermöglicht;
Außer der Konguration OSD (Visualisierung auf
in ihm sind die Speiser untergebracht. Es ist eine
dem Bildschirm), besitzt die Anlage eine Schnittstelle
Gewindebohrung 3/4" NPT vorhanden, die für den
RS485 für eine vollständige Kontrolle des Systems
Anschluss verwendet wird, der gemäß der Richtlinie
und für die Fernaktualisierung der letzten
IEC/EN60079-14 ausgeführt werden muss.
Firmwareversion.
Der Hauptkörper nimmt die Motoren für die vertikale
Die vereinfachte Schnittstelle für die Software-
und horizontale Verstellung auf, sowie die CPU-Karte
Konguration ermöglicht den Gebrauch von
und die Videokarte.
Presets oder eine kundenspezische Gestaltung des
Das Gehäuse der Videokamera enthält ein Modul
gesamten Systems.
day/night mit den entsprechenden elektronischen
Bauteilen, eine Heizung und einen vorinstallierten
Scheibenwischer.
Die Vorrichtung PTZ besitzt einen Schutzgrad IP66
und funktioniert bei einer Temperatur zwischen -
40°C und 60°C (-40°F / 140°F).
MAXIMUS PTZ bietet außerdem eine integrierte
Hochleistungstelemetrie für die horizontale/vertikale
Bewegung.
Abb. 2 MPX.
9

4.1.1 Version mit thermischer
Die hohe Sensibilität NEdT 50mK a f/1,0 garantiert
eine optimale Erfassung der thermischen Bilder.
Videokamera
Unterstützt digitalen Zoom 2x oder 4x.
Die Vorrichtung kann auch für die Erfassung von
Es wird eine Auswahl an unterschiedlichen
Bildern mit thermischer Videokamera ausgestattet
Brennweitenlängen von 35mm, 25mm
sein, in einem zweitem Gehäuse installiert, dessen
und 9mm angeboten, je nach nötigen
Fenster (hauptsächlich aus Germaniumglas)
Ermittlungsentfernungen.
Robustheit und Sicherheit garantiert, d.h dieselben
Eigenschaften wie Standard-Glas. (Abb. 3 MPXT.,
Seite10).
Die thermische Videokamera ist ein Mikrobolometer
mit nicht gekühltem Vanadiumoxid (VOx) mit
Spektralband von 7,5-13,5m. Erstellt eine
thermisches Video 320x256 (PAL) und 320x240
(NTSC) mit einer Bildfrequenz von 8,3fps oder 25fps
(PAL) und 7,5 oder 30fps (NTSC).
Abb. 3 MPXT.
4.2 Kennzeichnung des Produkts
04
01
DE - Deutsch - Bedienungslanleitung
02
10
03
05
11
06 07 08 09
Abb. 4
1. Symbol CE
10. ATEX-Zertizierung:
2. Name und Adresse des Herstellers
• Kennzeichnungsnummer ATEX
3. Identizierungscode des Modells
• Klassizierung des Zonentyps, Schutzmethode,
Temperaturklasse für die die Verwendung dieses
4. Umgebungsbetriebstemperatur bezüglich
Produktes gemäß der Richtlinie ATEX zugelassen
Identizierungscode des Modells.
ist.
5. Seriennummer (Jede vom Hersteller nicht
11. IECEx-Zertizierung:
ausdrücklich genehmigte Veränderung führt
zum Verfall der Gewährleistungsrechte.)
• Kennzeichnungsnummer IECEx
6. Versorgungsspannung (V)
• Klassizierung des Zonentyps, Schutzmethode,
Temperaturklasse für die die Verwendung
7. Absorptionsstrom (A)
dieses Produktes gemäß der Richtlinie IECEx
8. Frequenz (Hz)
zugelassen ist.
9. Verbrauch Gehäuse (W)
10

5 Vorbereitung des
Das Gerät ist nur als deaktiviert zu
denieren, wenn die Versorgung
Produktes auf den
abgetrennt ist und die Anschlusskabel an
andere Vorrichtungen entfernt wurden.
Gebrauch
Jede Art von Änderung, die nicht
Der Einbau soll mit einer
ausdrücklich vom Hersteller gebilligt
Absperrvorrichtung ausgestattet sein , die
wurde, lässt die Garantie und die
im Notfall sofort erkennbar und benutzbar
Zertizierung verfallen.
sein soll.
Vor der Installation muss man
Bevor man technische Eingrie am Gerät
Bedienungslanleitung - Deutsch - DE
sicherstellen, dass die Versorgungs- und
vornimmt, muss die elektrische Versorgung
Schutzeigenschaften den Angaben in der
abgetrennt werden.
ursprünglichen Reihenfolge entsprechen.
Der Gebrauch von nicht geeigneten
Vor der Installation die Anschlüsse und
Geräten kann schwere Gefahren
die Laborprüfungen ausführen. Dazu
verursachen und die Sicherheit der
entsprechende Werkzeuge verwenden.
Personen oder der Anlage beeinträchtigen.
Bevor man irgendwelche Operationen
ausführt, muss sichergestellt werden, dass
5.1 Sicherheitsvorkehrungen vor
die Spannung der Leitung korrekt ist.
dem Gebrauch
Das Handling erfordert keine besonderen
Die elektrische Anlage, an die die
Vorkehrungen. Wir empfehlen daher dem
Einheit angeschlossen ist, muss über
zuständigen Personal, diese Operationen
einen zweipoligen Schutzkreislauf
gemäß der allgemeinen Sicherheitsnormen
von einer max. Leistung von 15A
bezüglich Unfallverhütung auszuführen.
verfügen (magnetothermisch), der mit
einem zweipoligen Automatikschalter
ausgestattet sein muss und der auch dem
Schutz vor Fehlerstrom mit Masse dient
(magnetothermisch + Dierenzialschalter),
mit einem Mindestabstand von 3mm
zwischen den Kontakten.
Sicherstellen, dass alle Geräte für den
Gebrauch im Installationsraum zugelassen
sind.
11

Version Glasfaser Single Mode/Multi Mode:
5.2 Entfernen der Verpackung
• 1 Explosionssicherer Schwenk-Neige-Kopf
und Inhalt
• 1 Sonnenschutzdach (2 in Version mit thermischer
5.2.1 Entfernen der Verpackung
Videokamera)
Bei der Lieferung des Produktes ist zu prüfen, ob die
• 1 Dokument Wichtige Hinweise für die Sicherheit
Verpackung intakt ist oder oensichtliche Anzeichen
• 3 Mäntel
von Stürzen oder Abrieb aufweist.
• 6 kabelbinder
Bei oensichtlichen Schadensspuren an der
• 2 Sicherungsstifte
Verpackung muss umgehend der Lieferant
verständigt werden.
• 2 Adapter für Glasfaser
Bewahren Sie die Verpackung auf für den Fall, dass
• Bedienungslanleitung
das Produkt zur Reparatur eingesendet werden muss.
5.3 Sichere Entsorgung der
5.2.2 Inhalt
Verpackungsmaterialien
Prüfen Sie, ob der Inhalt mit der nachstehenden
Materialliste übereinstimmt:
Die Verpackungsmaterialien sind vollständig
wiederverwertbar. Es ist Sache des
Analogversion:
Installationstechnikers, sie getrennt, auf jeden
• 1 Explosionssicherer Schwenk-Neige-Kopf
Fall aber nach den geltenden Vorschriften des
• 1 Sonnenschutzdach (2 in Version mit thermischer
Anwendungslandes zu entsorgen.
Videokamera)
Es wird nochmals empfohlen, mit Fehlfunktionen
• 1 Dokument Wichtige Hinweise für die Sicherheit
behaftetes Material in der Originalverpackung
DE - Deutsch - Bedienungslanleitung
zurückzusenden.
• 1 wellrohr
• 2 kabelbinder
• 2 Sicherungsstifte
• Bedienungslanleitung
IP-Version:
• 1 Explosionssicherer Schwenk-Neige-Kopf
• 1 Sonnenschutzdach (2 in Version mit thermischer
Videokamera)
• 1 Dokument Wichtige Hinweise für die Sicherheit
• 1 wellrohr
• 2 kabelbinder
• 2 Sicherungsstifte
• 1 CD
• Bedienungslanleitung
12

5.4 Auf die Installation
5.4.1 Befestigung an der Brüstung oder
an der Decke
vorbereitende Tätigkeiten
Den Adapter (01) unten an der Einheit anschließen;
Die Installation mit geeigneten Werkzeugen
dazu die 4 Flachsenkschrauben (02) mit
ausführen. Dennoch kann der Ort, an dem
Innensechskant M10x20mm aus Edelstahl Inox (A4
die Vorrichtung installiert wird, den Einsatz
Klasse 80) verwenden.
von Spezialwerkzeugen erfordern.
Sicherstellen, dass die Gewinde ohne Schmutz und
Rückstände sind.
Eine Installationsoberäche auswählen,
Eine ausreichende Menge an Schraubensicherung
die ausreichend widerstandsfähig ist
(Loctite 270) an den 4 Gewindebohrungen unten am
und dazu geeignet, dem Gewicht des
Geräteunterteil anbringen.
Bedienungslanleitung - Deutsch - DE
Gerätes standzuhalten; dabei müssen die
Schrauben 35Nm festziehen. Die Schraubensicherung
besonderen Umgebungsbedingungen wie
1 h lang wirken lassen, dann die Installation beenden.
starker Wind berücksichtigt werden.
02
Das Gerät so installieren, dass Unfälle
durch den Kontakt mit den bewegten
01
Teilen verhindert werden: sie dürfen nicht
gegen andere Gegenstände stoßen und so
Gefahrensituationen hervorrufen.
Sicherstellen, dass das Gerät fest verankert
ist.
Die Installation und die Wartung des
Abb. 5
Gerätes dürfen ausschließlich von
Die zusammengebaute Einheit an der Wand oder
spezialisiertem Fachpersonal ausgeführt
am Mast befestigten; dazu die externen Bohrungen
werden.
am Adapter verwenden. Schrauben verwenden, die
einem Gewicht standhalten können, das mindestens
Für Kundendiensteingrie wenden Sie sich
4 mal größer als das der Einheit ist.
ausschließlich an autorisiertes technisches
Personal.
Da der Benutzer für die Auswahl der
Ø 200
Verankerungsoberäche der Einheit
verantwortlich ist, liefert der Hersteller
35
die Befestigungsvorrichtungen für die
35
Verankerung der Einheit auf der Oberäche
nicht mit. Der Installateur ist daher für die
Auswahl der für die zur Verfügung stehende
35
35
Oberäche geeigneten Vorrichtungen
verantwortlich. Normalerweise empfehlen
Ø 11
wir die Verwendung von Methoden und
Materialien, die in der Lage sind, einem
8
Gewicht standzuhalten, dass 4 Mal größer
als das Gewicht des Gerätes ist.
Ø 238
Die Einheit kann mit verschiedenen Bügeln und
Halterungen installiert werden.
Abb. 6
Wir empfehlen, ausschließlich Bügel und Zubehör zu
verwenden, die für die Installation geeignet sind.
13

5.4.2 Befestigung mit Bügel
5.4.3 Befestigung durch Mastverseilung
Die Halterung kann direkt an einer vertikalen
oder Winkeladaptermodul
Wand befestigt werden. Schrauben und
Um die Einheit an der Mastverseilung zu installieren
Wandbefestigungsvorrichtungen verwenden, die
bzw. in Übereinstimmung eines Winkels muss man in
einem Gewicht standhalten können, das mindestens
erster Linie die Schwenk-Neige-Kopf-Einheit an der
viermal größer als das der Einheit ist.
Wandhalterung befestigen. (5.4.2 Befestigung mit
Um die Vorrichtung am Bügel zu befestigen
Bügel, Seite14).
verwendet man 4 ache Unterlegescheiben, 4
5.4.3.1 Befestigung an Mastverseilung
Grower-Unterlegescheiben aus Edelstahl und 4
Um den Wandhalterungsbügel an der Mastverseilung
Sechskantschrauben aus Edelstahl (A4 Klasse 80)
zu befestigen verwendet man 4 ache
M10x20mm.
Unterlegescheiben, 4 Grower-Unterlegescheiben aus
Sicherstellen, dass die Gewinde ohne Schmutz und
Edelstahl und 4 Sechskantschrauben aus Edelstahl
Rückstände sind.
(A4 Klasse 80) M10x30mm.
Eine ausreichende Menge an Schraubensicherung
Sicherstellen, dass die Gewinde ohne Schmutz und
(Loctite 270) an den 4 Gewindebohrungen unten am
Rückstände sind.
Geräteunterteil anbringen.
Eine ausreichende Menge an Schraubensicherung
Schrauben 35Nm festziehen. Die Schraubensicherung
(Loctite 270) unten an der Einheit anbringen.
1 h lang wirken lassen, dann die Installation beenden.
Schrauben 35Nm festziehen. Die Schraubensicherung
1 h lang wirken lassen, dann die Installation beenden.
DE - Deutsch - Bedienungslanleitung
Abb. 7
Abb. 8
14

5.4.3.2 Befestigung mit Winkelmodul
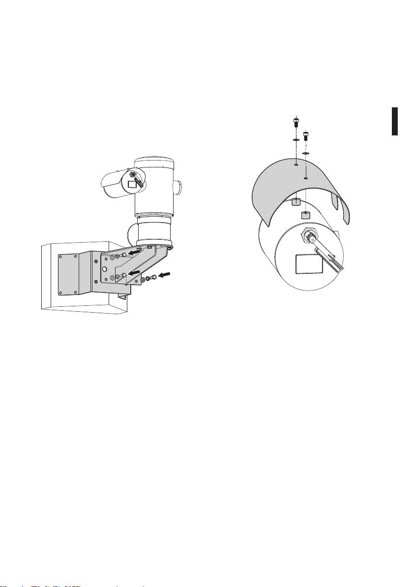
5.4.4 Befestigung des Dachs
Um den Halterungsbügel am Winkeladaptermodul
Bevor man die Verkabelung ausführt, befestigt
zu befestigen verwendet man 4 ache
man das Dach mithilfe der Schrauben und
Unterlegescheiben, 4 Grower-Unterlegescheiben aus
Unterlegescheiben am Gehäuse.
Edelstahl und 4 Sechskantschrauben aus Edelstahl
Eine ausreichende Menge an Schraubensicherung
(A4 Klasse 80) M10x30mm.
(Loctite 270) an den Gewindebohrungen anbringen.
Sicherstellen, dass die Gewinde ohne Schmutz und
Die Schraubensicherung 1 h lang wirken lassen, dann
Rückstände sind.
die Installation beenden.
Eine ausreichende Menge an Schraubensicherung
(Loctite 270) unten an der Einheit anbringen.
Schrauben 35Nm festziehen. Die Schraubensicherung
Bedienungslanleitung - Deutsch - DE
1 h lang wirken lassen, dann die Installation beenden.
Abb. 10
Abb. 9
15

6 Zusammenbau und
6.1 Installation
Installation
6.1.1 Benutzerfeld
Die Einheit ist für den Gebrauch an einem festen Ort
Alle Eingrie und Installationsanschlüsse
für die Überwachung mit eingebauter Videokamera
dürfen nur in nicht explosionsgefährdeten
eines potenziell explosionsgefährdeten Bereichs, 1-21
Bereichen ausgeführt werden.
oder 2-22 klassiziert, realisiert worden.
Die Installationstemperatur liegt zwischen -40°C und
Sicherstellen, dass alle Geräte für den
60°C (-40°F/140°F).
Gebrauch im Installationsraum zugelassen
sind.
Die Vorrichtung ist betriebsbereit in einem
Temperaturbereich zwischen -40°C und 60°C
Die elektrische Versorgung abtrennen,
(-40°F/140°F).
um die folgende Prozedur auszuführen
Die Einheit wurde gemäß der Richtlinie 94/9/
(abgesehen anderer Angaben).
EG ATEX und den internationalen Standards
IECEx, die den Anwendungsbereich und die
Die Installation des Gerätes darf
Sicherheitsmindestanforderungen festsetzen,
ausschließlich von spezialisiertem
hergestellt und zertiziert.
Fachpersonal ausgeführt werden.
Dieses Gerät wurde nicht als ein sicherheitsrelevantes
Bauteil bewertet (deniert von Richtlinie 94/9/EG
Beim Start führt das System eine Reihe
Anhang II, Punkt 1.5).
von automatischen Eichungsbewegungen
aus: Halten Sie sich nicht in der Nähe des
6.1.2 Installationsmethoden
DE - Deutsch - Bedienungslanleitung
Gerätes auf, wenn es eingeschaltet wird.
Die Einheit kann nur in Standardposition oder
invertiert (Deckenmontage) installiert werden.
Sicherstellen, dass die Installation gemäß
Wenn es in letzterer Position installiert wird, erfolgt
der lokalen Normen ausgeführt wurde.
die Neukonguration der Orientierungs- und
Kontrollfunktionen der Videokamera über die
VIDEOTEC empehlt, vor der endgültigen Montage
Systemsoftware.
am Installationsort die Konguration und die
Leistungen des Gerätes in einer Werkstatt oder
Der Betrieb in invertierter Position erfordert keinerlei
in einem Laboratorium prüfen zu lassen. (6.1.3
Änderung der Hardware.
Anschließen der Kabel an die Basis, Seite17).
Abb. 11
16

6.1.3 Anschließen der Kabel an die Basis
Der Deckel des Anschlussfaches darf nur
Bevor man technische Eingrie oder
geönet werden, um die Verkabelung der
Wartungsoperationen am Gerät ausführt,
Vorrichtung auszuführen. Die anderen
muss sichergestellt werden, dass die Zone
Verschlussdeckel dürfen nur vom Hersteller
nicht potenziell explosionsgefährdet
geönet werden.
ist. Um das Risiko einer Zündung zu
Am Untergestell des Anschlussfachs bendet sich
verhindern, darf man das Gerät nicht
eine Gewindebohrung 3/4” NPT für den Eingang der
bei potenziell explosionsgefährdeter
Kabel.
Atmosphäre önen.
Wenn man den Gewindeverschluss abschraubt
Die elektrische Anlage, an die die
greift man auf eine Steckerkarte mit entfernbaren
Bedienungslanleitung - Deutsch - DE
Einheit angeschlossen ist, muss über
Steckern zu, die den Anschluss der Kabel während
einen zweipoligen Schutzkreislauf
der Installation erleichtern.
von einer max. Leistung von 15A
Der Sperrstift dient dazu zu verhindern,
verfügen (magnetothermisch), der mit
dass der Gewindeverschluss vom
einem zweipoligen Automatikschalter
Anschlussfach abgeschraubt wird. Vor dem
ausgestattet sein muss und der auch dem
Abschrauben des Verschlusses muss er
Schutz vor Fehlerstrom mit Masse dient
entfernt werden.
(magnetothermisch + Dierenzialschalter),
mit einem Mindestabstand von 3mm
Siehe nachfolgende Abbildungen und Informationen,
zwischen den Kontakten.
für den Anschluss der Kabel und der nötigen
Verkabelungen.
Die elektrische Anlage muss mit einem
Für den Anschluss der Positionierungseinheit entfernt
Netztrennschalter versehen sein, der im
man den Sicherungsstift, den Kunststoppverschluss
Bedarfsfall sofort erkannt und gebraucht
und den Gewindedeckel.
werden kann.
Der Plastikverschluss darf nur für die Spedition
verwendet werden und nicht während des Betriebs.
Bevor man technische Eingrie am Gerät
vornimmt, muss die elektrische Versorgung
abgetrennt werden.
Das Gerät ist nur als deaktiviert zu
denieren, wenn die Versorgung
abgetrennt ist und die Anschlusskabel an
andere Vorrichtungen entfernt wurden.
Es dürfen keine Versorgungskabel
mit Verschleiß- oder Alterungsspuren
verwendet werden.
Im Falle von Temperaturen über 80°C,
entsprechende Kabel verwenden. Wenn
Abb. 12
die Installation in einer Umgebung
mit Temperaturen unter -10°C erfolgt,
müssen entsprechende Kabel für die
Mindesttemperatur verwendet werden.
17

Im Anschlussfach bendet sich eine
Um die Verkabelung durchzuführen, trennt man den
Kongurationskarte der seriellen Linien und eine
entfernbaren Verbinder von der Karte ab, verkabelt
Karte mit entfernbaren Steckern, die die Verkabelung
alle elektrischen Kabel und fügt das Steckergehäuse
vereinfachen.
wieder ein, siehe nachfolgende Abbildung.
Telemetrieverkabelung
F
U
S
E
J8
J3
FUS2
ADDRESS & PROTOCOL
VIDEO - 1
J2
RL2
J4
F
U
S
E
RL2
J9
RL1
A
J6
RL1
B
J8
J3
FUS2
VIDEO - 1
COM
J2
AL5
A
RS485
RL2
J9
AL4
B
VIDEO - 2
RL2
J6
AL3
GND
RL1
A
AL2
W
J7
RL1
B
AL1
GND
COM
AL5
A
RS485
FUS1
VAR1
AC
IN
J1
AL4
B
VIDEO - 2
AL3
GND
F
U
S
E
L
AL2
W
J7
N
AL1
GND
FUS1
VAR1
AC
IN
J1
VAR2
VAR3
F
U
S
E
L
100nMBW3
N
VAR2
VAR3
100nMBW3
Abb. 13
Abb. 14
6.1.4 Kabeleingang
Den entfernbaren Verbinder J9 herausziehen.
Nur die Version der Serie MPXT hat 2
DE - Deutsch - Bedienungslanleitung
koaxiale Ausgangskabel.
Um den Durchgang von Flammen oder Explosionen
von der Vorrichtung auf das Leitungssystem oder die
ADDRESS & PROTOCOL
J4
F
U
S
E
Kabelverschraubung und von diesen wiederum auf
J8
J3
FUS2
J2
VIDEO - 1
RL2
RL2
J9
die Außenumgebung zu verhindern, muss man einen
J6
RL1
RL1
B
A
COM
Anschluss gemäß EC/EN60079-14 ausführen.
AL5
A
RS485
AL4
B
VIDEO - 2
AL3
GND
AL2
W
J7
AL1
GND
Alle Kabelverschraubungen müssen "d" und/oder "tb"
FUS1
VAR1
AC
IN
J1
F
U
S
E
L
zertiziert, geeignet für die Betriebsbedingungen,
N
VAR2
VAR3
und korrekt installiert sein.
100nMBW3
Wenn das Conduit verwendet wird, muss man einen
explosionssicheren Adapter verwenden, Typ "d" e/o
"tb", geeignet für die Gebrauchsbedingungen und
korrekt installiert. Es muss innerhalb eines Abstands
von 25mm (1in) von der Vorrichtung positioniert
Abb. 15
werden.
18

Die Kabel am Verbindungsstecker anschließen.
6.1.5 Anschluss der Stromversorgung
Die elektrischen Anschlüsse nur
durchführen, wenn die Versorgung
abgetrennt und die Trennvorrichtung oen
ADDRESS & PROTOCOL
ist.
J4
F
U
S
E
J8
J3
FUS2
VIDEO - 1
J2
RL2
RL2
J9
A
J6
RL1
Im Zuge der Installation ist zu prüfen,
RL1
B
COM
AL5
A
RS485
ob die Merkmale der von der Anlage
AL4
B
VIDEO - 2
AL3
GND
AL2
W
J7
bereitgestellten Versorgung mit den
AL1
GND
FUS1
VAR1
AC
IN
J1
F
U
S
E
L
erforderlichen Merkmalen der Einrichtung
N
übereinstimmen.
VAR2
VAR3
Bedienungslanleitung - Deutsch - DE
100nMBW3
Sicherstellen, dass die Versorgungsquellen
und die Anschlusskabel in der Lage sind,
dem Verbrauch des Systems standzuhalten.
Abb. 16
Im Gebäude muss ein zweipoligen
Einfügen des Verbinders in die Karte.
Schutzkreislauf von max. 15A installiert
sein (magnetothermisch), der mit
einem zweipoligen Automatikschalter
ausgestattet sein muss und der auch dem
ADDRESS & PROTOCOL
Schutz vor Fehlerstrom mit Masse dient
J4
F
U
S
E
(magnetothermisch + Dierenzialschalter),
J8
J3
FUS2
VIDEO - 1
J2
RL2
RL2
J9
mit einem Mindestabstand von 3mm
RL1
A
J6
RL1
B
COM
zwischen den Kontakten.
AL5
A
RS485
AL4
B
VIDEO - 2
AL3
GND
AL2
W
J7
AL1
GND
Die Vorrichtung ist in unterschiedlichen Versionen
FUS1
VAR1
AC
IN
J1
F
U
S
E
L
N
verfügbar, je nach Versorgungsspannung: Der
VAR2
VAR3
Spannungswert ist auf dem Identizierungsetikett
100nMBW3
angegeben.
Zu verwendende Versorgungskabel: AWG16
(1,5mm²).
Abb. 17
• Kabel Masse Typ TEWN mit Querschnitt gleich oder
größer dem der Kabel der Phase und Nullleiter.
• Phasenkabel und Nullleiter Typ TFFN oder MTW.
Die Versorgungskabel entlang der
Eingangsvorrichtung führen.
Herauszuziehen aus der Karte der Verbinder ist
der entfernbare Kontaktstift J1. Die elektrischen
Leistungskabel gemäß der angebrachten
Etikettierung der Polarität anschließen (Abb. 18, Seite
20).
19

Für den Erdungsschutzanschluss verwendet man
Ferner muss das Versorgungskabel von
Kabel mit entsprechendem Querschnitt (2,5mm² oder
einer Silikonummantelung (01) überzogen
AWG 14).
sein, die im Lieferumfang enthalten ist und
mit dem zugehörigen Binder (02) xiert
wird. Außerdem müssen alle Signalkabel
mit einem Kabelbinder zusammengefasst
werden (03).
J1
ADDRESS & PROTOCOL
J4
F
U
S
E
J8
J3
FUS2
VIDEO - 1
J2
RL2
RL2
J9
RL1
A
J6
RL1
B
COM
AL5
A
RS485
AL4
B
VIDEO - 2
AL3
GND
AL2
W
J7
AL1
GND
Abb. 18
FUS1
VAR1
AC
IN
J1
F
U
S
L
E
N
Das Erdungskabel muss um etwa 10mm
VAR2
VAR3
100nMBW3
länger sein, als die anderen beiden Kabel,
um das ungewollte Lösen durch Ziehen des
01
02
Kabels zu verhindern.
DE - Deutsch - Bedienungslanleitung
Abb. 20
ANSCHLUSS VERSORGUNGSLEITUNG
ADDRESS & PROTOCOL
Farbe Klemmen
J4
F
U
S
E
Stromversorgung 24Vac
J8
J3
FUS2
VIDEO - 1
J2
RL2
RL2
J9
A
J6
Vom Installateur festgelegt. (N) Nullleiter
RL1
RL1
B
COM
AL5
A
RS485
VIDEO - 2
Vom Installateur festgelegt. (L) Phase
AL4
B
AL3
GND
AL2
W
J7
AL1
GND
Gelb/Grün Erdung
FUS1
VAR1
AC
IN
J1
F
U
S
L
E
N
Netzteil 230Vac
VAR2
VAR3
100nMBW3
Blau (N) Nullleiter
Braun (L) Phase
Gelb/Grün Erdung
Netzteil 120Vac
Abb. 19
Blau (N) Nullleiter
Braun (L) Phase
Gelb/Grün Erdung
Tab. 1
20

6.1.6 Anschluss von einem oder
6.1.7 Anschluss einer oder mehrerer
mehrerer Videokabel
Glasfaser
Die Anlage gehört zum Typ CDS (Cable
Entsprechende Glasfasern verwenden.
Distribution System), nicht an Kreisläufe
SELV anschließen.
Die Übertragung des Videos und der Daten erfolgt
mit Glasfaser. Im Falle von Schwenk-Neige-Kopf
Zur Senkung der Brandgefahr dürfen nur
mit einzelner Videokamera, wird in der einzigen
Kabel benutzt werden, die mindestens der
verfügbaren Glasfaser sowohl das Videosignal als
Größe 26AWG entsprechen.
auch die Kontroll-Telemetrie übertragen. Im Falle
Wir empfehlen die Verwendung der folgenden
einer doppelten Videokamera ist die Kontroll-
Bedienungslanleitung - Deutsch - DE
Koaxialkabel:
Telemetrie nur in der Glasfaser Nr.1 (bezüglich Video
Nr.1, Telekamera sichtbar) vorhanden, während in
• RG59
der Glasfaser Nr. 2 das Videosignal bezüglich der
• RG174A/U UL1354
thermischen Videokamera übertragen wird.
Das/Die Koaxialkabel entlang der
Für Sender auf Multi Mode Faser, verwenden Sie Faser
Eingangsvorrichtung führen.
62.5/125µm mit max. Länge von 3km. Verwenden
Das Koaxialkabel mit einem Kontaktstift BNC/75 Ohm
Sie einen Empfänger für Multi Mode Faser Modell:
(nicht mitgeliefert) an den Videostecker BNC J6 (und
FORXMM01
eventuell J7) anschließen.
Für Sender auf Single Mode Faser, verwenden Sie
• Steckverbinder J6: Hauptausgang Videokamera.
Faser 9/125µm mit max. Länge von 69km. Verwenden
Sie einen Empfänger für Single Mode Faser Modell:
• Steckverbinder J7: Infrarot-Videokamera (falls
FORXSM01
vorhanden).
Für eine korrekte Installation:
• Die Glasfaser im Inneren des Anschlussfaches
identizieren.
J8
J3
FUS2
VIDEO - 1
J2
RL2
RL2
J9
A
J6
RL1
RL1
B
COM
AL5
A
RS485
AL4
B
VIDEO - 2
AL3
GND
AL2
W
J7
AL1
GND
FUS1
VAR1
AC
IN
J1
L
N
Abb. 21
VAR2
VAR3
100nMBW3
Abb. 23
• Einfügen der Glasfaser in die Gewindebohrung
3/4” NPT und eintragen als Verbinder Typ ST.
Abb. 22
21

• Einfügen des mitgelieferten Silikonmantels.
Dies hat direkt zu erfolgen, wenn man über Hub oder
Switch geht, oder über Kreuz, wenn der Anschluss für
• Die beiden Glasfasern mit dem Adapter ST-ST
eventuelle Kontrollen direkt am PC vorgenommen
(mitgeliefert) verbinden.
wird.
Abb. 24
• Den Adapter ST-ST mit einem Silikonmantel
abdecken und mit der entsprechenden Schelle
befestigen.
Abb. 26 Gecrimptes Kabel.
A
1
2
3
4
5
6
7
8
J8
J3
FUS2
VIDEO - 1
J2
RL2
RL2
J9
J6
RL1
A
RL1
B
COM
AL5
A
RS485
AL4
B
VIDEO - 2
AL3
GND
AL2
W
J7
AL1
GND
FUS1
VAR1
AC
IN
J1
L
1
2
3
4
5
6
7
8
N
B
VAR2
VAR3
100nMBW3
DE - Deutsch - Bedienungslanleitung
Abb. 27 Gerades Kabel.
A
1
2
3
4
5
6
7
8
Abb. 25
• Siehe Handbuch des Glasfaserempfängers für die
Fernsteuerung des Video und der Telemetrie.
6.1.8 Anschluss der Ethernet-Netz-Kabel
1
2
3
4
5
6
7
8
B
Funktionsmodus nur bei IP-Version gültig.
Abb. 28 Kreuzkabel.
Die Übertragung der Telemetrie und des
Das gecrimpte Netzkabel an den Steckverbinder
Videosignals erfolgt über das Ethernet-
RJ45 anschließen, der sich auf der Basis der Einheit
Netzkabel. Nicht das Kabel RS485 und das
bendet.
Videokabel anschließen.
Für den Anschluss des Netzkabels ist ein Kabel UTP,
Kategorie 5E oder höher, vierpaarig, Höchstlänge
100m erforderlich.
F
U
S
E
Das Ethernetkabel mit dem Steckverbinder RJ45
J8
J3
FUS2
VIDEO - 1
J2
crimpen.
RL2
RL2
J9
J6
RL1
A
RL1
B
COM
AL5
A
RS485
AL4
B
VIDEO - 2
AL3
GND
AL2
W
J7
AL1
GND
FUS1
VAR1
AC
IN
J1
F
U
S
E
L
N
VAR2
VAR3
100nMBW3
Abb. 29
22

Eine typische Installation zeigt das nachstehende
• Die Telemetriekabel entlang der
Beispiel.
Eingangsvorrichtung führen.
• Die entfernbare Steckerbuchse J9 von der
Anschlusskarte herausziehen und die Karte an die
Telemetriekabel anschließen.
UTP cat 5E
Hub / SwitchPersonal
J9
Computer
UTP cat 5E
F
U
S
E
J8
J3
FUS2
VIDEO - 1
J2
RL2
RL2
J9
J6
RL1
A
Bedienungslanleitung - Deutsch - DE
RL1
B
COM
AL5
A
RS485
AL4
B
VIDEO - 2
AL3
GND
AL2
W
J7
AL1
GND
FUS1
VAR1
AC
IN
J1
F
U
S
L
E
N
VAR2
VAR3
100nMBW3
Abb. 31
Abb. 30
• Einfügen des verkabelten Verbinders in die
6.1.9 Anschluss der Telemetrieleitungen
Steckdose J9.
Die Anlage gehört zum Typ TNV-1, nicht an
TABELLE ANSCHLUSS TELEMETRIELEITUNGEN
Kreisläufe SELV anschließen.
Serielle linie Klemme Beschreibung
RS485-1 A (+) Linie RS485 (1)
Zur Senkung der Brandgefahr dürfen nur
Kabel benutzt werden, die mindestens der
B (-) Linie RS485 (1)
Größe 26AWG (0,35mm²) entsprechen
SGND Linienbegri
RS485-1
Der Verbinder J9 ermöglicht den Zugang zu zwei
RS485-2 A (+) Linie RS485 (2)
seriellen Datenaustauschlinien RS485 (Tab. 2, Seite
B (-) Linie RS485 (2)
23).
SGND Linienbegri
Die Leitungen können in unterschiedlichen
RS485-2
Modalitäten konguriert werden, je nach Einstellung
des Dip-Switch an der Kongurationskarte.
Tab. 2
(6.1.11 Einstellung der Adresse der Einheit,
Die letzten 2 Kontakte des Verbinders J9 (W und
des Kommunikationsprotokolls und der
GND) beziehen sich auf die Überwachung des
Übertragungsgeschwindigkeit., Seite25).
Flüssigkeitsniveaus des Tanks für das Waschen außen
Die Telemetrieleitungen verbinden das Gerät mit der
(falls vorhanden).
Kontroll- und Programmierungseinheit (Tastatur oder
PC).
23

6.1.10 Anschluss an Alarme und Relais
6.1.10.1 Anschluss Alarm mit
potenzialfreiem Kontakt (Trockenkontakt)
Die Kontakte der Alarme benden sich am Verbinder
J3.
Im Falle von Alarm mit potentialfreiem Kontakten
(Alarme AL1, AL2, AL3, AL4 und AL5), muss folgender
Anschluss ausgeführt werden:
J3
Potenzialfreier
Kontakt
A1 G
Abb. 32
Abb. 33
Die Einheit ist mit 5 Alarmen mit potentialfreien
Kontakten ausgestattet und mit 2 Ausgangsrelais mit
Der potenzialfreie Kontakt kann vom Typ
potentialfreien Kontakten.
NO (normalerweise oen) oder vom Typ NC
(normalerweise geschlossen) sein.
ANSCHLUSS DER ALARME UND RELAIS
Finden Sie weitere Einzelheiten zur Konguration und
DE - Deutsch - Bedienungslanleitung
Terminal Beschreibung
Benutzung der Alarme im entsprechenden Kapitel (
RL2 Relais 2 Terminal A
9.6.6.1 Menü Alarme, Seite49).
RL2 Relais 2 Terminal B
6.1.10.2 Anschluss der Relais
RL1 Relais 1 Terminal A
RL1 Relais 1 Terminal B
Die Relais können nur für niedrige
Betriebsspannungen (bis zu 30Vac oder
COM A1-A2-A3-A4-A5 Alarme
Masse
60Vdc) verwendet werden und mit einem
Höchststrom von 1A. Kabel mit einem
AL5 Allarm 5 (potentialfreier
für die Last geeignetem Querschnitt
Kontakt)
verwenden, und zwar zwischen einem
AL4 Allarm 4 (potentialfreier
Minimum von 0,25mm² (AWG 30) und
Kontakt)
einem Maximum von 1,5mm² (AWG 16).
AL3 Allarm 3 (potentialfreier
Kontakt)
Wegen der Abwesenheit von Polarität können beide
AL2 Allarm 2 (potentialfreier
Klemmen desselben Relais abwechselnd mit Gleich-
Kontakt)
oder Wechselstromspannung verwendet werden.
AL1 Allarm 1 (potentialfreier
Für weitere Informationen über die Konguration
Kontakt)
und den Gebrauch der Relais konsultieren Sie die
Tab. 3
entsprechenden Kapitel. (9.6.6.1 Menü Alarme, Seite
49).
Alle Alarme haben eine Reichweite von 200m,
die mithilfe eines nicht abgeschirmten Kabels mit
• Die Kabel der Relais entlang der
Mindestquerschnitt von 0,25mm² (AWG 30) erzielt
Eingangsvorrichtung führen.
werden kann.
• Die entfernbare Steckerbuchse J3 von der
• Die Kabel der Alarme entlang der
Anschlusskarte herausziehen und die Relaiskabel
Eingangsvorrichtung führen.
anschließen.
• Die entfernbare Steckerbuchse J3 von der
• Dann den verkabelten Verbinder in die Steckdose
Anschlusskarte herausziehen und die Kabel
J3 einfügen.
anschließen.
• Dann den verkabelten Verbinder in die Steckdose
J3 einfügen.
24

6.1.11 Einstellung der Adresse der
6.1.12 Konguration der Dip-Switches
Einheit, des Kommunikationsprotokolls
Funktionsmodus nur bei IP-Version gültig.
und der Übertragungsgeschwindigkeit.
Es gibt eine einheitliche Methode, um die Einheit zu
Bevor man die Vorrichtung versorgt muss man sie
kongurieren. Stellen Sie die DIP genau so ein, wie in
mithilfe des Dip-Switch an der entsprechenden Karte
der Tabelle aufgeführt.
korrekt kongurieren.
KONFIGURATION KARTE IP
Die Kongurationskarte von ihrem Stecker J4 an der
Anschlusskarte herausziehen.
Adresse 1
Protokoll MACRO
Baudrate 38400
J4
Bedienungslanleitung - Deutsch - DE
Serielle Leitungen RS485 monodirektional
Abschluss serielle Linie 1 ON
F
U
S
E
J8
J3
FUS2
VIDEO - 1
Abschluss serielle Linie 2 ON
J2
RL2
RL2
J9
J6
RL1
A
RL1
B
COM
Tab. 4
AL5
A
RS485
AL4
B
VIDEO - 2
AL3
GND
AL2
W
J7
AL1
GND
Nach der Konguration der Dipschalter kann
FUS1
VAR1
AC
IN
J1
F
U
S
L
E
die Klappe wieder geschlossen werden, um die
N
IP-Parameter des Schwenk-Neige-Kopfes zu
VAR2
VAR3
100nMBW3
kongurieren.
6.1.13 Vorgabe des
Einstellungsprüfmodus
Abb. 34
Zur Festlegung des Funktionsmodus auf DIP 2
Diese Karte wird dazu verwendet, um die Parameter
eingreifen.
für den Datenaustausch der seriellen Linien
SW 1=ON: Anzeige Konguration. Nur verwenden,
RS485-1 und RS485-2 einzustellen: Die Adresse des
um die Konguration nach Vornahme der
Empfängers, das Kommunikationsprotokoll und die
Einstellungen zu prüfen. Während des normalen
Übertragungsgeschwindigkeit.
Betriebes ist sicherzustellen, dass der kleine Hebel auf
OFF steht (SW 1=OFF).
8
O
N
6
7
2
3
4 5
1
1
4
2
3
2
DIP 2
5
0
A
1
0
3
9
8
7
6
4
5
P
I
U
3
D
2
3
4
1
U
2
5
7
8
0
6
U
1
O
N
6
1
9
8
7
1
2
3
4
3
4 5
4
2
0
5
0
A
1
2
3
I
P
6
9
8
7
D
4
2
3
5
4
1
P
I
U
3
5
2
3
4
0
D
2
6
1
5
U
9
8
7
0
6
3
U
1
9
P
8
7
I
4
D
I
P
D
2
3
4
1
5
0
6
9
8
7
3
P
I
Abb. 35 Karte Adresse und Protokoll.
D
Abb. 36
25

6.1.14 Einstellung der Baud Rate
6.1.15 Serielle Übertragungsleitungen
Zur Festlegung der Baud Rate auf DIP 2
Zur Festlegung der seriellen
eingreifen.
Übertragungsleitungen auf DIP 2 eingreifen.
Das Produkt sieht zwei serielle Datenaustauschlinien
DIP 2
RS485 vor, die auf unterschiedliche Weise konguriert
werden können, je nach Position der Dip-Switch 5
8
O
N
6
7
und 6 des Wahlschalters des DIP.
2
3
1
1
4
3
4 5
5
1
2
2
0
6
0
A
3
9
8
7
4
SERIELLE ÜBERTRAGUNGSLEITUNGEN DIP 2
5
P
I
U
3
D
1
2
3
4
2
5
U
0
6
U
1
9
8
7
4
I
P
D
2
3
4
1
5
0
6
9
8
7
3
P
I
D
Beschreibung
SW 1-2-3-4
SW 5
SW 6
SW 7-8
Konguration (siehe
entsprechende
Kapitel)
Abb. 37
Serielle
ON ON Leitung RS485 TX/RX
Leitungen
bidirektional
Die Dipschalter 4, 3 und 2 werden benutzt, um die
OFF
ON Leitung 1 RS485
Kommunikationsgeschwindigkeit der Einrichtung
Empfang, Leitung 2
gemäß der nachstehenden Tabelle vorzugeben.
RS485 Wiederholung
EINSTELLUNG DER BAUD RATE DIP 2
ON
OFF
Leitung RS422 bidi-
rektional
DE - Deutsch - Bedienungslanleitung
OFF OFF
Leitung RS485 monodi-
rektional
Tab. 6
Beschreibung
SW 1
SW 2
SW 3
SW 4
SW 5-6-7-8
Konguration
Auswahl
ON ON ON 38400 baud
Baudrate
OFF
ON ON 19200 baud
ON
OFF
ON 9600 baud
OFF OFF
ON 4800 baud
ON ON
OFF
2400 baud
OFF
ON
OFF
1200 baud
ON
OFF OFF
600 baud
OFF
OFF
OFF
300 baud
Visualisierung
ON Visualisierung
Konguratio-
aktiviert
nen
OFF
Visualisierung
deaktiviert
Tab. 5
26

6.1.15.1 Leitung RS485 TX/RX bidirektional
6.1.15.3 Leitung RS422 bidirektional
Diese Art von Einstellung gestattet eine beidseitig
Diese Einstellung gestattet die Full-Duplex-
gerichtete Half-Duplex-Übertragung auf der Leitung
Kommunikation nach dem Standard RS422.
RS485-1.
La ligne RS485-1 est toujours en réception (RS422-
Die serielle Leitung RS485-2 ist nicht benutzt.
RX).
La ligne RS485-2 est toujours en transmission (RS422-
TX).
Bedienungslanleitung - Deutsch - DE
Bedientastatur
RS485-1
TX/RX
Bedientastatur
RS485-1 RS485-2
Abb. 38
6.1.15.2 Leitung 1 RS485 Empfang, Leitung 2
RS485 Wiederholung
Abb. 40
Bei dieser Einstellung können mehrere Einrichtungen
6.1.15.4 Leitung RS485 monodirektional
kaskadiert angeschlossen werden. Das Signal wird
Die erste Leitung (RS485-1) arbeitet mit den
von jeder Einheit regeneriert und ist dadurch über
Einstellungen, die mit Hilfe der Dipschalter Adresse,
eine erheblich größere Distanz übertragbar.
Baudrate und Protokoll vorgegeben werden.
Dies funktioniert nur mit einseitig
Die Leitung RS485-2 wird nicht benutzt.
gerichteten Protokollen.
Dies funktioniert nur mit einseitig
In dieser Konguration lässt sich das
gerichteten Protokollen.
Update der Firmware nicht von fern
vornehmen.
In dieser Konguration lässt sich das
Update der Firmware nicht von fern
vornehmen.
Bedientastatur
RS485-1RS485-1 RS485-2
Bedientastatur
RS485-1
Abb. 39
Abb. 41
27

6.1.16 Das Abschließen serieller
Die zur Baureihe gehörenden Positionierungssysteme
für die Videoüberwachung entsprechen den
Leitungen und Verbindungen
Vorschriften, die zum Zeitpunkt der Veröentlichung
Zur Festlegung des Abschließens serieller
dieses Handbuches Gültigkeit besaßen.
Leitungen auf DIP 2 eingreifen.
EINSTELLUNG DES PROTOKOLLS DIP 1
Auf der Karte sitzen zwei Dipschalter, die benutzt
SW 1 SW 2 SW 3 SW 4 Protokoll
werden, um die Abschlussbeschaltung der seriellen
Leitung zu kongurieren.
ON OFF ON OFF PANASONIC
OFF OFF ON OFF ERNITEC
Jede Peripherieeinheit, die am Leitungsende hängt,
muss mit dem zugehörigen Dipschalter mit einem
OFF ON OFF OFF SENSORMATIC
Abschlusswiderstand beschaltet werden, um zu
ON OFF OFF OFF PELCO D
vermeiden, dass entlang der Leitung Reexionen und
OFF OFF OFF OFF MACRO (VIDEOTEC)
Deformationen auftreten.
Tab. 8
Die Dipschalter 17 und 8 beschalten die seriellen
Leitungen RS485-1 und RS485-2 jeweils mit einem
6.1.18 Einstellung der Adresse
Abschlusswiderstand.
Zur Festlegung der Adresse auf DIP 3, 4 und 5
ABSCHLUSS SERIELLE LINIEN DIP 2 UND
eingreifen.
ANSCHLÜSSE
8
O
N
6
7
1
1
2
3
4
3
4 5
5
1
2
2
0
6
0
A
3
9
8
7
4
5
P
I
U
3
D
2
3
4
1
5
U
2
0
DE - Deutsch - Bedienungslanleitung
U
1
9
8
7
6
4
I
P
D
2
3
4
1
Beschreibung
SW 1-2-3-4-5-6
SW 7
SW 8
Konguration
5
0
6
9
3
8
7
Abschluss
ON Abschluss RS485-2 aktiviert
P
I
D
serielle Linien
OFF
Abschluss RS485-2
deaktiviert
ON Abschluss RS485-1 aktiviert
Abb. 43
OFF
Abschluss RS485-1
Beispiel für die Einstellung der Adressen:
deaktiviert
Nummer Einheit 431, Dip-Switch 3 = 4, Dip-Switch 4
Tab. 7
= 3, Dip-Switch 5 = 1.
6.1.17 Einstellung des Protokolls
Dip-Switch 3 Einstellung Hundertstel, Dip-switch 4
Einstellung Zehntel, Dip-switch 5 Einstellung Einer.
Zur Festlegung des Protokolls auf DIP 1
eingreifen.
Nach der Einstellung der Parameter, schließt man die
Karte am Verbinder J4 Anschlusskarte an.
DIP 1
N
7
8
O
6
1
1
2
3
4
2
3
4 5
5
1
2
0
0
A
6
3
9
8
7
4
5
P
I
U
3
D
2
3
4
1
2
5
U
0
U
1
9
8
7
6
4
I
P
D
2
3
4
1
5
0
6
9
8
7
3
P
I
D
Abb. 42
Abb. 44
28

