Videotec MAXIMUS WASEX – page 3
Manual for Videotec MAXIMUS WASEX

Die Wahl der Kabelschelle ist nach den Vorgaben der
4 Identifizierung
Norm EN/IEC 60079-14 zu treen.
Diese Kabelschellen stellen die Schutzart IP66 sicher.
4.1 Beschreibung und
Bezeichnung des Produktes
Empfohlen wird die Verwendung von
Kabelschellen der Firma VIDEOTEC oder
Die Scheibenwasch-Pumpe WASEX hat ein
gleichwertigen Produkten (Tab. 2, Seite11).
Außengehäuse aus Edelstahl AISI 316L, das eine
optimale Korrosionsbeständigkeit sowohl im
4.2 Kennzeichnung des Produkts
Industriebereich als auch in Meeresnähe garantiert.
Die Markierung der Scheibenwischerpumpe wird
Das System garantiert eine vollständige Reinigung
von der Markierung des Magnetventils bestimmt.
der Glasscheiben an MAXIMUS Vorrichtungen.
Bedienungslanleitung - Deutsch - DE
Das Kennzeichnungsschild ist direkt auf dem
Die Gelenkdüse der Pumpe kann verstellt werden,
Magnetventil angebracht.
um einem Preset, in der gewünschten Position,
die Funktionen Scheibenwischer und Spritzen
zuzuordnen.
Die Pumpe wird durch ein explosionssicheres
Solenoidventil betätigt, das den Durchuss der
Flüssigkeit freigibt und über die Telemetrie des
Schwenk-Neige-Kopfes MAXIMUS oder über einen
manuellen Schaltkontakt gesteuert wird.
Abb. 3
Der Tank hat ein Fassungsvermögen von 10 Liter und
Die Seriennummer des Produktes wird auf dem Etiktt,
kann mittels einer eingebauten Handpumpe oder
wie in Abbildung dargestellt, positioniert
mittels anderer Vorrichtungen je nach Bedarf des
Anwenders befüllt werden.
Das System ist für 24 V AC/DC erhältlich.
Das Magnetventil (01) besitzt eine Önung für
Kabelschelle 1/2" NPT (02).
01
02
Abb. 2
Abb. 4
3

5 Vorbereitung des
5.2 Entfernen der Verpackung
und Inhalt
Produktes auf den
5.2.1 Entfernen der Verpackung
Gebrauch
Bei der Lieferung des Produktes ist zu prüfen, ob die
Jede vom Hersteller nicht ausdrücklich
Verpackung intakt ist oder oensichtliche Anzeichen
genehmigte Veränderung führt zum Verfall
von Stürzen oder Abrieb aufweist.
der Gewährleistungsrechte.
Bei oensichtlichen Schadensspuren an der
Verpackung muss umgehend der Lieferant
Für die Verbringung muss das
verständigt werden.
eingesetzte Personal keine besonderen
Bewahren Sie die Verpackung auf für den Fall, dass
Voraussetzungen erfüllen. Es wird deshalb
das Produkt zur Reparatur eingesendet werden muss.
empfohlen, bei diesem Vorgang die
üblichen Unfallverhütungsvorschriften zu
Um den Deckel zu önen, die 2 seitlichen
beachten.
Schrauben abdrehen.
5.1 Sicherheitsvorkehrungen vor
dem Gebrauch
Die angegebenen Leistungsmerkmale
dürfen nicht überschritten werden.
Alle Anschlüsse müssen in nicht
DE - Deutsch - Bedienungslanleitung
explosionsgefährdeter Atmosphäre
vorgenommen werden.
Unterbrechen Sie die Stromversorgung,
Abb. 5
bevor die beschriebenen Arbeiten
durchgeführt werden.
5.2.2 Inhalt
Prüfen Sie, ob der Inhalt mit der nachstehenden
Die elektrische Anlage, an die die Einheit
Materialliste übereinstimmt:
angeschlossen ist, muss mit einem
bipolaren Schutzschalter versehen
• Wischer- Kit
werden.. Zwischen den Kontakten muss
• Halterung für Scheibenwascherrohr
mindestens ein Abstand von 3mm
• Spannbügel für Scheibenwascherrohr
vorhanden sein. Der Schalter muss eine
Schutzeinrichtung gegen Erde Fehlerstrom
• Schrauben und Scheiben
(Dierenzial) und gegen Überstrom haben
• Scheibenwascherrohr (mit Düse)
(magnetothermisch, bis zu 15A).
• Rohranschluss
• Edelstahlschellen
Zusammenbau und Installation sind
qualizierten Fachleuten vorbehalten.
• Förderungsrohr
• Gummidichtungsringe
Die Anschlüsse und Labortests sind
• Bedienungslanleitung
durchzuführen, bevor vor Ort zu
Installation geschritten wird. Dazu
• Betriebs- und Installationshanf buch des
entsprechende Werkzeuge verwenden.
Magnetventils
4

5.3 Sichere Entsorgung der
5.4.2 Montage der Dichtungsringe
(Sonderausstattung)
Verpackungsmaterialien
Während der Montage muss Acht gegeben
Die Verpackungsmaterialien sind vollständig
werden, den Gummi nicht zu beschädigen,
wiederverwertbar. Es ist Sache des
um nicht die Impermeabelität zu
Installationstechnikers, sie getrennt, auf jeden
gefährden.
Fall aber nach den geltenden Vorschriften des
Anwendungslandes zu entsorgen.
Den Dichtungsring am Loch positionieren. Den
Im Falle der Rückgabe des nicht korrekt
Dichtungsring von außen mit einer Zange oder
funktionierenden Produktes empehlt sich die
einem ähnlichen Werkzeug ergreifen und durch das
Verwendung der Originalverpackung für den
Loch hindurchziehen (Fig. 2), bis der kegelförmige
Bedienungslanleitung - Deutsch - DE
Transport.
Teil vollständig ausgetreten ist, der vollständig an der
Kabelführungsönung anliegen muß (Fig. 3). Es durch
5.4 Auf die Installation
das Lochziehen, bis der kegelförmige Teil vollständig
heraus ist. Der Dichtungsring in der Endstellung muss
vorbereitende Tätigkeiten
sich vollständig an des Durchgangsloch anpassen.
5.4.1 Durchbohrung des Kastens
(Sonderausstattung)
Das Produkt wird mit 2 Löchern mit Dichtungsringen
für den Durchgang des Versorgungskabels des
Magnetventils und der Druckleitung geliefert. Für
die Montage weiterer, alternativer Dichtungsringe
können andere Löcher am Boden und an der linken
Seite geönet werden.
Abb. 7
Gebrauchsbeschränkungen des Durchmessers der
Kabelführungsönung und des Durchmessers der
verwendeten Kabel.
NUTZUNGSGRENZEN DES
DURCHGANGSLOCHDURCHMESSERS UND DES
DURCHMESSERS DER BENUTZTEN KABEL
Gummi-
Ø
Grenzwerte Ø
dichtungsring
Führungsönung
Kabel (mm)
(mm)
M16 16.5 5-9
M20 20.5 8-12
Tab. 1
Abb. 6
5

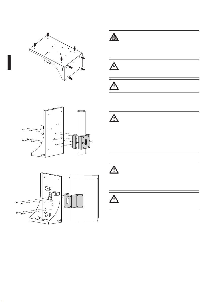
5.4.3 Anbringung auf den Halterungen
6 Zusammenbau und
Der Kasten kann direkt an der Wand oder am Boden
Installation
über die vorhandenen Löcher befestigt werden.
Die angegebenen Leistungsmerkmale
dürfen nicht überschritten werden.
Alle Anschlüsse müssen in nicht
explosionsgefährdeter Atmosphäre
vorgenommen werden.
Unterbrechen Sie die Stromversorgung,
bevor die beschriebenen Arbeiten
durchgeführt werden.
Zusammenbau und Installation sind
Abb. 8
qualizierten Fachleuten vorbehalten.
Der Kasten kann auch auf dem Mastschelleadapter
oder auf dem Winkeladapter montiert werden.
6.1 Installation
6.1.1 Installation des Pumpenbehälters
Im Betrieb bei Temperaturen unter 3°C,
geben Sie dem Wasser etwas Frostschutz.
DE - Deutsch - Bedienungslanleitung
Die benutzte Flüssigkeit muss eine
Einschalttemperatur (IEC 60079-4) von
mindestens 50K über der Höchsttemperatur
der Geräteoberäche besitzen. Die
verwendete Flüssigkeit darf keine
Einschaltung der Atmosphäre verursachen.
6.1.2 Anschluss der Stromversorgung
Abb. 9 WASEX+NXCOL.
Im Zuge der Installation ist zu prüfen,
ob die Merkmale der von der Anlage
bereitgestellten Versorgung mit den
erforderlichen Merkmalen der Einrichtung
übereinstimmen.
Es ist zu prüfen, ob die Versorgungsquellen
und die Anschlusskabel für den
Systemverbrauch ausgelegt sind.
6.1.2.1 Magnetventilanschluss
Magnetventil anschließen. Für weitere Informationen
siehe Bedienungs- und Installationshandbuch des
Abb. 10 WASEX+NXCW.
Produktes.
6

6.1.2.2 Schwenkanschluss
6.1.3 Installation der Pumpe
Die elektrischen Anschlüsse zwischen
Bei den Installations- oder
Elektroventil und Schwenkung müssen
Wartungsarbeiten der Pumpe kann der
in der Explosionsschutz-Anschlussdose
Tank in Position gelassen oder entfernt
untergebracht sein. Die Explosionsschutz-
werden. Um den Tank (01) zu entfernen,
Anschlussdose, muss, gemäß der
die Metallschellen (02) betätigen und die
geltenden Normen, der Klassikation der
Anschlussleitung (03) aushaken.
explosiven Atmosphäre im Installationsort
Das Sicherheitsventil (04) abdrehen und das Gehäuse
entsprechen.
(05) anheben.
Im Fall eines Anschlusses an die Schwenkvorrichtung,
Bedienungslanleitung - Deutsch - DE
wird das interne Relais RL2 (J3) benutzt.
04
ADDRESS & PROTOCOL
J4
F
U
S
E
J8
J3
FUS2
VIDEO - 1
J2
RL2
RL2
J9
J6
J3
FUS2
RL1
A
J8
RL1
B
COM
J2
AL5
A
RS485
AL4
B
VIDEO - 2
RL2
05
AL3
GND
AL2
W
J7
RL2
AL1
GND
FUS1
VAR1
AC
IN
J1
RL1
F
U
S
E
L
N
RL1
VAR2
VAR3
100nMBW3
COM
Abb. 11
03
Um die Versorgungs des Magnetventils
einzuschalten, ist sich an den Anschlussplan zu
halten. (Abb. 12, Seite7).
02
Das in der Schwenkvorrichtung enthaltene
Relais RL2 ist für eine Spannung
01
bis 30Vac ausgelegt. Ausschließlich
Magnetventilmodelle mit einer Spannung
von 24Vac verwenden, die über den
Sicherheitstransformator gespeist
werden. Einen der Versorgungspole des
Abb. 13
Magnetventils mit Hilfe des Relais RL2 in
der Schwenkvorrichtung unterbrechen.
Versorgung 24Vac über
Sicherheitstransformator
RL2 RL2
SolenoidventilExplosionssichere An-
schlussdose
Abb. 12
7

Eventuellen Restdruck des Tanks entfernen, indem
Die Druckleitung (01) anschließen, sie dabei durch
das Sicherheitsventil betätigt wird.
den Dichtungsring (02) führen.
01
02
Abb. 14
Den oberen Körper der Pumpe (01) in
Gegenuhrzeigersinn abdrehen und herausnehmen.
Auüllen des Tanks (02) (maximal 10l). Den oberen
Körper der Pumpe wieder einsetzen.
Abb. 17
Das Gehäuse einsetzen und die Sicherheitsschraube
anziehen.
01
DE - Deutsch - Bedienungslanleitung
02
Abb. 18
Abb. 15
6.1.4 Installation der
Den Tank unter Druck setzen, indem mit dem oberen
Körper der Pumpe gepumpt wird, bis der Druck von
Scheibenwascheinheit (S-N-Kopf)
3,5 bar erreicht ist. Den Gri des Pumpenkörpers in
Den Bügel (01) mit den beiliegenden Metallschellen
Sicherheitsstellung bringen.
(02) an den Schwenkkörper befestigen.
02
01
Abb. 19
Abb. 16
8

Ggf. Rohr der Scheibenwascheinheit (01) kürzen.
6.1.4.1 Montagebeispiel
Mutter (02) aufschrauben und entlang des Rohres
gleiten lassen. Rohrende in den Dichtkegel (03)
stecken.
03
02
01
Bedienungslanleitung - Deutsch - DE
Abb. 20
Die Mutter auf dem Anschlußstück festschrauben.
Abb. 24
Abb. 21
Die Leitung mit dem Bügel (01), den Schrauben (02)
und den Unterlegscheiben (03), alles im Lieferumfang
enthalten, an der Stütze der Scheibenwaschanlage
xieren. Druckrohr anschließen (04).
01
03
02
04
Abb. 25
Abb. 22
Zur Kalibrierung des Strahls die Düse auf die
Gehäusescheibe richten.
Abb. 23
Abb. 26 Rohr mittels Unterlegplättchen an der Wand befesti-
Zur Einschaltung der Waschanlage das Handbuch des
gen.
Schwenk-Neige-Kopfes einsehen.
9

7.1.2 Außerordentlich (nur bei
7 Wartung und Reinigung
besonderen Anlässen fällig)
Bevor man technische Eingrie am
Auswechselung Magnetventil.
Gerät vornimmt muss sichergestellt
werden, dass die Zone nicht potenziell
explosionsgefährdet ist.
Vor technischen Eingrien am Gerät
muss die Stromversorgung unterbrochen
werden.
Abb. 27
7.1 Wartung
Alle angeführten Einzelteile dürfen
Die Wartung darf nur von Fachleuten
ausschließlich mit Original-Ersatzteilen von
vorgenommen werden, die befähigt sind,
VIDEOTEC ersetzt werden.
an elektrischen Schaltkreisen tätig zu
werden.
Der Hersteller lehnt jede Haftung für
Schäden ab, die durch eigenmächtigen
7.1.1 Ordentlich (regelmäßig fällig)
Zugri, die Verwendung nicht originaler
7.1.1.1 Auüllen des Tanks
Ersatzteile sowie die Installation, Wartung
Für das Auüllen des Tanks sich auf den
oder Reparatur sämtlicher in diesem
Installationsvorgang der Pumpe beziehen (6.1.3
Handbuch genannter Geräte durch nicht
DE - Deutsch - Bedienungslanleitung
Installation der Pumpe, Seite7).
fachkundige Personen entstehen.
7.1.1.2 Reinigung des Gerätes
7.1.3 Ersatzteile
Sie muss in regelmäßigen Zeitabständen
Um die Ersatzteile bestellen zu können,
vorgenommen werden. Auf der Oberäche innerhalb
ist die Seriennummer des Produktes
des Gehäuses darf sich unter keinen Umständen
mitzuteilen, an dem der Eingri
eine mehr als 5mm dicke Staubschicht ablagern.
vorgenommen wird.
Die Reinigung muss mit einem feuchten Tuch ohne
Zuhilfenahme von Druckluft vorgenommen werden.
Die Häugkeit der Wartungstermine hängt von der
8 Müllentsorgungsstellen
Umgebung ab, in der die Einheit verwendet wird.
Dieses Symbol und das entsprechende
7.1.1.3 Überprüfung der Kabel
Recycling-System gelten nur für EULänder
Die Kabel dürfen keine gefahrenträchtigen
und nden in den anderen Ländern der
Verschleiß- oder Alterungsspuren zeigen. In diesem
Welt keine Anwendung.
Fall ist eine äußerordentliche Wartung fällig.
Ihr Produkt wurde entworfen und hergestellt
mit qualitativ hochwertigen Materialien und
Komponenten, die recycelt und wiederverwendet
werden können.
Dieses Symbol bedeutet, daß elektrische und
elektronische Geräte am Ende ihrer Nutzungsdauer
von Hausmüll getrennt entsorgt werden sollen.
Bitte entsorgen Sie dieses Gerät bei Ihrer örtlichen
Sammelstelle oder im Recycling Centre.
In der Europäischen Union gibt es unterschiedliche
Sammelsysteme für Elektrik- und Elektronikgeräte.
10

9 Technische Daten
9.1 Allgemeines
Aussenbehälter aus rostfreiem Stahl AISI 316L
Externe Oberächen passiviert und elektropoliert
Wassertank- Kapazität: 10l
Material des Rohrs: Antistatischer Kunststo
9.2 Mechanik
Bedienungslanleitung - Deutsch - DE
Druck: 4Bar
Förderhöhe: 20m
Abmessungen (WxHxL): 429x697x255mm
Einheitsgewicht: 18kg
9.3 Elektrik
Netzteil: 24Vac/dc, 50/60Hz
Verbrauch: 20W max
9.4 Umgebung
Innen/Äußere Installationen
Betriebstemperatur: -40°C bis +60°C
IP66 (Bezug ausschließlich auf dem Solenoidventil)
9.5 Zertizierungen
Solenoidventil:
ATEX (EN 60079-0: 2009, EN 60079-1: 2007, EN 60079-31: 2009)
-
b
II 2 GD Exd IIC T4 Gb
Ex tb IIIC T130°C Db
GOST-R
- 1 Exd IIC T4
9.6 Kabelschellen
AUSWAHLSCHEMA 1/2" NPTKABELSCHELLEN
Zona, Gas Kabelschelle
Zertizierung Betriebstem-
Kabel Kabelschelle-
Kabel- Extern-
Typ
peratur
Part Code
durchmesser
(mm)
IIC, Zone 1 oder
Barriere IECEX/ATEX/
-60 / +100°C Nicht armiert OCTEXB1/2C 3 - 8
Zone 2
GOST
IIB oder IIA,
Zone 1
IIB oder IIA,
Mit Gummi-
IECEX/ATEX/
-60 / +100°C Nicht armiert OCTEX1/2C 3 - 8
Zona 2
dichtung
GOST
Nicht armiert OCTEXS1/2C 7.5 - 11.9
Tab. 2
11

10 Technische Zeichnungen
Die Abmessungen der Zeichnungen sind in Millimeter angegeben.
280
WASEX+NXCOL WASEX+NXCW
MNVKWASEX_1245_DE
210
697
662
40
30
255300
429
500
Ø 11
32
Ø 11
Abb. 28 WASEX.
Headquarters Italy Videotec S.p.A.
Via Friuli, 6 - I-36015 - Schio (VI) Italy
Tel. +39 0445 697411 - Fax +39 0445 697414
Email: info@videotec.com
www.videotec.com

РУССКИЙ
WASEX
MAXIMUS
1 Информация о
3 Правила безопасности
настоящем руководстве
-
Перед монтажом и использованием настоящего
,
блока, внимательно прочитать настоящее
руководство. Хранить данное руководство под
.
рукой для будущих консультаций.
Руководство по эксплуатации - Русский - RU
1.1
.
,
!
,
.
,
,
.
-
,
!
.
.
,
. ,
.
,
,
,
,
.
.
!
.
.
.
. 1
• Прочесть инструкции.
.
• Хранить инструкции.
.
• Соблюдать все меры предосторожности.
• Соблюдать все инструкции.
2 Примечания по
• Проверить, что устройства подходят для
применения и окружающей среды, для которой
авторскому праву и
они разработаны.
торговым маркам
• Проверить, что подключенные устройства
полностью совместимы и подходят для
Упомянутые название компаний и продукции
применения.
являются торговыми марками или
• Проверить, что параметры рабочей
зарегистрированными торговыми марками,
температуры совместимы с устройствами.
принадлежащими соответствующим компаниям.
1

• Проверить,что устройства установлены так,
• Прибор считается отключенным только когда
чтобы обеспечить безопасность установки и
питание отключено и соединительные кабели с
уполномоченного персонала, выполняющего
другими устройствами были отключены.
монтажные работы.
• Перед подключением устройства, установить в
• Выбрать места установки таким образом,
здании защитное устройство электросистемы.
чтобы оно было достаточно устойчивым к
• За технической поддержкой обращаться только
весу устройства с учётом особых условий
с уполномоченному техническому персоналу.
окружающей среды, например, сильный ветер.
• Бережно хранить руководство. Чтобы
• Рекомендуется использовать только скобы и
обратиться к нему в любой момент, руководство
комплектующие, одобренные для установки.
должно храниться в непосредственной
• Проверить, что устройство закреплено прочно
близости от места установки.
и надёжно.
• Ни в коем случае не вносить изменений и не
• Учитывая, что монтажная поверхность
выполнять подключений, не предусмотренных
подготавливается пользователем, в комплект
данным руководством: использование
не входят болты для надёжного крепления
оборудования не по назначению, может
устройства к поверхности. Применение
привести к серьёзным рискам и опасно, как для
подходящих болтов для определённой цели
персонала, так и для системы.
входит в ответственность клиента.
• Использовать только запчасти производства
• Следует использовать только кронштейны или
VIDEOTEC.
принадлежности, рекомендуемые для монтажа.
• Перед монтажом проверить, что поставляемый
• Убедиться, что установка удовлетворяет
материал соответствует требуемым техническим
местным требованиям.
спецификация, проверив этикетки маркировки (
4.2 Маркировка изделия, страница 3).
• Не использовать кабели питания со следами
повреждений или старения.
• Прибор может быть вскрыт только
квалифицированным техническим персоналом
и не во взрывоопасной атмосфере. Вскрытие
RU - Русский - Руководство по эксплуатации
прибора приводит к отмене гарантии.
2

Выбор кабельного зажима выполняется согласно
4 Идентификация
стандарту EN/IEC 60079-14.
Настоящие кабельных зажимы в состоянии
4.1
обеспечить степень защиты IP66.
Насос омывателя стекла WASEX состоит
VIDEOTEC
из внешнего корпуса, выполненного из
(. 2, 11).
нержавеющей стали AISI 316L, обеспечивающую
высокую устойчивость к коррозии, как в
4.2
промышленной, так и в морской среде.
Маркировка насоса омывателя стекла
Система обеспечивает полную очистку стекол на
определяется маркировкой электроклапана.
устройствах MAXIMUS.
Маркировочная табличка расположена на самом
Подвижное сопло насоса может быть
электроклапане.
отрегулировано, чтобы в выбранной позиции
Руководство по эксплуатации - Русский - RU
присвоить уставке функции стеклоочистителя и
подачи струи.
Насос управляется взрывобезопасным
электроклапаном, который обеспечивает
перемещение жидкости и управляется с помощью
телеизмерения с наводкой MAXIMUS или с
помощью ручного электрического контакта.
. 3
Объём бака - 10 литров и заправку можно
Серийный номер изделия указан на этикетке,
выполнить встроенным ручным насосом или с
расположенной, как показано на рисунке.
помощью других устройств, в зависимости от
условий клиента.
Система выполняется в варианте 24В пер. т./пост. т.
Электроклапан (01) представляет собой отверстие
для кабельной муфты 1/2" NPT (02).
01
02
. 2
. 4
3

5 Подготовка изделия к
5.2
использованию
5.2.1
При поставке изделия убедитесь в том, что
,
упаковка не повреждена и не имеет явных
,
признаков падений или царапин.
.
В случае видимых повреждений упаковки
немедленно свяжитесь с поставщиком.
Храните упаковку на случай, если необходимо
, ,
отправка изделия для ремонта.
2
.
.
5.1
.
.
,
. 5
5.2.2
.
Убедитесь в том, что содержимое будет
RU - Русский - Руководство по эксплуатации
,
соответствовать списку материалов,
,
приведённому ниже:
.
• Комплект омывателя стекла
• Опора трубы омывателя стекла
3.
• Блокирующий кронштейн трубы омывателя
стекла
() (
• Винты и шайбы
, 15A).
• Труба омывателя стекла (в комплекте с соплом)
• Фитинг для трубы
• Нержавеющие хомутики
• Впускная труба
.
• Уплотнительные кольца
• Учебник инструкции
,
• Руководство по эксплуатации и установке
.
электроклапана
.
4

5.3
5.4.2
()
Материалы упаковки полностью состоят из
рекуперируемого материала. Техник по установке
.
должен переработать их в отходы в соответствии
с порядком дифференцированного сбора или,
Установить у отверстия уплотнительное кольцо.
в любом случае, в соответствии действующими
С помощью щипцов или другого подобного
правилами в стране использования.
инструмента снаружи захватить уплотнительное
кольцо. Вытягивайте его, давая пройти через
В случае возврата некачественной продукции,
отверстие вплоть до полного выхода конической
рекомендуем использовать первоначальную
части. Уплотнительное кольцо в конечном
оригинальную упаковку для транспортировки.
положении должно полностью прилегать к
Руководство по эксплуатации - Русский - RU
отверстию прохождения.
5.4
5.4.1
()
Изделие поставляется с 2-мя отверстиями с
уплотнительными кольцами для прохождения
кабеля питания электроклапана и впускной
трубы. В качестве альтернативы для монтажа
дополнительных уплотнительных колец могут
. 7
быть использованы другие отверстия на дне и
Ограничения использования диаметра отверстия
слева.
прохождения используемых кабелей
Ø
Ø
()
()
M16 16.5 5-9
M20 20.5 8-12
. 1
. 6
5

5.4.3
6 Сборка и установка
Коробка может быть закреплена непосредственно
к стене или к полу, используя имеющиеся
отверстия.
.
.
,
.
.
. 8
Коробка может быть установлена с помощью
6.1
хомута для столба или углового адаптера.
6.1.1
3°C, .
(IEC 60079-4), , 50
.
RU - Русский - Руководство по эксплуатации
.
6.1.2
. 9 WASEX+NXCOL.
,
,
.
,
.
6.1.2.1
Подсоедините электроклапан. Для получения
. 10 WASEX+NXCW.
дополнительной информации смотреть
руководство по эксплуатации и установки
изделия.
6

6.1.2.2
6.1.3
.
. (01)
(02)
(03).
Отвинтите винт безопасности (04) и приподнимите
картер (05).
.
04
В случае соединения с наводкой используется
внутреннее реле RL2 (J3).
Руководство по эксплуатации - Русский - RU
ADDRESS & PROTOCOL
J4
F
U
S
E
J8
J3
FUS2
VIDEO - 1
J2
05
RL2
RL2
J9
FUS2
RL1
A
J6
J8
J3
RL1
B
COM
J2
AL5
A
RS485
B
VIDEO - 2
RL2
AL4
AL3
GND
AL2
W
J7
RL2
AL1
GND
FUS1
VAR1
AC
IN
J1
RL1
F
U
S
E
L
N
RL1
VAR2
VAR3
100nMBW3
COM
03
. 11
Для активации питания электроклапана
02
ссылайтесь на схему подключений (Рис. 12,
страница7).
01
RL2, ,
30
..
24 .
. 13
.
RL2,
.
Питание 24Вac
переменного
тока посредством
предохранительного
трансформатора
RL2 RL2
ЭлектроклапанВзрывобезопасный
соединительный короб
. 12
7

Удалите остаточные давления бака, повернув на
Подсоедините впускную трубу (01), давая ей
предохранительный клапан.
пройти через уплотнительное кольцо (02).
01
02
. 14
Отвинтите верхний корпус насоса (01) против
часовой стрелки и выньте его. Заполните бак
(02) (максимально 10л). Вставьте заново верхний
корпус насоса.
. 17
Вставьте картер и завинтите винт безопасности.
01
02
RU - Русский - Руководство по эксплуатации
. 18
. 15
6.1.4
Установка давления в баке при накачивании
()
верхнего корпуса насоса до достижения давления
Прикрепите кронштейн (01) к корпусу наводки
3,5Бар. Поверните ручку корпуса насоса в
посредством специального металлического
безопасное положение.
хомутика (02) в комплекте.
02
01
. 19
. 16
8

При необходимости, укоротить трубку омывателя
6.1.4.1
стекла (01). Отвинтить гайку (02) и провести
трубку. Провести конец трубки в конус (03).
03
02
01
. 20
Затяните гайку фитинга.
Руководство по эксплуатации - Русский - RU
. 24
. 21
Закрепите трубу к стойке омывателя стекла
посредством кронштейна (01), винтов (02) и шайб
(03) в комплекте. Подсоединение впускной трубы
(04).
01
03
02
04
. 22
. 25
Для калибровки струи направьте сопло в сторону
стекла кожуха.
. 23
Для приведение в действие системы мойки
. 26 Трубка закреплена к стене с помощью пластины.
ссылайтесь на руководство по эксплуатации
наводки.
9

7.1.2
7 Техобслуживание и
(
очистка
)
Замена электроклапана.
, ,
.
,
.
. 27
7.1
VIDEOTEC.
.
-
7.1.1 (
,
)
,
7.1.1.1
, /
Для наполнения бака ссылайтесь на процедуру
,
установки насоса (6.1.3 Установка насоса,
,
страница7).
,
.
7.1.1.2
Выполняется периодически для того. Чтобы
7.1.3
RU - Русский - Руководство по эксплуатации
избежать скопления пыли на наружной
поверхности свыше 5мм. очистка выполняется
при помощи влажной ткани, без использования
,
сжатого воздуха. Частота операций
,
техобслуживания зависит от типа окружающей
.
среды, в которой используется продукт.
7.1.1.3
8 Вывоз в отходы
Они не должны иметь следов износа или порчи,
ведущих к возникновению опасных ситуаций. В
этом случае необходимо выполнить внеплановое
техобслуживание.
.
Ваше изделие были изготовлено из материалов
и компонентов высокого качества, могущих
быть повторно использованными или
утилизированными.
Электрические и электронные материалы, на
которых имеется указанный символ, в конце
срока службы должны выбрасываться отдельно от
бытовых отходов.
Просим вывезти это устройство в Центр сбора или
на экологическую станцию.
В Европейском Сообществе существуют системы
дифференцированного сбора мусора для
электронных и электрических изделий.
10

